Posts

Patent Analysis

U.S. Patent No. 10,729,356: Foot-mounted sensor systems for tracking body movement

U.S. Patent No. 10,729,356: Foot-mounted sensor systems for tracking body movement Issued August 22, 2020, to Reflx Labs Inc.Filed: May 3, 2019 (claiming priority to December 17, 2012) Overview: U.S. Patent No.…

10729356 feet foot foot sensor
Patent Analysis

U.S. Patent No. 10,987,595: Game publisher and broadcaster integration platform

U.S. Patent No. 10,987,595: Game publisher and broadcaster integration platform Issued April 27, 2021, to Amazon Technologies Inc.Filed/Priority to March 31, 2016 Overview: U.S. Patent No. 10,987,595 (the ‘595 patent) relates to…

10987595 Amazon Amazon Technologies Inc. content availability
Patent Analysis

U.S. Patent No. 10,818,142: Creation of winner tournaments with fandom influence

U.S. Patent No. 10,818,142: Creation of winner tournaments with fandom influence Issued October 27, 2020, to Sony Interactive Entertainment LLCFiled/Priority to February 28, 2018 Overview: U.S. Patent No. 10,818,142 (the ‘142 patent)…

10818142 Creation of winner tournaments with fandom influence esport tournament eSports
Patent Analysis

U.S. Patent No. 10,963,132: Digital jukebox device with improved karaoke-related user interfaces, and associated methods

U.S. Patent No. 10,963,132: Digital jukebox device with improved karaoke-related user interfaces, and associated methods Issued March 30, 2021, to TouchTunes Music Corp. Filed: September 17, 2020 (claiming priority to March 18,…

10963132 and associated methods Digital jukebox device with improved karaoke-related user interfaces Jukebox
Patent Analysis

U.S. Patent No. 11,023,095: Providing a first person view in a virtual world using a lens

U.S. Patent No. 11,023,095: Providing a first person view in a virtual world using a lens Issued June 1, 2021, to Cinemoi North America LLCFiled/Priority to July 12, 2019 Overview: U.S. Patent…

11023095 avatar Cinemoi Cinemoi North America LLC
Patent Analysis

U.S. Patent No. 10,891,125: Videogame patch data compilation system

U.S. Patent No. 10,891,125: Videogame patch data compilation system Issued January 12, 2021, to Electronic Arts Inc.Filing/Priority to March 28, 2019 Overview: U.S. Patent No. 10,891,125 (the ‘125 patent) relates to a…

10891125 EA easy updating Electronic Arts
Patent Analysis

U.S. Patent No. 10,864,434: Simulation of multiple connected bodies for real-time application

U.S. Patent No. 10,864,434: Simulation of multiple connected bodies for real-time application Issued December 15, 2020, to Square Enix LtdFiled/Priority to February 27, 2018 Overview: U.S. Patent No. 10,864,434 (the ‘434 patent)…

10864434 cord cord movement group movement
Patent Analysis

U.S. Patent No. 10,546,406: User Generated Character Animation

U.S. Patent No. 10,546,406: User Generated Character Animation Issued January 28, 2020, to Activision Publishing Inc.Filed/Priority to May 9, 2016 Overview: U.S. Patent No. 10,546,406 (the ‘406 patent) relates to using player-made…

10546406 activision Activision Publishing Activision Publishing Inc
Patent Analysis

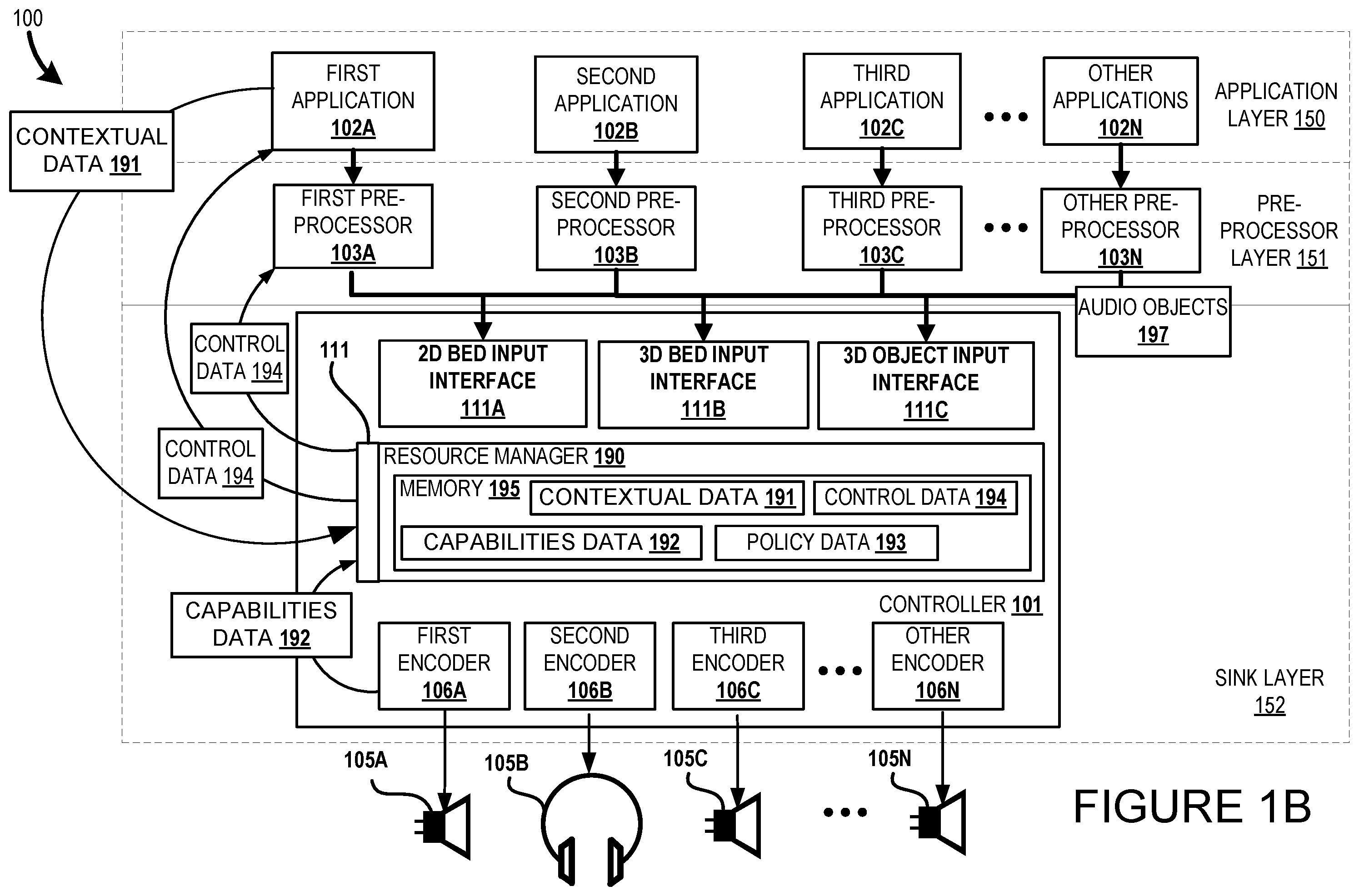
U.S. Patent No. 10,714,111: Enhanced adaptive audio rendering techniques

U.S. Patent No. 10,714,111: Enhanced adaptive audio rendering techniques Issued July 14, 2020, to Microsoft Technology Licensing LLCFiled: January 16, 2019 (claiming priority to March 30, 2016) Overview: U.S. Patent No. 10,714,111…

10714111 API Audio Enhanced Audio
Patent Analysis

U.S. Patent No. 10,902,681: Method and system for displaying a virtual object

U.S. Patent No. 10,902,681: Method and system for displaying a virtual object Issued January 26, 2021, to Sony Interactive Entertainment Inc.Filed/Priority to June 22, 2018 Overview: U.S. Patent No. 10,902,681 (the ‘681…

10902681 AR AR lighting augmented reality
Patent Analysis

U.S. Patent No. 10,967,276: Collaborative online gaming system and method

U.S. Patent No. 10,967,276: Collaborative online gaming system and method Issued April 6, 2021, to Electronic Arts Inc.Filed: February 14, 2019 (claiming priority to May 17, 2005) Overview: U.S. Patent No. 10,967,276…

10967276 app collaborative online gaming Collaborative online gaming system and method
Patent Analysis

U.S. Patent No. 10,918,948: Game Bot Generation for Gaming Applications

U.S. Patent No. 10,918,948: Game Bot Generation for Gaming Applications Issued February 16, 2021, to ModlAi ApsFiled: March 17, 2020 (claiming priority to March 19, 2019) Overview: U.S. Patent No. 10,918,948 (the…

10918948 AI artificial intelligence game bot
Patent Analysis

U.S. Patent No. 10,471,303: Training Instrument and input device

U.S. Patent No. 10,471,303: Training Instrument and input device Issued November 12, 2019, to Nintendo Co. LtdFiled: April 14, 2017 (claiming priority to October 16, 2014) Overview: U.S. Patent No. 10,471,303 (the…

10471303 exercise exercise game Game controller
Patent Analysis

U.S. Patent No. 10,688,396: Second screen virtual window into VR environment

U.S. Patent No. 10,688,396: Second screen virtual window into VR environment Issued June 23, 2020, to Sony Interactive Entertainment Inc.Filed: April 25, 2018 (claiming priority to April 28, 2017) Overview: U.S. Patent…

10688396 HMD Playstation VR Second screen virtual window into VR environment
Patent Analysis

U.S. Patent No. 10,839,215: Artificial intelligence for emulating human playstyles

U.S. Patent No. 10,839,215: Artificial intelligence for emulating human playstyles Issued November 17, 2020, to Electronic Arts Inc.Filed/Priority to May 21, 2018 Overview: U.S. Patent No. 10,839,215 (the ‘215 patent) relates to…

10839215 AI control AI player artificial intelligence
Patent Analysis

U.S. Patent No. 10,857,466: Audience adjusted gaming

[tatsu_section bg_color= “” bg_image= “” bg_repeat= “no-repeat” bg_attachment= ‘{“d”:”scroll”}’ bg_position= ‘{“d”:”top left”}’ bg_size= ‘{“d”:”cover”}’ bg_animation= “none” padding= ‘{“d”:”15px 0px 15px 0px”}’ margin= ‘{“d”:”0px 0px 0px 0px”}’ bg_video_mp4_src= “” bg_video_ogg_src= “” bg_video_webm_src= “”…

10857466 altering game mechanics audience audience adjusted gaming
Patent Analysis

U.S. Patent No. 10,953,330: Reality vs Virtual Reality Racing

U.S. Patent No. 10,953,330: Reality vs Virtual Reality Racing Issued March 23, 2021, to Buxton Glob. Enter. Inc.Filed: July 22, 2019 (claiming priority to July 7, 2017) Overview: U.S. Patent No. 10,953,330…

10953330 Buxton Global Entertainment Inc. race track racecar
Patent Analysis

U.S. Patent No. 11,040,285: Secure anti-cheat system

U.S. Patent No. 11,040,285: Secure anti-cheat system Issued June 22, 2021 to Electronic Arts Inc. Filed/Priority to September 18, 2019 This Electronic Arts patent is yet another great example of the ways…

11040285 anti-cheat anticheat cheat
Patent Analysis

U.S. Patent No. 11,011,142: Information processing system and goggle apparatus

U.S. Patent No. 11,011,142: Information processing system and goggle apparatus Issued May 18, 2021, to Nintendo Co LtdFiled: February 5, 2020 (claiming priority to February 27, 2019) This Nintendo patent appears to…

11011142 Goggle Goggle Apparatus LABO
Patent Analysis

U.S. Patent No. 9,814,983: Methods and/or systems for designing virtual environments

U.S. Patent No. 9,814,983: Methods and/or systems for designing virtual environments Issued November 14, 2017, to Nintendo Co. Ltd. Filed: July 30, 2014 (claiming priority to June 14, 2011) This Super Mario Maker-related…

9814983 Level design Mario Maker Nintendo