Andrew Thomas

Patent Analysis

U.S. Patent No. 9,381,430: Interactive video game using game-related physical objects for conducting gameplay

U.S. Patent No. 9,381,430: Interactive video game using game-related physical objects for conducting gameplay Issued: July 5, 2016, to Activision Publishing, Inc. Priority Date: May 17, 2011 Summary: U.S. Patent No. 9,381,430…

9381430 activision Interactive video game using game-related physical objects for conducting gameplay patent
Patent Analysis

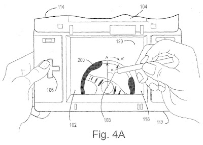
U.S. Patent No. 5,184,830: Compact hand-held video game system

U.S. Patent No. 5,184,830: Compact hand-held video game system Issued February 9, 1993, to Nintendo Co., Ltd. Priority Date: January 10, 1989     Summary: U.S. Patent No. 5,184,830 is the American patent…

5184830 Compact hand-held video game system Game Boy handheld
Patent Analysis

U.S. Patent No. 9,409,085: Game system, game control method, game device, and computer-readable storage medium

U.S. Patent No. 9,409,085: Game system, game control method, game device, and computer-readable storage medium Issued August 9, 2016, to Nintendo Co., Ltd. Priority Date February 16, 2012 Summary: U.S. Patent No.…

9409085 Mario Nintendo patent
Patent Analysis

U.S. Patent No. 8,764,563: Video Game superimposing virtual characters on user supplied photo used as game screen background

U.S. Patent No. 8,764,563: Video Game superimposing virtual characters on user supplied photo used as game screen background Issued July 1, 2014, to Bandai Namco Entertainment, Inc. Priority Date: March 24, 2009…

8764563 augmented reality Bandai Namco nintendo ds
Patent Analysis

U.S. Patent No. 9,393,486: Character simulation and playback notification in game session replay

U.S. Patent No. 9,393,486: Character simulation and playback notification in game session replay Issued July 17, 2016, to Amazon Technologies, Inc. Priority June 27, 2014 Summary: U.S. Patent No. 9,393,486 (the ‘486…

9393486 Amazon Character simulation and playback notification in game session replay patent
Lawsuits

Tetris Holding, LLC v. Xio Interactive, Inc.

Tetris Holding, LLC v. Xio Interactive, Inc. 863 F.Supp.2d 394 United States District Court for the District of New Jersey May 30, 2012 We were recently talking among ourselves about copyright protection…

863 F.Supp.2d 394 clone copycat games Copyright
Patent Analysis

U.S. Patent No. 9,409,083: Spawning new timelines during game session replay

U.S. Patent No. 9,409,083: Spawning new timelines during game session replay Issued August 9, 2017, to Amazon Technologies, Inc. Priority date: June 27, 2014   Summary: Traditionally, to restart a multiplayer session…

9409083 Amazon Multi-Player patent
Patent Analysis

U.S. Patent No. 10,004,981: Input method and apparatus

U.S. Patent No. 10,004,981: Input method and apparatus Issued June 26, 2018 to Nintendo Co. Ltd Priority Date October 5, 2010 Summary: U.S. Patent No. 10,004,981 (the ‘981 Patent) describes a method…

10004981 Input method and apparatus Nintendo nintendo ds
Patent Analysis

U.S. Patent No. 9,120,016: Interactive guitar game designed for learning to play the guitar

U.S. Patent No. 9,120,016: Interactive guitar game designed for learning to play the guitar Issued September 9, 2015, to Ubisoft Entertainment SA Priority Date November 21, 2008 Summary: In 2008, music rhythm…

9120016 guitar Interactive guitar game designed for learning to play the guitar patent
Patent Analysis

U.S. Patent No. 8,929,721: Methods for identification of highlight game events and automated generation of videos for same

U.S. Patent No. 8,929,721: Methods for identification of highlight game events and automated generation of videos for same Issued January 6, 2015, to Sony Interactive Entertainment America, LLC Priority Date February 15,…

8929721 Methods for identification of highlight game events and automated generation of videos for same patent sony interactive entertainment
Patent Analysis

U.S. Patent No. 9,454,849: Augmented reality playspaces with adaptive game rules

U.S. Patent No. 9,454,849: Augmented reality playspaces with adaptive game rules Issued September 27, 2016, to Microsoft Technology Licensing, LLC Priority Date November 03, 2011   Summary: U.S. Patent No. 9,454,849 (the…

9454849 AR augmented reality Augmented reality playspaces with adaptive game rules
Patent Analysis

U.S. Patent No. 9,566,503: Massively single-playing online game

U.S. Patent No. 9,566,503 Massively single-playing online game Issued February 14, 2017, to Nintendo Co. Ltd. Priority Date February 2, 2010 Summary: A huge draw to online games, especially MMORPGs, is the…

9566503 Massively single-playing online game Nintendo patent
Lawsuits

Grinch Parody ruled a Fair Use

Lombardo v. Dr. Seuss Enterprises, L.P 279 F. Supp. 3d 497 (S.D.N.Y. 2017), aff’d, No. 17-2952-cv, 2018 WL 3323476 (2d Cir. 2018) On July 6, 2018, the Second Circuit upheld the Southern…

17 USC 107 Broadway Copyright Dr. Seuss
Patent Analysis

U.S. Patent No. 9,707,476: Method for creating a mini-game

U.S. Patent No. 9,707,476: Method for creating a mini-game Issued July 18, 2017, to Sony Interactive Entertainment Inc. Priority Date September 28, 2012 Summary: Classic console games are known for being challenging…

9707476 GameDev Method for creating a mini-game Mini-games
Lawsuits

Striking from the Shadows

Infernal Technology, LLC et al v. Crytek GmbH United States District Court for the Eastern District of Texas Docket No. 2-18-cv-00284, filed July 10, 2018 On July 10, 2018, Infernal Technology and Terminal Reality…

activision blizzard Crytek EA
Lawsuits

Bethesda sues Warner Bros. over Westworld Mobile Game

  Bethesda Softworks LLC v. Behaviour Interactive, Inc., et al United States District Court for the District of Maryland Docket No. 8:18-cv-01846-RWT, filed June 21, 2018 On June 21, 2018, Bethesda Softworks…

Behaviour Interactive Bethesda Bethesda Softworks Bethesda Softworks v. Behaviour Interactive
Lawsuits

Update – PUBG withdraws lawsuit against Epic

PUBG Corp., the Korean Subsidiary of Bluehole Studios (the developer of PlayerUnknown’s Battlegrounds), has dropped its lawsuit against Fortnite developer Epic Games Inc. PUBG had filed a copyright infringement claim against Epic…

Battle Royale Copyright Copyrights Epic
Lawsuits

How do you perform a video game?

Epic Games, Inc. et al v. Mendes et al United States District Court for the Northern District of California CAND-3-17-cv-06223, Filed Oct. 27, 2017 We recently reported on Epic Games suing individuals…

17 USC 106(4) Cheating Copyright Copyrights
Lawsuits

Candy Crush Pushing into Possible Patent Infringement

Groove Digital, Inc. v. King.com, LTD. et al., United States District Court for the District of Delaware, 1-18-cv-00836, filed 06/04/2018 On June 4, 2018, Groove Digital filed a lawsuit in the District…

apps Candy Crush delaware District of Delaware
Lawsuits

Sony Files for Another IPR on a Patent Relating to Stereoscopic Images

On May 22, 2018, Sony Interactive Entertainment LLC (Sony) filed a petition for Inter Partes Review of U.S. Patent 8,206,218 (the ‘218 Patent), owned by Techno View IP. The ‘218 Patent is related…

inter partes review ipr patent infringement Patents