activision

News

Infernal Tech. Case Emphasizes Need for Caution When Parts of a Patent Claim Refer Back to Earlier Language

Infernal Technology, LLC v. Activision Blizzard Inc. Case No. 2021-2349 Decided: January 24, 2023 The Federal Circuit issued a decision on January 24, 2023 stating that a collection of Activision Blizzard’s video…

activision Lawsuits News Patents
Patent Analysis

U.S. Patent No. 10,546,406: User Generated Character Animation

U.S. Patent No. 10,546,406: User Generated Character Animation Issued January 28, 2020, to Activision Publishing Inc.Filed/Priority to May 9, 2016 Overview: U.S. Patent No. 10,546,406 (the ‘406 patent) relates to using player-made…

10546406 activision Activision Publishing Activision Publishing Inc
Patent Analysis

U.S. Patent No. 10,765,955: Video game notifications for streaming games

U.S. Patent No. 10,765,955: Video game notifications for streaming games Issued September 8, 2020, to Activision Publishing Inc.Filed: April 23, 2018 (claiming priority to December 27, 2017) Overview: U.S. Patent No. 10,765,955…

10765955 activision Activision Publishing Activision Publishing Inc
Lawsuits

Lawsuit Update: Jury Finds No Copyright Infringement of Wrestler’s Poster in Black Ops 4 Poster

Lawsuit Update: Jury Finds No Copyright Infringement of Wrestler’s Poster in Black Ops 4 Poster Huffman v. Activision Publ’g, Inc.2:19-cv-00050Filed February 12, 2019 Professional wrestler Booker T. Huffman (“Huffman”), who wrestles as…

activision Activision Publishing Activision Publishing Inc Black Ops
Patent Analysis

U.S. Patent no. 10,252,163: Music video game with user directed sound generation

U.S. Patent no. 10,252,163: Music video game with user directed sound generation Issued April 9, 2019 to Activision Publishing, Inc. Priority Date July 14, 2008 Summary: U.S. Patent No. 10,252,163 (the ‘163…

10252163 activision Music video game with user directed sound generation patent
Patent Analysis

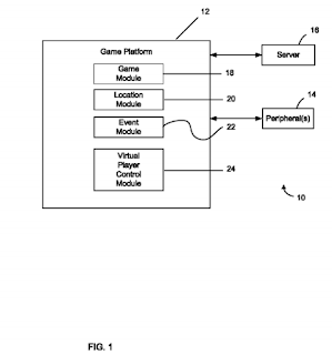
U.S. Patent No. 9,180,378: Conditional access to areas in a video game

U.S. Patent no. 9,180,378: Conditional access to areas in a video game Issued November 10, 2015, to Activision Publishing, Inc. Priority Date May 17, 2011 Summary: U.S. Patent No. 9,180,378 (the ‘378…

9180378 activision Conditional access to areas in a video game patent
Patent Analysis

U.S. Patent No. 9,061,205: Music video game with user directed sound generation

U.S. Patent No. 9,061,205: Music video game with user directed sound generation Issued June 23, 2015, to Activision Publishing, Inc. Priority Date July 14, 2008 Summary: U.S. Patent No. 9,061,205 (the ‘205…

9061205 activision guitar hero Music video game with user directed sound generation
Patent Analysis

U.S. Patent No. 8,802,953: Scoring of free-form vocals for video game

U.S. Patent No. 8,802,953: Scoring of free-form vocals for video game Issued August 12, 2014, to Activision Publishing, Inc. Priority Date February 5, 2009 Summary: U.S. Patent No. 8,802,953 (the ‘953 Patent)…

8802953 activision guitar hero patent
Patent Analysis

U.S. Patent No. 8,858,330: Music video game with virtual drums

U.S. Patent No. 8,858,330: Music video game with virtual drums Issued October 14, 2014, to Activision Publishing, Inc. Priority Date July 14, 2008 Summary: U.S. Patent No. 8,858,330 (the ‘330 Patent) describes…

8858330 activision music Music video game with virtual drums
Patent Analysis

U.S. Patent No. 8,814,687: Multi-player music game

U.S. Patent No. 8,814,687: Multi-player music game Issued August 26, 2014, to Activision Publishing, Inc. Priority Date May 5, 2010 Summary: U.S. Patent No. 8,814,687 (the ‘687 Patent) describes a method to…

8814687 activision guitar hero Multi-player music game
Patent Analysis

U.S. Patent No. 9,381,430: Interactive video game using game-related physical objects for conducting gameplay

U.S. Patent No. 9,381,430: Interactive video game using game-related physical objects for conducting gameplay Issued: July 5, 2016, to Activision Publishing, Inc. Priority Date: May 17, 2011 Summary: U.S. Patent No. 9,381,430…

9381430 activision Interactive video game using game-related physical objects for conducting gameplay patent
Lawsuits

Striking from the Shadows

Infernal Technology, LLC et al v. Crytek GmbH United States District Court for the Eastern District of Texas Docket No. 2-18-cv-00284, filed July 10, 2018 On July 10, 2018, Infernal Technology and Terminal Reality…

activision blizzard Crytek EA
Lawsuits

Case Update: GAT v. Activision Blizzard et al.

Game and Technology v. Activision Blizzard et al., C.D. Cal., Case No. 2:16-cv-06499-MLH-SK, Filed August 29, 2016 On March 14, 2018, the Patent Trial and Appeal Board (PTAB) invalidated U.S. Patent No.…

activision blizzard California federal circuit
Lawsuits

PTAB Institutes Inter Partes Review of Group Messaging Patent

On May 15, 2018, the Patent Trial and Appeal Board (the “PTAB”) instituted two Inter Partes Review (“IPR”) proceedings against U.S. 5,822,523 (the “’523 Patent”).  The ’523 Patent generally relates to group…

activision blizzard expiration inter partes review
Patent Analysis

U.S. Patent No. 8,721,412: System and method configured to unlock content within a videogame

U.S. Patent No. 8,721,412: System and method configured to unlock content within a videogame Issued May 13, 2014, to Activision Publishing, Inc.   Summary: The ‘412 patent covers both single and multi-player…

activision Patents
Patent Analysis

U.S. Patent No. 8,591,332: Video game video editor

U.S. Patent No. 8,591,332: Video game video editor Issued Nov. 26, 2013, to Activision Publishing, Inc. Summary: The ‘332 patent describes a video editor that displays game play clips created while the…

activision Patents software
Patent Analysis

U.S. Patent No. 8,591,332: Video game video editor

U.S. Patent No. 8,591,332: Video game video editor Issued Nov. 26, 2013, to Activision Publishing, Inc. Summary: The ‘332 patent describes a method of recording in game footage and including information such…

activision Patents
Lawsuits

Baby Murlocs and Work For Hire – Activision Blizzard fighting Appeal of Copyright Case

Amanda Lewis v. Activision Blizzard, Inc Ninth Circuit, Case No. 13-17391 Appeal Filed 11/21/2013 From NDCA Case No. 12-cv-01096 Back in November 2010, a former World of Warcraft game master sued Blizzard…

activision Amanda Lewis v. Activision Blizzard Copyrights Lawsuits
Lawsuits

Worlds Inc. v. Activision – DISMISSED

Looks like the Worlds Inc v. Activision case has been dismissed, at least for now.  In an interesting development, it appears that Activision was successful in arguing that Worlds’ patent attorneys did…

activision Lawsuits Patents Worlds Inc. v. Activision
Lawsuits

P.S. Products v. Activision Blizzard – Dismissed!

P.S. PRODUCTS, INC. v. ACTIVISION BLIZZARD, INC.,  Case No. 4:13-cv-00342-KGB United States District Court for the Eastern District of Arkansas Activision delivers a knockout punch. P.S. Products had sued Activision Blizzard for…

activision Design Eastern District of Arkansas Lawsuits