Patent Records

Showing the patent database with Patent Arcade analysis prioritized.

5452 records found

Figure Patent No. Title Assignee Issue Date
U.S. Pat. No. 10,963,132 U.S. Pat. App. No. 17/023,744 DIGITAL JUKEBOX DEVICE WITH IMPROVED KARAOKE-RELATED USER INTERFACES, AND ASSOCIATED METHODS TouchTunes Music Corporation September 17, 2020
U.S. Pat. No. 11,068,042 U.S. Pat. App. No. 16/947,969 Detecting and Responding to an Event within an Interactive Videogame Roku, Inc. August 26, 2020
U.S. Pat. No. 11,014,004 U.S. Pat. App. No. 16/930,889 METHOD AND SYSTEM FOR SUPPLEMENTING A VIDEO STREAM OF A FANTASY CARD VIDEOGAME CARDBOARD LIVE, INC. July 16, 2020
U.S. Pat. No. 10,953,312 U.S. Pat. App. No. 16/920,367 VIRTUAL GAME CONSOLE USING MULTIPLE NFC DEVICES SIMULTANEOUSLY Blok Party, Inc. July 2, 2020
U.S. Pat. No. 10,991,110 U.S. Pat. App. No. 16/844,095 Methods and Systems to Modify a Two Dimensional Facial Image to Increase Dimensional Depth and Generate a Facial Image That Appears Three Dimensional Activision Publishing, Inc. April 9, 2020
U.S. Pat. No. 10,918,948 U.S. Pat. App. No. 16/821,020 GAME BOT GENERATION FOR GAMING APPLICATIONS modl.ai ApS March 17, 2020
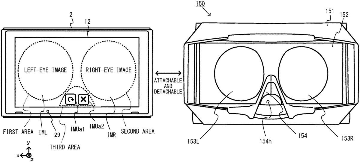
U.S. Pat. No. 11,011,142 U.S. Pat. App. No. 16/782,175 INFORMATION PROCESSING SYSTEM AND GOGGLE APPARATUS Nintendo Co., Ltd. February 5, 2020
U.S. Pat. No. 10,987,574 U.S. Pat. App. No. 16/736,787 HEAD MOUNTED DISPLAY Sony Interactive Entertainment Inc. January 7, 2020
U.S. Pat. No. 11,065,542 U.S. Pat. App. No. 16/701,730 METHOD AND APPARATUS FOR DETERMINING USER ENGAGEMENT IN A VIDEOGAME Sony Interactive Entertainment Inc. December 3, 2019
U.S. Pat. No. 10,930,044 U.S. Pat. App. No. 16/654,750 CONTROL SYSTEM FOR VIRTUAL CHARACTERS MURSION, INC. October 16, 2019

Disclaimer: Data collected from the USPTO and may be malformed, incomplete, and/or otherwise inaccurate.