Eastern District of Texas

Lawsuits

Motiva sues Sony, HTC, and Oculus for Patent Infringement

Motiva Patents, LLC v. Sony Corporation et al United States District Court for the Eastern District of Texas Docket Number: 9-18-cv-00180, filed October 3, 2018 & Motiva Patents, LLC v. HTC Corporation…

7292151 7952483 8159354 8427325
Lawsuits

Striking from the Shadows

Infernal Technology, LLC et al v. Crytek GmbH United States District Court for the Eastern District of Texas Docket No. 2-18-cv-00284, filed July 10, 2018 On July 10, 2018, Infernal Technology and Terminal Reality…

activision blizzard Crytek EA
Lawsuits

New Cases – Harmonix v. AI Automation (Rock Band 4)

Harmonix Music Systems, Inc. and Mad Catz, Inc. v. AI Automation LLC District of Massachusetts, Case No. 15-CV-14138 Filed December 14, 2015 and AI Automation LLC v. Harmonix Music Systems, Inc., Mad…

Automation v. Harmonix Music Systems District of Massachusetts Eastern District of Texas Mad Catz. v. AI Automation
Lawsuits

New Cases: Virtual Gaming Technologies v. Activision Blizzard. and Konami Gaming

Virtual Gaming Technologies, LLC v. Activision Blizzard, Inc. and Konami Gaming, Inc. Eastern District of Texas, Cases No. 2-15-cv-02074 and 2-15-cv-02075 Filed December 14, 2015 Plaintiff Virtual Gaming accuses Activision, Konami, and…

Eastern District of Texas patent Virtual Gaming Technologies v. Activision Blizzard
Lawsuits

New Case – SyncPoint Imaging, LLC v. Nintendo of America Inc.

SyncPoint Imaging, LLC v. Nintendo of America Inc. U.S. District Court for the Eastern District of Texas Case No. 2:15-cv-00247, Filed February 20, 2015 A new complaint alleges that Nintendo’s Wii and…

Eastern District of Texas patent SyncPoint Imaging v. Nintendo of America
Lawsuits

New Case: Uniloc USA, Inc. et al v. Mojang AB

Uniloc USA, Inc. et al v. Mojang AB U.S. District Court, Eastern District of Texas Case No. 6:2012cv00470, Filed on July 20, 2012 Mojang, the studio responsible for creating the game Minecraft, has…

Eastern District of Texas Lawsuits Patents Uniloc USA v. Mojang
Lawsuits

New Case: Paqits, LLC v. Activision Blizzard, Inc.

Paqits, LLC v. Activision Blizzard, Inc. United States District Court, Eastern District of Texas Case No. 2:2012cv00013, Filed on January 11, 2012   Activision has been slapped with a patent infringement suit…

activision Eastern District of Texas Lawsuits Paqits v. Activision Blizzard
Lawsuits

Case Update: Lodsys Amends Suit to Include “Angry Birds”

Lodsys LLC. V. Combay Inc. et al.   United States District Court, Eastern District of Texas   Case No. 11-cv-00272, Filed May 31, 2011 Previously, we reported on the ongoing battle between…

Eastern District of Texas Lawsuits Lodsys V. Combay Patents
Lawsuits

Achates v. Symantec

Achates Reference Publishing, Inc. v. Symantec Corporation et al. U.S. District Court for the Eastern District of Texas Case No. 11-cv-00294, Filed June 20, 2011 Achates Publishing, a Texas enterprise, has sued…

Achates Reference Publishing v. Symantec Corporation Eastern District of Texas Lawsuits News
Lawsuits

Digital Reg v. Adobe

Digital Reg of Texas, LLC v. Adobe Systems Incorporated et al U.S. District Court, Eastern District of Texas Case No. 6:11-cv-00305, Filed June 14, 2011 This recently filed case coming out of…

Digital Reg of Texas v. Adobe Systems Incorporated Eastern District of Texas Lawsuits Patents
Lawsuits

Apple Intervenes in App Patent Suit

Lodsys LLC. V. Combay Inc. et al. United States District Court, Eastern District of Texas Case No. 11-cv-00272, Filed May 31, 2011 Seven developers of iPhone applications, including the developers of games…

Apple Eastern District of Texas Lawsuits Lodsys V. Combay
Lawsuits

Case Udate: Beneficial Innovations v. Blockdot (E.D.Tex.)

Beneficial Innovations Inc. v. Blockdot Inc. et al United States District Court, Eastern District of TexasCase No. 2-07CV-263, Filed June 20, 2007 Case Update: This case was well on its way to…

Beneficial Innovations v. Blockdot Eastern District of Texas Lawsuits Patents
Lawsuits

Case Update: PPC v. Sony (E.D.Tex, filed 7/26/07)

Parallel Processing Corporation v. Sony Corporation of America United States District Court, Eastern District of Texas Case No. 07-353, Filed July 26, 2007 Case Update: This case was dismissed without prejudice on…

Eastern District of Texas Lawsuits News Parallel Processing Corporation v. Sony Corporation
Lawsuits

Case Update: Konami v. Harmonix

In the beginning of June, Patent Arcade reported that Harmonix Music Systems, Inc. and Viacom Inc. were close to settlement in the Harmonix v. Konami case (one of two Harmonix/Konami cases). At…

Eastern District of Texas Konami v. Harmonix patent
Lawsuits

Appeal Update & Decision: Fenner Investments Ltd. v. Microsoft et al.

Back in 2007, Fenner Investment Ltd. sued Microsoft, Nintendo and Sony for infringement of U.S. Patent No. 6,297,751, relating to low voltage joystick port interfaces. Claim 1 is reproduced below:   1.…

Eastern District of Texas Fenner Investments v. Microsoft Lawsuits Patents
Lawsuits

Beneficial Innovations, Inc. v. Blockdot, Inc. et al.

As previously reported, Beneficial Innovations, Inc. (“Beneficial”) filed suit in the Eastern District of Texas accusing several entities of willfully infringing claims of U.S. Pat. No. 6,712,702 entitled “Method and system for…

Beneficial Innovations v. Digg Inc. CBS Interactive Eastern District of Texas Jabez Networks
Lawsuits

CASE UPDATE: Paltalk v. Microsoft

Online chat company Paltalk Holdings, Inc. and Microsoft Corporation have formally dismissed the patent suit between them in the Eastern District of Texas. In the suit, Paltalk alleged that the chat and…

Eastern District of Texas Lawsuits Paltalk v. Microsoft Patents
Lawsuits

New Case: Worlds.com v. NCSoft (E.D.Tex., filed Dec. 24, 2008)

Merry Christmas, you’ve been sued. It’s not uncommon for plaintiffs to file lawsuits around the holidays in order to “turn the screws” on defendants, and that appears to be the case here.…

Eastern District of Texas Lawsuits MMOG Patents
Lawsuits

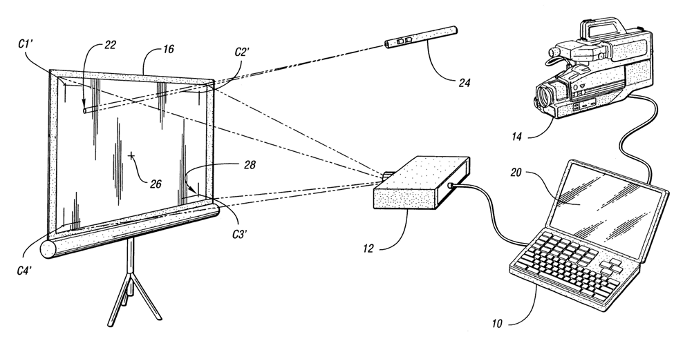
New Case: Motiva v. Nintendo (patent infringement)

Well, it looks like Nintendo has been sued for patent infringement again. This time by Motiva LLC, for infringement of U.S. Pat. No. 7,292,151, which is directed to a “Human Movement Measurement…

Eastern District of Texas Lawsuits Motiva v. Nintendo Patents
Lawsuits

Case Update: Anascape v. Nintendo final judgment

In the ongoing dispute between Anascape, Ltd., an invention and license-holding company, against Nintendo of America regarding Nintendo’s use of three patents a jury had found the video game company to infringe,…

Anascape v. Nintendo Eastern District of Texas Lawsuits Patents