PatentArcade Admin

Lawsuits

The NCAA Blocks the Use of “March Madness” in Trademark Dispute

National Collegiate Athletic Association v. Kizzang LLC et al Case number 1:17-cv-00712 U.S. District Court for the Southern District of Indiana Filed: March 8, 2017 (Editor’s Note:  This is an old case,…

Basketball Final Four Kizzang March Madness
Patent Analysis

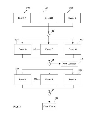
U.S. Patent No. 8,976,184: System and method for controlling animation by tagging objects within a game environment

U.S. Patent No. 8,976,184: System and method for controlling animation by tagging objects within a game environment Issued March 10, 2015 to Nintendo Co., Ltd. Priority Date October 9, 2013 Summary: U.S. Patent…

8976184 Nintendo patent System and method for controlling animation by tagging objects within a game environment
Patent Analysis

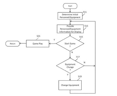
U.S. Patent No. 8,992,321: Apparatus and method for displaying player character showing special movement state in network game

U.S. Patent No. 8,992,321: Apparatus and method for displaying player character showing special movement state in network game Issued March 31, 2015 to Kabushiki Kaisha Square Enix Priority Date December 30, 2011…

8992321 Apparatus and method for displaying player character showing special movement state in network game patent Square Enix
Patent Analysis

U.S. Patent No. 9,180,378: Conditional access to areas in a video game

U.S. Patent no. 9,180,378: Conditional access to areas in a video game Issued November 10, 2015, to Activision Publishing, Inc. Priority Date May 17, 2011 Summary: U.S. Patent No. 9,180,378 (the ‘378…

9180378 activision Conditional access to areas in a video game patent
Patent Analysis

U.S. Patent No. 9,186,575: Online game with animal-breeding mechanic

U.S. Patent No. 9,186,575: Online game with animal-breeding mechanic Issued November 17, 2015 To Zynga Inc. Summary: For anyone that has wanted to try out being a farmer in the comfort of…

9186575 farming Online game with animal-breeding mechanic patent
Patent Analysis

U.S. Patent No. 8,814,675: Method of operating an online game using terraformed game spaces

U.S. Patent No. 8,814,675: Method of operating an online game using terraformed game spaces Issued August 26, 2014 To Zynga Inc. Summary: U.S. Patent No. 8,814,675 relates to a method allowing players…

8814675 Method of operating an online game using terraformed game spaces patent Patents
Lawsuits

Eleven Engineering v. Nintendo

Eleven Engineering et al v. Nintendo et al Case No. 1:09-cv-009030 (D. Del, Filed Nov. 25, 2009) Decided: July 11, 2016 Back in 2009 Eleven Engineering sued Nintendo, Sony, and Microsoft alleging…

District Court for the District of Delaware Eleven Engineering v. Nintendo Microsoft Microsoft Xbox 360 Controller
Patent Analysis

U.S. Patent No. 9,308,458: Automatic movement of player character in network game

U.S. Patent No. 9,308,458: Automatic movement of player character in network game Issued: April 12, 2016, To: Kabushiki Kaisha Square Enix Summary: The present invention relates to an autopilot mode in a…

9308458 Automatic movement of player character in network game Kabushiki Kaisha Square Enix MMORPG
Lawsuits

Princeton Digital v. Konami

Princeton Digital Image Corporation v. Konami Digital Entertainment, Inc. Case number 1:12-cv-01461 U.S. District Court for the District of Delaware Motion to dismiss granted-in-part and denied-in-part: March 30, 2017 In November 2012,…

5513129 Declaratory judgment Delaware District Court Electronic Arts Inc.
Patent Analysis

U.S. Patent No. 9,364,746: System and method configured to unlock content within a videogame

U.S. Patent No. 9,364,746: System and method configured to unlock content within a videogame Issued June 14, 2016, to Activision Publishing, Inc. Summary: This invention relates to how players can unlock new…

9364746 Activision Publishing patent System and method configured to unlock content within a videogame
Patent Analysis

U.S. Patent No. 9,545,571: Methods and apparatus for a video game magic system

U.S. Patent No. 9,545,571: Methods and apparatus for a video game magic system Issued January 17, 2017, to Nintendo Co., Ltd. Summary: Fans of fantasy stories such as The Lord of the…

9545571 Methods and apparatus for a video game magic system Nintendo patent
Patent Analysis

U.S. Patent No. 9,174,128: Dynamic quests in game

U.S. Patent No. 9,174,128: Dynamic quests in game Issued: November 3, 2015 Assigned: Zynga Inc. Priority Date: April 26, 2012 Summary: This patent relates to creating computer-generated quests for a game. Some…

9174128 Dynamic quests in game Patents zynga
Patent Analysis

U.S. Patent no. 9,656,167: Pre-play and post-play video game character presentation and equipping

U.S. Patent no. 9,656,167: Pre-play and post-play video game character presentation and equipping Issued May 23, 2017 to Activision Publishing, Inc. Priority Date: March 15, 2013   Summary: This patent concerns the…

9656167 patent Pre-play and post-play video game character presentation and equipping
Patent Analysis

U.S. Patent No. 9,259,652: Time-shifted multiplayer game

U.S. Patent No. 9,259,652:Time-shifted multiplayer game Issued February 16, 2016, to Electronic Arts Inc. Priority Date March 6, 2013   Summary: In games, such as racing games, a player competes against other…

9259652 Electronic Arts ghost racers Time-shifted multiplayer game
Lawsuits

Zynga’s Luck Runs out as Gambling Case Continues

CG Technology Development, LLC, et al., v. Zynga, Inc. Case number NVD-2-16-cv-00859 U.S. District Court for the District of Nevada Zynga’s Renewed Motion to Stay Granted: May 24, 2017 (EDITOR’S NOTE: This…

'818 Patent Alice Casino Gaming CG Technology Development v. Zynga
Lawsuits

Nintendo Faces Lawsuit over Software Used for Its Mii Avatars – Cert Denied/Game Over

RecogniCorp, LLC v. Nintendo Co., Ltd. Case number 16-1499 United States Court of Appeals for the Federal Circuit Decided: April 28, 2017 In December 2011, Texas-based RecogniCorp, LLC sued Nintendo Co. Ltd.…

Alice Alice Corp v. CLS Bank Mii Nintendo Co. Ltd.
Lawsuits

No Shellebration for Turtle Rock Studios

Turtle Rock Studios, Inc. v. Digital Development Management, Inc. Case number: TAC-41987 Before the Labor Commissioner of the State of California Petition Dismissed: March 20th, 2017 Filed on December 29, 2015, this…

State of California Turtle Rock Studios v. Digital Development Management
Lawsuits

Thorner v. Sony: The Conclusion

Thorner et al v. Sony Computer Entertainment America LLC et al The U.S. District court, District of New Jersey Case No. 3-09-cv-01894, Filed April 21, 2009 Case Dismissed: August 6, 2013 According to…

6422941 District of New Jersey Immersion v. Sony Markman hearings
Lawsuits

King.com Ltd. Tries to Crush Competitors

King.com Limited v. JoyFox Company Limited Case number 3:17-cv-01636 U.S. District Court for the Northern District of California Action Dismissed: March 31, 2017 The operator of the mobile game “Candy Crush Saga,”…

Bubble Mania Candy Crush China Cookie Crush
Lawsuits

Antonick v. Electronic Arts, Inc.

Antonick v. Electronic Arts, Inc. United States Court of Appeals for the Ninth Circuit Case No. 14-15298 Decided: November 22, 2016 Robin Antonick sued Electronic Arts over unpaid royalties stemming from his…

Antonick Antonick v. Electronic Arts Apple II Copyright