Electronic Arts Inc.

Patent Analysis

U.S. Patent No. 10,726,611: Dynamic texture mapping using megatextures

U.S. Patent No. 10,726,611: Dynamic texture mapping using megatextures Issued July 28, 2020, to Electronic Arts Inc.Filed/Priority to August 24, 2016 Overview: U.S. Patent No. 10,726,611 (the ‘611 patent) concerns the use…

10726611 blur dynamic blending of textures Electronic Arts
Patent Analysis

U.S. Patent No. 10,891,125: Videogame patch data compilation system

U.S. Patent No. 10,891,125: Videogame patch data compilation system Issued January 12, 2021, to Electronic Arts Inc.Filing/Priority to March 28, 2019 Overview: U.S. Patent No. 10,891,125 (the ‘125 patent) relates to a…

10891125 EA easy updating Electronic Arts
Patent Analysis

U.S. Patent No. 10,967,276: Collaborative online gaming system and method

U.S. Patent No. 10,967,276: Collaborative online gaming system and method Issued April 6, 2021, to Electronic Arts Inc.Filed: February 14, 2019 (claiming priority to May 17, 2005) Overview: U.S. Patent No. 10,967,276…

10967276 app collaborative online gaming Collaborative online gaming system and method
Patent Analysis

U.S. Patent No. 10,839,215: Artificial intelligence for emulating human playstyles

U.S. Patent No. 10,839,215: Artificial intelligence for emulating human playstyles Issued November 17, 2020, to Electronic Arts Inc.Filed/Priority to May 21, 2018 Overview: U.S. Patent No. 10,839,215 (the ‘215 patent) relates to…

10839215 AI control AI player artificial intelligence
Patent Analysis

U.S. Patent No. 11,040,285: Secure anti-cheat system

U.S. Patent No. 11,040,285: Secure anti-cheat system Issued June 22, 2021 to Electronic Arts Inc. Filed/Priority to September 18, 2019 This Electronic Arts patent is yet another great example of the ways…

11040285 anti-cheat anticheat cheat
Patent Analysis

U.S. Patent No. 11,007,439: Respawn systems and methods in video games

U.S. Patent No. 11,007,439: Respawn systems and methods in video games Issued May 18, 2021, to Electronic Arts Inc.Filed/Priority to July 31, 2019 This Electronic Arts patent appears to relate to the…

11007439 Apex Legends banner Electronic Arts
Patent Analysis

U.S. Patent No. 8,082,499: Graphical interface for interactive dialog

U.S. Patent No. 8,082,499: Graphical interface for interactive dialog Issued December 20, 2011, to Electronic Arts Inc. Filed: March 15, 2007 (claiming priority to March 21, 2006) The dialog selection tools for…

8082499 Bioware Branching narrative Circular Dialog wheel
Patent Analysis

U.S. Patent No. 10,765,944: Machine learning models for implementing animation actions

U.S. Patent No. 10,765,944: Machine learning models for implementing animation actions Issued September 8, 2020, to Electronic Arts Inc.Filed/Priority to September 7, 2018 If only the in-game bot was smarter… uh, oh……

10765944 Animation prediction EA Sports EA UFC
News

U.S. Patent No. 8,425,325: Automatically generating a book describing a user’s videogame performance

U.S. Patent No. 8,425,325: Automatically generating a book describing a user’s videogame performance Issued April 23, 2013, to Apple Inc. Filing/Priority to February 6, 2009   A comic book of your video…

8425325 Apple Apple Inc. Bioware
Patent Analysis

U.S. Patent No. 10,709,985: Automatic game comparison and recommendation

U.S. Patent No. 10,709,985: Automatic game comparison and recommendation Issued July 14, 2020, to Electronic Arts Inc. Filed: February 8, 2019 (claiming priority to March 4, 2011) Overview: U.S. Patent No. 10,709,985…

10709985 Automatic game comparison and recommendation Automatic recommendation EA
Patent Analysis

U.S. Patent No. 10,850,204: Interactive gameplay playback system

U.S. Patent No. 10,850,204: Interactive gameplay playback system Issued December 1, 2020, to Electronic Arts Inc.Filed: March 11, 2019 (claiming priority to June 30, 2016) Overview: U.S. Patent No. 10,850,204 (the ‘204…

10850204 EA Electronic Arts Inc. gameplay sharing
News

Electronic Arts Pledges to Share Innovative Technologies Which Help Disabled Gamers

Electronic Arts Pledges to Share Innovative Technologies Which Help Disabled Gamers Electronic Arts (“EA”) has pledged to help breakdown barriers for players with disabilities or medical issues through sharing technologies which help…

accessibility accommodation disabilities EA
Patent Analysis

U.S. Patent No. 10,987,579: 2.5D Graphics Rendering System

U.S. Patent No. 10,987,579 Graphics Rendering System Issued April 27, 2021, to Electronic Arts Inc.Filed/Priority to March 28, 2018 Overview: U.S. Patent No. 10,987,579 (the ‘579 patent) relates to a graphics rendering…

10987579 Electronic Arts Inc. graphics
Patent Analysis

U.S. Patent No. 10,449,440: Interactive voice-controlled companion application for a video game

U.S. Patent No. 10,449,440: Interactive voice-controlled companion application for a video game Issued October 22, 2019 to Electronic Arts Inc. Priority Date: June 30, 2017 Summary: U.S. Patent No. 10,449,440 (the ’440…

10449440 companion application Electronic Arts Inc. remote
Patent Analysis

U.S. Patent No. 10,632,385: Systems and methods for capturing participant likeness for a video game character

U.S. Patent No. 10,632,385: Systems and methods for capturing participant likeness for a video game character Issued April 28, 2020 to Electronic Arts Inc. Priority Date: January 27, 2016 Summary: U.S. Patent…

10632385 Electronic Arts Inc. game character image
Patent Analysis

U.S. Patent No. 10,610,786: Multiplayer video game matchmaking optimization

U.S. Patent No. 10,610,786: Multiplayer video game matchmaking optimization Issued April 7, 2020 to Electronic Arts Inc. Priority Date: March 8, 2016 Summary: U.S. Patent No. 10,610,786 (the ’786 Patent) relates to…

10610786 Electronic Arts Inc. Matchmaking multiplayer
Patent Analysis

U.S. Patent No. 10,639,553: Systems and methods for crowd-sourced game strategy

U.S. Patent No. 10,639,553: Systems and methods for crowd-sourced game strategy Issued May 5, 2020 to Electronic Arts Inc. Priority Date: July 1, 2014 Summary: U.S. Patent No. 10,639,553 (the ’553 Patent)…

10639553 crowd sourced Electronic Arts Inc. game strategy
Patent Analysis

U.S. Patent No. 10,532,283: Virtual playbook with user controls

U.S. Patent No. 10,532,283: Virtual playbook with user controls Issued January 14, 2020 to Electronic Arts Inc. Priority Date: December 3, 2008 Summary: U.S. Patent No. 10,532,283 (the ’283 Patent) relates to…

10532283 camera editing Electronic Arts Inc. user controls
Patent Analysis

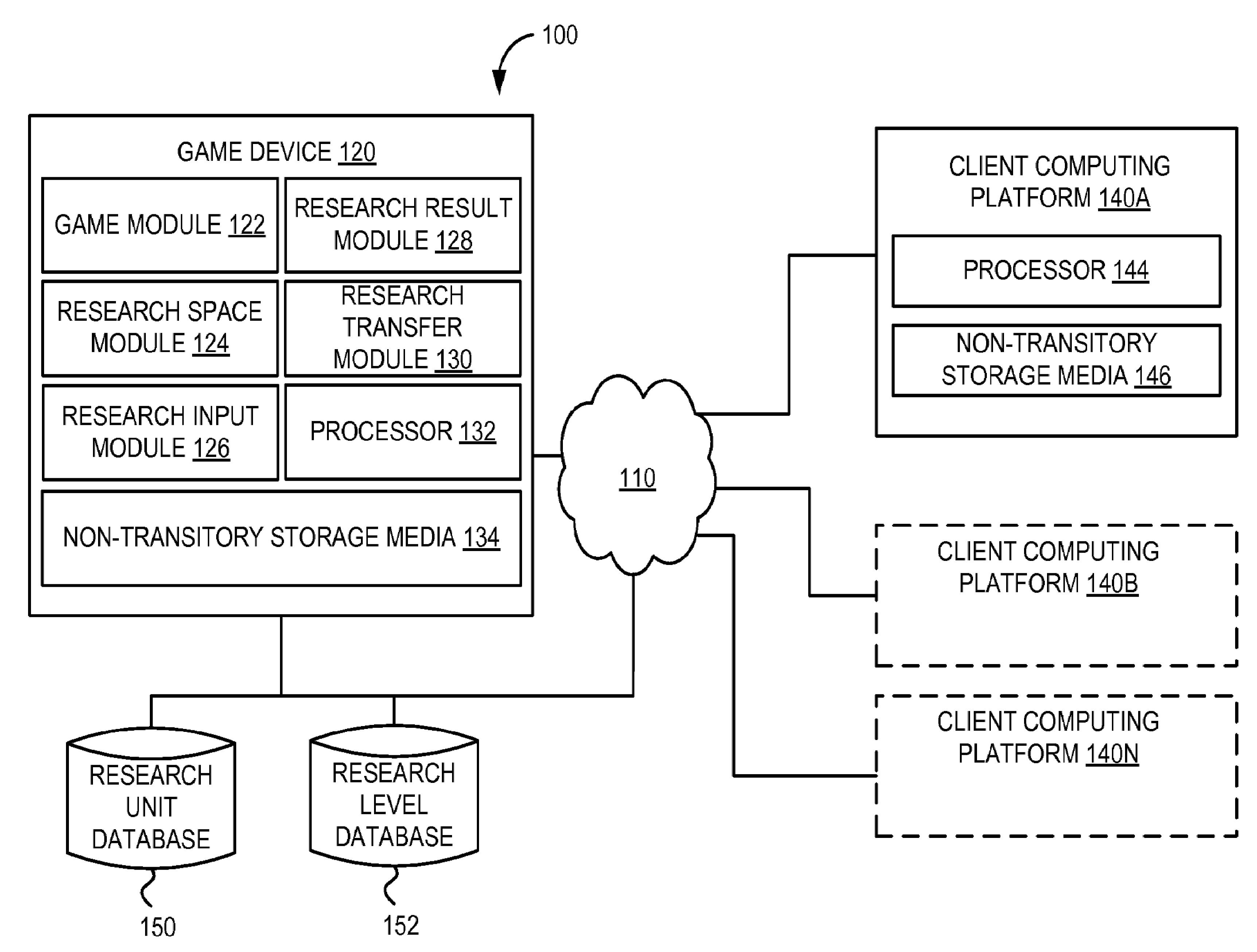
U.S. Patent no. 9,498,706: System and method for providing an enhanced research game mechanic

U.S. Patent no. 9,498,706: System and method for providing an enhanced research game mechanic Issued November 22, 2016 to Kabam Inc. (later assigned to Electronic Arts Inc.) Priority Date March 1, 2013…

9498706 Electronic Arts Inc. Kabam Inc. patent
Patent Analysis

U.S. Patent no. 9,561,433: Providing event rewards to players in an online game

U.S. Patent no. 9,561,433: Providing event rewards to players in an online game Issued February 7, 2017 to Kabam, Inc. (later assigned to Electronic Arts Inc.) Priority Date August 8, 2013 Summary:…

9561433 Electronic Arts Inc. event rewards Kabam Inc.