PatentArcade Admin

Patent Analysis

U.S. Patent No. 7,625,284: Systems and methods for indicating input actions in a rhythm-action game

U.S. Patent No. 7,625,284: Systems and methods for indicating input actions in a rhythm-action game Issued Dec. 1, 2009, to Harmonix Music Systems, Inc. Summary: The ‘284 patent describes the visual concept…

Patents
Patent Analysis

U.S. Patent No. 7,614,955: Method for online game matchmaking using play style information

  U.S. Patent No. 7,614,955: Method for online game matchmaking using play style information Issued November 10, 2009, to Microsoft Summary: The ‘955 patent describes a method for accumulating data in order…

Patents
Patent Analysis

U.S. Patent No. 7,635,300: Damage control game program and game machine

U.S. Patent No. 7,635,300: Damage control game program and game machine Issued Dec. 22, 2009, to Konami Summary: The ‘300 patent provides a new way to treat character damage during a game.…

Patents
Lawsuits

Graffiti Artist Sues Jeremy Scott and Moschino

Tierney v. Moschino United States District Court, Central District of California Case No. 2:15-cv-05900 Filed August 5, 2015   While not exactly a video game case, we thought our readers might find…

Central District of California Copyrights Graffiti Artist v. Jeremy Scott Lawsuits
Patent Analysis

U.S. Patent No. 7,613,616: Training a user to execute a sequence of commands in a game environment by using voice control

  U.S. Patent No. 7,613,616: Training a user to execute a sequence of commands in a game environment by using voice control Issued Nov. 3, 2009, to Sony Summary: Put away your…

Patents
Patent Analysis

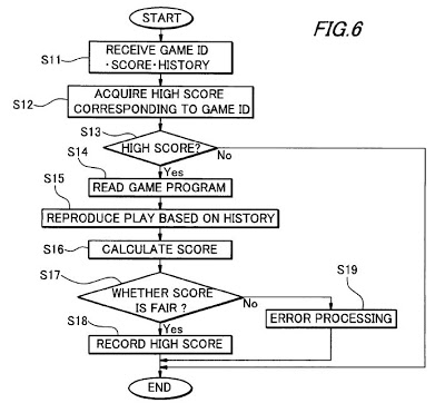
U.S. Patent No. 7,611,410: Score verification system and score verification method of online game

U.S. Patent No. 7,611,410: Score verification system and score verification method of online game Issued Nov. 3, 2009, to Square Enix Summary: The ‘410 patent provides a score verification system which verifies…

Patents
Patent Analysis

U.S. Patent No. 7,589,742: Random map generation in a strategy video game

U.S. Patent No. 7,589,742: Random map generation in a strategy video game Issued Sep. 15, 2009, to Microsoft Summary: The ‘742 patent seeks to make video games more interested by describing a…

Patents
Lawsuits

Decided: Quintal Research Group v. Nintendo

Quintal Research Group, Inc. v. Nintendo of America, Inc. Case No. 4:13-cv-00888 United States District Court for the Northern District of California Filed February 27, 2013; Terminated July 17, 2015 Plaintiff Quintal…

Lawsuits Nintendo Northern District of California Patents
Patent Analysis

U.S. Patent No. 7,585,225: Video game apparatus for displaying information indicating boundary between fields

  U.S. Patent No. 7,585,225: Video game apparatus for displaying information indicating boundary between fields Issued Sep. 8, 2009, to Square Enix Summary: The ‘225 patent describes a system where the environment…

Patents
Patent Analysis

U.S. Patent No. 6,748,326: Information processing apparatus and method for displaying weather data as a background for an electronic pet in a virtual space

  U.S. Patent No. 6,748,326: Information processing apparatus and method for displaying weather data as a background for an electronic pet in a virtual space Issued June 8, 2004, to Sony Summary:…

Patents
Lawsuits

DECIDED: Archi Comic Publications Inc. v. Penders

Archie Comic Publications Inc. v. Penders United States District Court, Southern District of New York Case No. 1:10-cv-08858, Filed November 23, 2010 This case was terminated on July 1, 2013.  All claims…

Archie Comic Publications v. Penders Copyrights Lawsuits Southern District of New York
Lawsuits

Digital Reg of Texas, LLC v. Adobe Systems Incorporated et al. U.S. District Court decision rendered.

   Digital Reg of Texas, LLC v. Adobe Systems Incorporated et al.   U.S. District Court, Northern District of California Case No. 3:12-cv-01971-NC, Filed April 20, 2012   On December 22, 2014, this…

Digital Reg of Texas v. Adobe Systems Incorporated Lawsuits Northern District of California patent
Lawsuits

Case Decided: Bandspeed, Inc. v. Sony Electronics et al.

Bandspeed, Inc. v. Sony Electronics Inc. et al. United States District Court, Western District of Texas Case No. 09-593, Filed August 7, 2009 This case was terminated on December 14, 2011, after…

Bandspeed v. Sony Electronics Lawsuits patent Western District of Texas
Lawsuits

Case Decided: Home Gambling Network et al. v. Piche et al.

Home Gambling Network et al. v. Piche et al. Docket No. 2:05-cv-00610 United States District Court, District of Nevada, filed May 16, 2005 On September 30, 2013,  the Court issued an order…

District of Nevada Gambling Home Gambling Network v. Piche Lawsuits
News

Bungie “Eververse” Trademarks

Bungie, Inc., the developer of the popular Destiny video game, recently filed three trademark applications with the U.S. Patent and Trademark Office. The first trademark is for the name “Eververse” and was…

Bungie Trademarks
Patent Analysis

U.S. Patent No. 6,251,010: Game Machine Apparatus and Method with Enhanced Time-Related Display of Pokemon-Type Characters

  U.S. Patent No. 6,251,010: game machine apparatus and method with enhanced time-related display of pokemon-type characters Issued June 26, 2001, to Nintendo Co. Ltd. Summary: For those of you Pokemon fans…

Patents
Lawsuits

UPDATED: T5 Labs, LLC v. Gaikai, Inc.

T5 Labs, LLC v. Gaikai, Inc. United States District Court, District of Delaware Case No. 1:12-cv-01281, Filed October 5, 2012 This case was terminated on April 11, 2014. The parties settled the…

District of Delaware Lawsuits patent Patents
Lawsuits

Motiva LLC v. Nintendo Co. Ltd. Case Dismissed

Motiva LLC v. Nintendo Co. Ltd. United States District Court for the Western District of Washington Case No. 10-cv-349, Filed March 2, 2010 This case was terminated on June 19, 2014.  The…

Lawsuits Motiva v. Nintendo Co Nintendo Patents
Patent Analysis

U.S. Patent No. 7,584,154: Arbitration of online game results using an arbitration server and method

U.S. Patent No. 7,584,154: Arbitration of online game results using an arbitration server and method Issued Sep. 1, 2009, to Microsoft Summary: The ‘154 patent provides an arbitration service for online gaming.…

Patents
Patent Analysis

U.S. Patent No. 6,973,430: Method for outputting voice of object and device used therefor

  U.S. Patent No. 6,973,430: Method for outputting voice of object and device used therefor Issued December 6, 2005, to Sony Summary: The ‘430 creates a voice-activated system allowing the player to…

Patents