PatentArcade Admin

Patent Analysis

U.S. Patent No. 8,585,476: Location-based games and augmented reality systems

U.S. Patent No. 8,585,476: Location-based games and augmented reality systems Issued Nov. 19, 2013 Summary: The ‘476 patent deals with virtual realities and augmented realities that rely on real world data to…

Patents Virtual
Patent Analysis

U.S. Patent No. 8,678,891: Video game systems and methods including protecting game character(s)

U.S. Patent No. 8,678,891: Video game systems and methods including protecting game character(s) Issued March 25, 2014 Summary: The ‘891 patent applies to multi-player games, in which each player controls a separate…

Patents
Patent Analysis

U.S. Patent No. 8,668,561: Video games including real-life attributes and/or fantasy settings

U.S. Patent No. 8,668,561: Video games including real-life attributes and/or fantasy settings Issued Mar. 11, 2014 Summary: The ‘561 patent applies to fantasy sports and covers a networked system that creates a…

Patents Sports
Patent Analysis

U.S. Patent No. 8,690,653: Video game systems and methods

U.S. Patent No. 8,690,653: Video game systems and methods Issued Apr. 8, 2014, to Nintendo Co., Ltd. Summary: The ‘653 patent covers multiplayer games in which each player controls a separate character…

Nintendo Patents
Patent Analysis

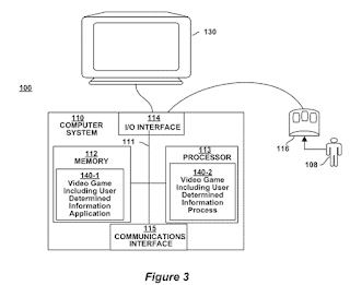
U.S. Patent No. 8,715,087: Video game including user determined location information

U.S. Patent No. 8,715,087: Video game including user determined location information Issued May 6, 2014   Summary: The ‘087 patent covers a method and device, which work together to collect player selected…

Patents
Patent Analysis

U.S. Patent No. 8,721,412: System and method configured to unlock content within a videogame

U.S. Patent No. 8,721,412: System and method configured to unlock content within a videogame Issued May 13, 2014, to Activision Publishing, Inc.   Summary: The ‘412 patent covers both single and multi-player…

activision Patents
Patent Analysis

U.S. Patent No. 8,740,707: Video game controller for multiple users

U.S. Patent No. 8,740,707: Video game controller for multiple users Issued Jun. 3, 2014 Summary: The ‘707 patent is a hardware patent, which covers a game controller that can be used by…

Patents
Patent Analysis

U.S. Patent No. 8,591,332: Video game video editor

U.S. Patent No. 8,591,332: Video game video editor Issued Nov. 26, 2013, to Activision Publishing, Inc. Summary: The ‘332 patent describes a video editor that displays game play clips created while the…

activision Patents software
Patent Analysis

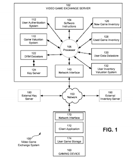
U.S. Patent No. 8,635,163: System and method for facilitating a video game exchange

U.S. Patent Not. 8,635,163: System and method for facilitating a video game exchange Issued Jan. 21, 2014, to Green Man Gaming Limited Summary: The ‘163 patent relies on a network and server…

Patents
Patent Analysis

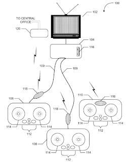
U.S. Patent No. 8,491,394: Squad vs. squad video game

U.S. Patent No. 8,491,394: Squad vs. squad video game Issued Jul. 23, 2013, to Microsoft Corporation Summary: The ‘394 patent applies to shooter video games, which are focused around competing squads. The…

Microsoft Patents
Patent Analysis

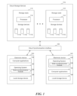
U.S. Patent No. 8,764,555: Video game application state synchronization across multiple devices

U.S. Patent No. 8,764,555: Video game application state synchronization across multiple devices Issued Jul. 1, 2014, to Nextbit Systems Inc. Summary: The ‘555 patent deals with the issue of synchronized gaming. It…

Patents
Patent Analysis

US Patent No. 8,430,752: Methods and apparatus to meter video game play

U.S. Patent No. 8,430,752: Methods and apparatus to meter video game play Issued Apr. 30, 2013, to The Nielsen Company (US), LLC Summary: The ‘752 patent describes a device which can be…

Patents
Patent Analysis

U.S. Patent No. 8,556,715: Personalized client-side visualization in a multiplayer network video game

U.S. Patent No. 8,556,715: Personalized client-side visualization in a multiplayer network video game Issued Oct. 15, 2013, to U4iA Games Inc. Summary: The ‘715 patent describes a method for providing specialized content…

Patents
Patent Analysis

U.S. Patent No. 8,523,673: Vocally interactive video game mechanism for displaying recorded physical characteristics of a player in a virtual world and in a physical game space via one or more holographic images

U.S. Patent No. 8,523,673: Vocally interactive video game mechanism for displaying recorded physical characteristics of a player in a virtual world and in a physical game space via one or more holographic…

Patents
Patent Analysis

U.S. Patent No. 8,678,928: System and method to deliver video games

U.S. Patent No. 8,678,928: System and method to deliver video games Issued Mar. 25, 2014, to AT&T Intellectual Property I, L.P. Summary: The ‘928 patent covers set-top boxes that rely on user…

Patents
Patent Analysis

U.S. Patent No. 8,535,151: Multimedia-based video game distribution

U.S. Patent 8,535,151: Multimedia-based video game distribution Issued Sep. 17, 2013, to AT&T Intellectual Property I, L.P. Summary: The ‘151 patent describes a system for selecting games from a content provider. A…

Patents
Patent Analysis

U.S. Patent No. 8,558,797: Video game processing apparatus and video game processing program

U.S. Patent No. 8,558,797: Video game processing apparatus and video game processing program Issued Oct. 15, 2013, to Kabushiki Kaisha Square Enix Summary: The ‘797 patent describes a touch screen input for…

Patents SquareEnix
Patent Analysis

U.S. Patent No. 8,491,365: Sports video game with enhanced control features

U.S. Patent No. 8,491,365: Sports video game with enhanced control features Issued Jul. 23, 2013, to Nintendo Co., Ltd. Summary: The ‘365 patent applies to sports video games with battle game aspects.…

Nintendo Patents
Patent Analysis

U.S. Patent No. 8,668,561: Video games including real-life attributes and/or fantasy settings

U.S. Patent No. 8,668,561: Video games including real-life attributes and/or fantasy settings Issued Mar. 11, 2014 Summary: The ‘561 patent applies to networked games, like fantasy sports. A storage medium, such as…

Patents Sports
Patent Analysis

U.S. Patent No. 8,591,332: Video game video editor

U.S. Patent No. 8,591,332: Video game video editor Issued Nov. 26, 2013, to Activision Publishing, Inc. Summary: The ‘332 patent describes a method of recording in game footage and including information such…

activision Patents