PatentArcade Admin

Patent Analysis

U.S. Patent No. 6,829,569: Social dilemma software for evaluating online interactive societies

  U.S. Patent No. 6,829,569: Social dilemma software for evaluating online interactive societies Issued Dec. 7, 2004, to Microsoft Summary: The ‘569 patent describes a social dilemma virtual world environment software which…

Patents
Patent Analysis

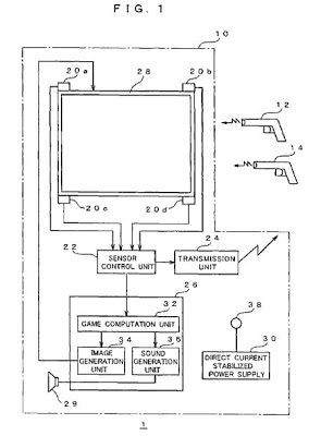
U.S. Patent No. 6,926,608: Recording medium storing three-dimensional image processing program, three-dimensional image processing program, method and device

  U.S. Patent No. 6,926,608: Recording medium storing three-dimensional image processing program, three-dimensional image processing program, method and device Issued Aug. 8, 2005, to Konami Summary: The ‘608 patent describes a system…

Patents
Patent Analysis

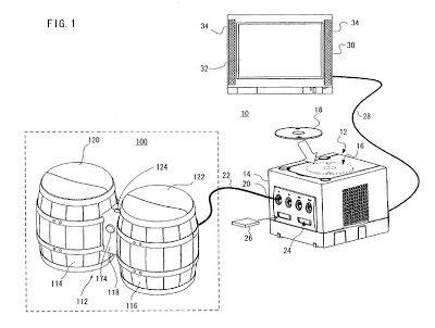
U.S. Patent No. 6,913,537: Recording medium and entertainment system

  U.S. Patent No. 6,913,537: Recording medium and entertainment system Issued July 5, 2005, to Sony Summary: The ‘537 patent allows a player to advance a game by controlling his character through…

Patents
Patent Analysis

U.S. Patent No.: 6,699,127: Real-time replay system for video game

  U.S. Patent No.: 6,699,127: Real-time replay system for video game Issued March 2, 2004, to Nintendo Co. Ltd. Summary:  The ‘127 patents allows for real-time replay in interactive video games. The…

Patents
Patent Analysis

U.S. Patent No. 6,846,237: Entertainment system, entertainment apparatus, recording medium, and program

  U.S. Patent No. 6,846,237: Entertainment system, entertainment apparatus, recording medium, and program Issued January 25, 2005, to Sony Summary: The ‘237 patent describes an entertainment system whereby a player can manually…

Patents
Patent Analysis

U.S. Patent No. 7,491,123: Video game voice chat with amplitude-based virtual ranging

  U.S. Patent No. 7,491,123: Video game voice chat with amplitude-based virtual ranging Issued Feb. 17, 2009, to Nintendo Summary: The ‘123 patent describes a system during online multiplayer games where a…

Patents
Patent Analysis

U.S. Patent No. 7,497,776: Multiplayer game mode with predator feature

  U.S. Patent No. 7,497,776: Multiplayer game mode with predator feature Issued March 3, 2009, to Microsoft Summary: The ‘776 patent provides a new multiplayer feature for the user. One of the…

Patents
Patent Analysis

U.S. Patent No. 7,090,576: Personalized behavior of computer controlled avatars in a virtual reality environment

  U.S. Patent No. 7,090,576: Personalized behavior of computer controlled avatars in a virtual reality environment Issued Aug. 15, 2006, to Microsoft Summary: The ‘576 patent describes a racing video game which…

Patents
Patent Analysis

U.S. Patent No. 8,523,668: Controlling access to and use of video game consoles

Summary: While the ‘668 patent does not cover video game systems or hardware, it does rely on access to a video game controller and aim to limit access to game consoles. The…

Patent Analysis

U.S. Patent No. 6,454,652: Video Game System and Method with Enhanced Three-Dimensional Character and Background Control Due to Environmental Conditions

  U.S. Patent No. 6,454,652: Video Game System and Method with Enhanced Three-Dimensional Character and Background Control Due to Environmental Conditions Issued September 24, 2002, to Nintendo Co. Ltd. Summary: The ‘652…

Patents
Patent Analysis

U.S. Patent No. 7,500,916: Game strategy analysis tool generating a two dimensional image overlaid with telemetry data

  U.S. Patent No. 7,500,916: Game strategy analysis tool generating a two dimensional image overlaid with telemetry data Issued March 10, 2009, to Microsoft Summary: The ‘916 patent describes a computing network…

Patents
Patent Analysis

U.S. Patent No. 7,582,010: Game machine, game program, and information storage medium

U.S. Patent No. 7,582,010: Game machine, game program, and information storage medium Issued Sep. 1, 2009, to Nintendo Summary: The ‘010 patent describes a golf game which features a shot mode where…

Patents
Patent Analysis

U.S. Patent No. 7,559,834: Dynamic join/exit of players during play of console-based video game

  U.S. Patent 7,559,834: Dynamic join/exit of players during play of console-based video game Issued July 14, 2009, to Microsoft Summary: The ‘834 patent allows for people to join in or leave…

7559834 Dynamic join/exit of players during play of console-based video game Patents
Patent Analysis

U.S. Patent No. 7,591,721: Video game that imposes penalty for violation of rule

U.S. Patent No. 7,591,721: Video game that imposes penalty for violation of rule Issued Sep. 22, 2009, to Square Enix Summary: The ‘721 patent describes a video game apparatus which allows a…

Patents
Patent Analysis

U.S. Patent No. 7,640,300: Presence and notification system for maintaining and communicating information

U.S. Patent No. 7,640,300: Presence and notification system for maintaining and communicating information Issued Dec. 29, 2009, to Microsoft Summary: The ‘300 patent provides for a system to assist in the Xbox…

Patents
Patent Analysis

U.S. Patent No. 7,618,322: Game system, storage medium storing game program, and game controlling method

  U.S. Patent No. 7,618,322: Game system, storage medium storing game program, and game controlling method Issued Nov. 17, 2009, to Nintendo Summary: The ‘322 patent describes a game with a controller…

Patents
Patent Analysis

U.S. Patent No. 7,594,847: Squad command interface for console-based video game

U.S. Patent No. 7,594,847: Squad command interface for console-based video game Issued Sep. 29, 2009, to Microsoft Summary: The ‘847 patent provides for a squad-based game whereby the player can select characters…

Patents
Patent Analysis

U.S. Patent No. 7,637,817: Information processing device, game device, image generation method, and game image generation method

  U.S. Patent No. 7,637,817: Information processing device, game device, image generation method, and game image generation method Issued Dec. 29, 2009, to Sega Summary: The ‘817 patent describes a method of…

Patents
Patent Analysis

U.S. Patent No. 7,621,813: Ubiquitous unified player tracking system

U.S. Patent No. 7,621,813: Ubiquitous unified player tracking system Issued Nov. 24, 2009, to Microsoft Summary: The ‘813 patent provides for the use of a single-name for people who wish to play…

Patents
Patent Analysis

U.S. Patent No. 7,657,477: Gaming system providing simulated securities trading

U.S. Patent No. 7,657,477: Gaming system providing simulated securities trading Issued February 2, 2010, to SummaLP Applications, Inc. Summary: The ‘477 patent may be interesting to anyone who took a business course…

Patents