PatentArcade Admin

Patent Analysis

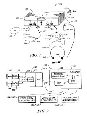
U.S. Patent No. 7,503,006: Visual indication of current voice speaker

  U.S. Patent No. 7,503,006: Visual indication of current voice speaker Issued March 10, 2009, to Microsoft Summary: The ‘006 patent provides a method for visually indicating a voice speaker during an…

Patents
Patent Analysis

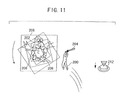
U.S. Patent No. 7,497,779: Video game including time dilation effect and a storage medium storing software for the video game

  U.S. Patent No. 7,497,779: Video game including time dilation effect and a storage medium storing software for the video game Issued March 3, 2009, to Nintendo Summary: The ‘779 patent describes…

Patents
Lawsuits

Nintendo Wii Balance Board suit dismissed

Ithaca Ventures k.s. et al. v. Nintendo of America Inc. et al. United States District Court, Western District of Washington 2:14-cv-01512 Filed May 9, 2013 Terminated May 18, 2015 On May 18,…

Ithaca Ventures v. Nintendo of America Nintendo patent Patents
Lawsuits

USPTO IPR on “Rock Band” Decided:

On May 6, 2015, the Patent Trial and Appeal Board found four claims of U.S. Patent No. 5,513,129 invalid. The patent, owned by Princeton Digital Image Corp., is directed to controlling virtual…

Lawsuits Patents Princeton Digital v. Harmonix Music Systems
Patent Analysis

U.S. Patent No. 7,027,034: Method of moving objects on TV monitor, the computer and recording medium for executing the method

  U.S. Patent No. 7,027,034: Method of moving objects on TV monitor, the computer and recording medium for executing the method Issued April 11, 2006, to Sony Summary: The ‘034 patent describes…

Patents
Patent Analysis

U.S. Patent No. 6,992,654: System and method for providing user input to character animation

  U.S. Pat. No. 6,992,654:  System and method for providing user input to character animation Issued January 31, 2006, to Electronic Arts Inc. Summary: This EA patent involves systems and methods for…

Patents
Patent Analysis

U.S. Patent No. 6,923,722: Game system and game program for providing multi-player gameplay on individual displays and a common display

  U.S. Patent No. 6,923,722: Game system and game program for providing multi-player gameplay on individual displays and a common display Issued August 2, 2005, to Nintendo Co., Ltd. Summary: The ‘722…

Lawsuits

Appeal decided in Garcia v. Google: NO Copyright Protection for Individual Actors in a Motion Picture

In a second major case decided today, the 9th Circuit held that there is no independent copyright held by a performer in a motion picture (film, TV, etc.) work. As reported by…

Copyrights Garcia v. Google Lawsuits
Patent Analysis

U.S. Patent No. 6,955,605: Episodic delivery of content

  U.S. Patent No. 6,955,605: Episodic delivery of content Issued October 18, 2005, to Electronic Arts Inc. Summary: The ‘605 patent describes a method of episodically delivering entertainment content for a reality-based…

Patents
Patent Analysis

U.S. Patent No. 6,843,726: Game system

  U.S. Patent No. 6,843,726: Game system Issued Jan. 18, 2005, to Konami Summary: The ‘726 patent describes a game system in which a player uses a voice input device (ex. a…

Patents
Analysis

U.S. Copyright Office Fair Use Index

I can’t tell you how many times I’ve been asked by a client or potential client whether they can include Element X from someone else’s game in their own game.  It’s a…

Patent Analysis

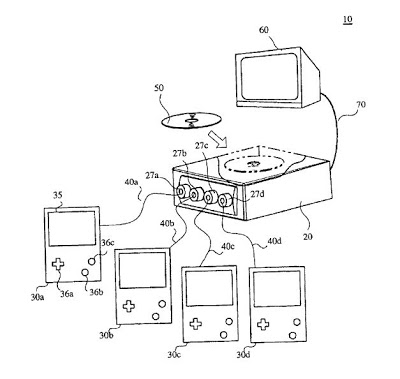
U.S. Patent No. 6,935,959: Use of multiple player real-time voice communications on a gaming device

  U.S. Patent No. 6,935,959: Use of multiple player real-time voice communications on a gaming device Issued on Aug. 30, 2005, to Microsoft Summary: The ‘959 patent describes a game console capable…

Patents
Patent Analysis

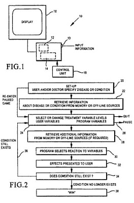
U.S. Patent No. 6,918,769: Video game for assisting healing of the human body

  U.S. Patent No. 6,918,769: Video game for assisting healing of the human body Issued July 19, 2005 Summary: The ‘769 patent seeks to help assist healing of the human body after…

Patents
Patent Analysis

U.S. Patent No. 6,905,414: Banning verbal communication to and from a selected party in a game playing system

  U.S. Patent No. 6,905,414: Banning verbal communication to and from a selected party in a game playing system Issued June 14, 2005, to Microsoft Summary: The ‘414 patent should appeal to…

Patents
Lawsuits

New Case: Acceleration Bay LLC v. Electronic Arts, Inc.

Acceleration Bay LLC v. Electronic Arts, Inc. U.S. District Court for the District of Delaware ded-1-15-cv-00282 Filed March 30, 2015 Fresh off their complaint against Activision Blizzard, Acceleration Bay has filed a…

Acceleration Bay v. Electronic Arts District of Delaware patent
Lawsuits

New Case – SyncPoint Imaging, LLC v. Nintendo of America Inc.

SyncPoint Imaging, LLC v. Nintendo of America Inc. U.S. District Court for the Eastern District of Texas Case No. 2:15-cv-00247, Filed February 20, 2015 A new complaint alleges that Nintendo’s Wii and…

Eastern District of Texas patent SyncPoint Imaging v. Nintendo of America
Patent Analysis

U.S. Patent No. 6,749,513: Method of the game for one to many persons on the online

U.S. Patent No. 6,749,513: Method of the game for one to many persons on the online Issued June 15, 2004 Summary: The ‘513 patent provides a method for allowing players to connect…

Patents
Patent Analysis

U.S. Patent No. 6,881,149: Entertainment system, entertainment apparatus, recording medium, and program

  U.S. Patent No. 6,881,149: Entertainment system, entertainment apparatus, recording medium, and program Issued Apr. 19, 2005, to Sony Summary: The ‘149 patent describes a method used in video games where the…

Patents
Lawsuits

New Case – Acceleration Bay LLC v. Activision Blizzard, Inc.

Acceleration Bay LLC v. Activision Blizzard, Inc. U.S. District Court for the District of Delaware, Case No. 1-15-cv-00228, Filed March 11, 2015 A new complaint alleges that Activision Blizzard is violating several…

Acceleration Bay v. Activision Blizzard District of Delaware patent
Patent Analysis

U.S. Patent No. 6,966,831: Method of branching flow of game

  U.S. Patent No. 6,966,831: Method of branching flow of game Issued November 22, 2005, to Sony Summary:  For all you gamers who grow tired of linear story lines without much of…

Patents