Patent Analysis

Patent Analysis

U.S. Patent No. 6,299,535: Method of processing interactive game, program product and game system for the same

U.S. Patent No. 6,299,535: Method of processing interactive game, program product and game system for the same Issued October 9, 2001, to Square Co., Ltd. Priority Date April 28, 2000 Summary: U.S.…

6299535 method of processing interactive game program product and game system for the same patent RPGs
Patent Analysis

U.S. Patent No. 7,803,048: Radar manipulation in a video game

U.S. Patent No. 7,803,048: Radar manipulation in a video game Issued September 28, 2010, to Microsoft Corp. Priority Date March 15, 2006 Summary: U.S. Patent No. 7,803,048 (the ‘048 Patent) describes methods…

7803048 Microsoft patent Radar manipulation in a video game
Patent Analysis

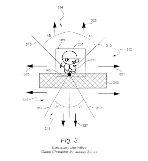
U.S. Patent No. 8,882,590: Touch-controlled game character motion providing dynamically-positioned virtual control pad

U.S. Patent No. 8,882,590: Touch-controlled game character motion providing dynamically-positioned virtual control pad Issue November 11, 2014, to Nintendo Co., Ltd. Priority Date April 28, 2006 Summary: U.S. Patent No. 8,882,590 (the…

8882590 Nintendo nintendo ds patent
Patent Analysis

U.S. Patent No. 8,313,379: Video game system with wireless modular handheld controller

U.S. Patent No. 8,313,379: Video game system with wireless modular handheld controller Issued November 20, 2012, to Nintendo Co., Ltd. Priority Date: August 22, 2005 Summary: U.S. Patent No. 8,313,379 describes the…

8313379 Nintendo nintendo wii patent
Patent Analysis

U.S. Patent No. 8,814,677: Using real-time constructive solid geometry to provide painting and thinning game mechanics

U.S. Patent No. 8,814,677: Using real-time constructive solid geometry to provide painting and thinning game mechanics Issued August 26, 2014, to Disney Enterprises, Inc. Priority Date September 2, 2010 Summary: U.S. Patent…

8814677 Disney Epic Mickey patent
Patent Analysis

U.S. Patent No. 8,802,953: Scoring of free-form vocals for video game

U.S. Patent No. 8,802,953: Scoring of free-form vocals for video game Issued August 12, 2014, to Activision Publishing, Inc. Priority Date February 5, 2009 Summary: U.S. Patent No. 8,802,953 (the ‘953 Patent)…

8802953 activision guitar hero patent
Patent Analysis

U.S. Patent No. 7,663,045: Music replacement in a gaming system

U.S. Patent No. 7,663,045: Music replacement in a gaming system Issued February 16, 2010, to Microsoft Corp. Priority Date September 20, 2005 Summary: U.S. Patent No. 7,663,045 (the ‘045 Patent) describes a…

7663045 Microsoft mp3 Music replacement in a game system
Patent Analysis

U.S. Patent No. 9,687,733: Game apparatus, storage medium, game controlling method and game system

U.S. Patent No. 9,687,733: Game apparatus, storage medium, game controlling method and game system Issued June 27, 2017, to Nintendo Co., Ltd. Priority Date February 23, 2011 Summary: U.S. Patent No. 9,687,733…

9687733 game apparatus storage medium game controlling method and game system Nintendo patent
Patent Analysis

U.S. Patent No. 8,784,202: Apparatus and method for repositioning a virtual camera based on a change game state

U.S. Patent No. 8,784,202: Apparatus and method for repositioning a virtual camera based on a change game state Issued July 22, 2014, to Nintendo Co., Ltd. Priority Date June 3, 2011 Summary:…

8784202 apparatus and method for repositioning a virtual camera based on a change game state Nintendo patent
Patent Analysis

U.S. Patent No. 9,511,292: Video game competition notifications

U.S. Patent No. 9,511,292: Video game competition notifications Issued December 6, 2016, to Sony Interactive Entertainment America, LLC Priority Date October 20, 2009 Summary: U.S. Patent No. 9,511,292 (the ‘292 Patent) describes…

9511292 patent sony interactive entertainment Video game competition notifications
Patent Analysis

U.S. Patent No. 9,367,543: Game achievements system

U.S. Patent No. 9,367,543: Game achievements system Issued June 14, 2016 to Microsoft Technology Licensing, LLC Priority Date December 7, 2004 Summary: U.S. Patent No. 9,367,543 (the ‘543 Patent) is for all…

9367543 Achievements Game achievements system Microsoft
Patent Analysis

U.S. Patent No. 7,628,688: Game apparatus, game control method, recording medium and program

U.S. Patent No. 7,628,688: Game apparatus, game control method, recording medium and program Issued December 8, 2009, to Konami Holding Corp. Priority Date March 10, 2000 Summary: Battling opponents is a quintessential part…

7628688 Game apparatus-game control method-recording medium and program Konami patent
Patent Analysis

U.S. Patent No. 6,231,444: Operating device for game machine

U.S. Patent No. 6,231,444: Operating device for game machine Issued May 15, 2001, to Sony Interactive Entertainment, Inc. Priority date: October 11, 1996 Summary: U.S. Patent No. 6,231,444 (the ‘444 Patent) is…

DualShock patent PlayStation sony interactive entertainment
Patent Analysis

U.S. Patent No. 4,445,187: Video games with voice dialog

U.S. Patent No. 4,445,187: Video games with voice dialog Issued April 24, 1984, to Best, Robert M. Priority Date February 5, 1979 Summary: U.S. Patent No. 4,445,187 (the ‘187 Patent) describes a…

interactive patent voice dialog
Patent Analysis

U.S. Patent No. 8,882,594: Control scheme for real time strategy game

U.S. Patent No. 8,882,594: Control Scheme for real time strategy game Issued November 11, 2014, to Microsoft Corp. Priority Date April 5, 2007 Summary: Real-time strategy games allow the player to command…

8882594 Control scheme for real time strategy game Microsoft patent
Patent Analysis

U.S. Patent No. 9,138,648: System and method for dynamically loading game software for smooth game play

U.S. Patent No. 9,138,648: System and method for dynamically loading game software for smooth game play Issued September 22, 2015, to Sony Interactive Entertainment America, LLC Priority Date October 10, 2001 Summary:…

9138648 open world patent sony
Patent Analysis

U.S. Patent No. 9,266,022: System to pause a game console whenever an object enters an exclusion zone

U.S. Patent No. 9,266,022: System to pause a game console whenever an object enters an exclusion zone Issued February 23, 2016, to David Paul Pasqualone Priority Date August 21, 2012   Summary:…

9266022 motion controls patent system to pause a game console whenever an object enters an exclusion zone
Patent Analysis

U.S. Patent No. 9,669,291: System and method to facilitate moves in a word game

U.S. Patent No. 9,669,291: System and method to facilitate moves in a word game Issued June 6, 2017, to Zynga, Inc. Priority Date May 31, 2011   Summary: U.S. Patent No. 9,669,291…

9669291 patent scrabble System and method to facilitate moves in a word game
Patent Analysis

U.S. Patent No. 9,005,033: Game movie maker

U.S. Patent No. 9,005,033: Game movie maker Issued April 14, 2015, to Sony Interactive Entertainment America, LLC Priority date April 11, 2008 Summary: U.S. Patent No. 9,005,033 (the ‘033 Patent) describes a…

9005033 Game movie maker patent sony interactive entertainment
Patent Analysis

U.S. Patent No. 8,858,330: Music video game with virtual drums

U.S. Patent No. 8,858,330: Music video game with virtual drums Issued October 14, 2014, to Activision Publishing, Inc. Priority Date July 14, 2008 Summary: U.S. Patent No. 8,858,330 (the ‘330 Patent) describes…

8858330 activision music Music video game with virtual drums