U.S. Patent No. 7,717,789: Game program, game device, and game method
Issued May 18, 2010, to Konami Digital Entertainment Co., Ltd.
Priority Date May 1, 2004
Summary:
Fans of games such as PES or soccer video games will appreciate U.S. Patent No. 7,717,789 (the ‘789 Patent) concerning instant replays. Especially relevant to sports games, the ‘789 Patent concerns an invention which identifies what content or footage in a game is important, and saves it to the gaming memory unit. Once a player finishes a game or match, the invention saves certain replay footage according to which footage contained the most important plays of the game. After a number of games have occurred, either the latest replay of what happened is shown, or the invention replays footage which was saved to the memory unit from previous games according to what was ranked as the most important plays. Such examples of replays given in the patent include important baseball events such as “hitting a home run when the score is tied,” or “sending a come-from-behind hit when losing.” The inventor of this particular method sought to balance the amount of footage the game records to prevent the system’s memory from being overloaded. The ‘789 Patent allows games to simulate instant replays of live-action sports games to make the player feel like the latest NBA star.
Abstract:
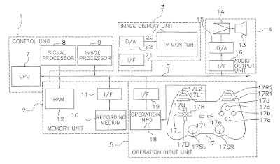
The present invention provides a player with replay images without setting a reference value to the replay images. First, in a game implemented by a program of the present invention, a first event table that identifies event content and the importance level thereof, is set. Next, replay images of an event that occurred during the execution of the game are saved in the memory unit. Then, the first event table is referenced during execution of the game, and the importance level of the replay images saved in the memory unit is set. Next, a second event table used to identify the importance level of the replay images is set. Finally, at least either the latest replay images saved in the memory unit, or the replay images saved in the memory unit in accordance with the importance level of the replay image, or both, is displayed on a monitor.
Illustrative Claim:
1. A computer readable medium storing a game program for a video game in which replay images corresponding to various events are displayed on a monitor, the game program comprising: code for setting by the control unit a first event table containing events being predicted to occur during the course of the video game and a first importance level being predetermined on the video game; code for executing an event by a control unit, the event occurring on the course of the video game; code for determining by the control unit whether or not the event occurring on the course of the video game is same as one of the events defined on the first table; code for identifying by the control unit a second importance level of the event as the first importance level by referring to the first event table, if the event occurring on the course of the video game is same as one of the events defined on the first event table; code for setting by the control unit a second event table containing a replay image of the event occurring on the course of the video game and the second importance level, the replay image and the second importance level being saved in the memory unit; and code for displaying on the monitor at least one of the latest replay image of the latest event and the replay image in the second event table on the basis of how high the second importance level is, the code for setting the first event table including code for setting a first event label in order to identify the event, and code for generating the first event table including the first event label in accordance with the first importance level, the code for setting the second event table including code for saving the replay image in a first area in a memory unit, code for setting a second event label that identifies content of the replay image, code for detecting whether or not the second event label matches the first event label by increasing the first importance level on the first event table one by one from the lowest to the highest, code for setting the second importance level based on how many times the first importance level on the first event table is increased, code for unchanging the second importance level if the second event label does not match the first event label between the lowest and the highest on the first event table, code for generating the second event table in accordance with the second importance level, if the second event label matches the first event label, and code for saving the second event table, and the replay image in the second area in the memory unit.
Research By: Rachel Johns
Edited By: Andrew Thomas
