Patent Analysis

Patent Analysis

U.S. Patent No. 9,180,378: Conditional access to areas in a video game

U.S. Patent no. 9,180,378: Conditional access to areas in a video game Issued November 10, 2015, to Activision Publishing, Inc. Priority Date May 17, 2011 Summary: U.S. Patent No. 9,180,378 (the ‘378…

9180378 activision Conditional access to areas in a video game patent
Patent Analysis

U.S. Patent No. 9,186,575: Online game with animal-breeding mechanic

U.S. Patent No. 9,186,575: Online game with animal-breeding mechanic Issued November 17, 2015 To Zynga Inc. Summary: For anyone that has wanted to try out being a farmer in the comfort of…

9186575 farming Online game with animal-breeding mechanic patent
Patent Analysis

U.S. Patent No. 8,814,675: Method of operating an online game using terraformed game spaces

U.S. Patent No. 8,814,675: Method of operating an online game using terraformed game spaces Issued August 26, 2014 To Zynga Inc. Summary: U.S. Patent No. 8,814,675 relates to a method allowing players…

8814675 Method of operating an online game using terraformed game spaces patent Patents
Patent Analysis

U.S. Patent No. 9,308,458: Automatic movement of player character in network game

U.S. Patent No. 9,308,458: Automatic movement of player character in network game Issued: April 12, 2016, To: Kabushiki Kaisha Square Enix Summary: The present invention relates to an autopilot mode in a…

9308458 Automatic movement of player character in network game Kabushiki Kaisha Square Enix MMORPG
Patent Analysis

U.S. Patent No. 9,364,746: System and method configured to unlock content within a videogame

U.S. Patent No. 9,364,746: System and method configured to unlock content within a videogame Issued June 14, 2016, to Activision Publishing, Inc. Summary: This invention relates to how players can unlock new…

9364746 Activision Publishing patent System and method configured to unlock content within a videogame
Patent Analysis

U.S. Patent No. 9,545,571: Methods and apparatus for a video game magic system

U.S. Patent No. 9,545,571: Methods and apparatus for a video game magic system Issued January 17, 2017, to Nintendo Co., Ltd. Summary: Fans of fantasy stories such as The Lord of the…

9545571 Methods and apparatus for a video game magic system Nintendo patent
Patent Analysis

U.S. Patent No. 9,174,128: Dynamic quests in game

U.S. Patent No. 9,174,128: Dynamic quests in game Issued: November 3, 2015 Assigned: Zynga Inc. Priority Date: April 26, 2012 Summary: This patent relates to creating computer-generated quests for a game. Some…

9174128 Dynamic quests in game Patents zynga
Patent Analysis

U.S. Patent no. 9,656,167: Pre-play and post-play video game character presentation and equipping

U.S. Patent no. 9,656,167: Pre-play and post-play video game character presentation and equipping Issued May 23, 2017 to Activision Publishing, Inc. Priority Date: March 15, 2013   Summary: This patent concerns the…

9656167 patent Pre-play and post-play video game character presentation and equipping
Patent Analysis

U.S. Patent No. 7,717,789: Game program, game device, and game method

U.S. Patent No. 7,717,789: Game program, game device, and game method Issued May 18, 2010, to Konami Digital Entertainment Co., Ltd. Priority Date May 1, 2004 Summary: Fans of games such as…

7717789 Game program game device and game method Konami patent
Patent Analysis

U.S. Patent No. 9,616,329: Adaptive learning system for video game enhancement

U.S. Patent No. 9,616,329: Adaptive learning system for video game enhancement Issued April 11, 2017, to Electronic Arts, Inc. Priority Date June 28, 2012 Summary: U.S. Patent No. 9,616,329 (the ‘329 Patent)…

9616329 Adaptive learning system for video game enhancement Electronic Arts patent
Patent Analysis

U.S. Patent No. 9,259,652: Time-shifted multiplayer game

U.S. Patent No. 9,259,652:Time-shifted multiplayer game Issued February 16, 2016, to Electronic Arts Inc. Priority Date March 6, 2013   Summary: In games, such as racing games, a player competes against other…

9259652 Electronic Arts ghost racers Time-shifted multiplayer game
Patent Analysis

U.S. Patent No. 5,885,156: Video game apparatus, method of controlling the growth of play character in video game, and video game medium therefor

U.S. Patent No. 5,885,156: Video game apparatus, method of controlling the growth of play character in video game, and video game medium therefor Issued March 23, 1999, to Konami Holding Corp. Priority…

5885156 baseball Konami patent
Patent Analysis

U.S. Patent No. 9,061,205: Music video game with user directed sound generation

U.S. Patent No. 9,061,205: Music video game with user directed sound generation Issued June 23, 2015, to Activision Publishing, Inc. Priority Date July 14, 2008 Summary: U.S. Patent No. 9,061,205 (the ‘205…

9061205 activision guitar hero Music video game with user directed sound generation
Patent Analysis

U.S. Patent No. 5,390,937: Video game apparatus, method and device for controlling same

U.S. Patent No. 5,390,937: Video game apparatus, method and device for controlling same Issued February 21, 1995, to Square Co., Ltd. Priority Date July 16, 1991 Summary: U.S. Patent No. 5,390,937 (the…

5390937 patent RPGs SquareEnix
Patent Analysis

U.S. Patent No. 5,805,784: Computer story generation system and method using network of re-usable substories

U.S. Patent No. 5,805,784: Computer story generation system and method using network of re-usable substories Issued September 8, 1998, to Christopher C. Crawford Priority Date September 28, 1994 Summary: U.S. Patent No.…

5805784 branching computer story generation system and method using netowrk of re-usable substories patent
Patent Analysis

U.S. Patent No. 8,858,328: Storage medium having game program stored therein, hand-held game apparatus, game system, and game method

U.S. Patent No. 8,858,328: Storage medium having game program stored therein, hand-held game apparatus, game system, and game method Issued October 14, 2014, to Nintendo Co., Ltd. Priority Date June 2, 2010…

8858328 Nintendo nintendo ds nintendo dsi
Patent Analysis

U.S. Patent No. 4,738,451: Multi-player, multi-character cooperative play video game with independent player entry and departure

U.S. Patent No. 4,738,451: Multi-player, multi-character cooperative play video game with independent player entry and departure Issued April 19, 1988, to Atari Games Corp. Priority Date May 20, 1986 Summary: U.S. Patent…

4738451 Atari Multi-Player Multi-player multi-character cooperative play video game with independent player entry and departure
Patent Analysis

U.S. Patent No. 8,282,491: Game-based incentives for location-based actions

U.S. Patent No. 8,282,491: Game-based incentives for location-based actions Issued October 9, 2012, to Zynga, Inc. Priority Date August 13, 2010 Summary: Smart Phones have allowed people to play games anywhere. U.S.…

8282491 Game-based incentives for location-based actions patent zynga
Patent Analysis

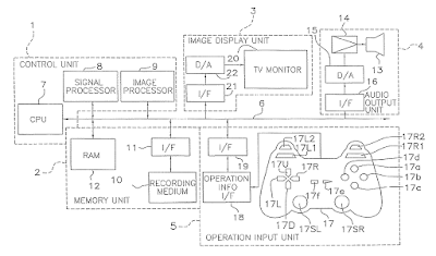
U.S. Patent No. 7,887,403: Method and system for controlling a game involving battles

U.S. Patent No. 7,887,403: Method and system for controlling a game involving battles Issued February 15, 2011, to Sony Interactive Entertainment, Inc. Priority Date October 14, 2005 Summary: U.S. Patent No. 7,887,403…

7887403 Method and system for controlling a game involving battles patent RPGs
Patent Analysis

U.S. Patent No. 8,914,136: Game control program and game device

U.S. Patent No. 8,914,136: Game control program and game device Issued December 16, 2014, to Sega Corp. Priority Date January 27, 2009 Summary: U.S. Patent No. 8,914,136 (the ‘136 Patent) describes a…

8913136 Game control program and game device patent Sega