U.S. Patent no. 10,252,167: Location graph adapted video games
Issued April 9, 2019 to Empire Technology Development LLC
Priority Date September 23, 2013
Summary:
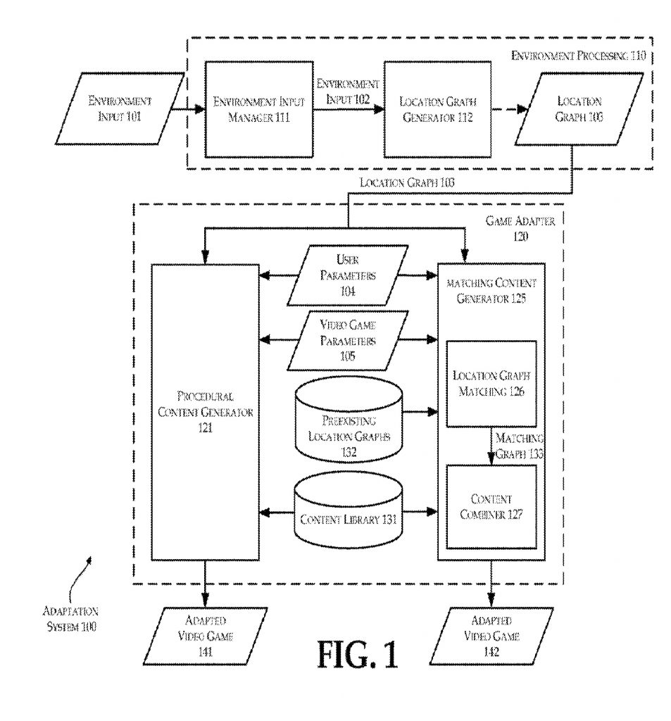
U.S. Patent No. 10,252,167 (the ‘167 Patent) relates to video games and the ability to provide scenes from real-world places. An example is a racing game that uses real-world road maps and scenery. Currently available technologies generally require extensive development effort for each real-world environment made available within a game. The invention may function by combining a video game 3D model with a real-world location graph. This model can be aligned with nodes to correspond with the real-world location. This invention could revolutionize the previously pain-staking and tedious process of manually developing video game content for the particular environment.
Abstract:
Technologies related to location graph adapted video games are generally described. In some examples, location graphs may be generated for received environment inputs, such as received three dimensional (3D) models of environments. Video games may be adapted to generated location graphs, such as by placing video game content at nodes of location graphs. Video game and/or user parameters may be accommodated when adapting video games to location graphs.
Illustrative Claim:
1. A method, comprising: generating, by a computer, a location graph that comprises at least: one or more nodes that correspond to locations within a particular environment, and one or more connections, between the one or more nodes, that correspond to pathways between the locations; retrieving, by the computer, video game content associated with a preexisting location graph in a video game, wherein the preexisting location graph matches with the generated location graph; receiving, by the computer, one or more user parameters; and generating, by the computer, based on the received one or more user parameters, an adapted video game, wherein generating the adapted video game includes assigning the retrieved video game content to the one or more nodes or the one or more connections of the generated location graph that corresponds to the particular environment, and wherein retrieving the video game content associated with the preexisting location graph eliminates a need to manually develop video game content for the particular environment.
