PatentArcade Admin

Lawsuits

Bots and Cheaters Lose as League of Legends is awarded a $10 Million Payout

Riot Games, Inc. v. Stefan Delgado Argote et al Case number 2:16-cv-05871 District Court for the Central District of California Decided: March 1st 2017 In August 2016, California-based Riot Games, Inc. sued…

Botting California Central District Cheating Copyright
News

Indie Developers Change Game Name Over Bethesda Trademark Dispute

  Indie Developers Change Game Name Over Bethesda Trademark Dispute On May 1st, 2017, No Matter Studios announced that they changed the name of their game “Prey for the Gods” to “Praey…

Bethesda Softworks BluBox Games Elder Scrolls Fallout
Lawsuits

Vault Corp. v. Quaid Software Ltd.

  Vault Corp. v. Quaid Software Ltd. 847 F.2d 255 United States Court of Appeals for the Fifth Circuit Decided: June 20, 1988 Vault Corporation was a manufacturer of floppy disks that…

17 U.S.C. § 117 5th Circuit 847 F.2d 255 Computer Software Copyright Act
Lawsuits

Parties Agree to Settle in Damion Perrine v. Sega of America

Damion Perrine v. Sega of America, Inc., et. al. U.S. District Court, Northern District of California Case No. C: 13-1962 MEJ Case Dismissed: June 5, 2015 In April 2013, Damion Perrine filed…

Aliens Aliens: Colonial Marines Breach of Express Warranties California's Consumer Legal Remedies Act
Lawsuits

Pixar Prevails Under Alice in Patent Dispute

Coffelt v. NVIDIA Corporation Case number: 16-cv-00457 United States Court of Appeal for the Federal Circuit Decided: March 15, 2017 Editor’s Note: We apologize for not reporting on this case sooner, but…

8614710 Alice Central District of California Coffelt v. NVIDIA
Patent Analysis

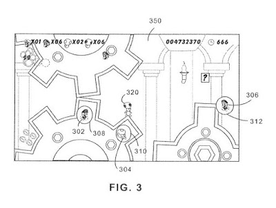
U.S. Patent No. 9,446,312: Video game systems and methods for protecting game characters during game play

U.S. Patent No. 9,446,312: Video game systems and methods for protecting game characters during game play Issued September 20, 2016 to Nintendo Co., Ltd. Priority Date September 29, 2010 Summary: U.S. Patent…

9446312 Nintendo patent Video game systems and methods for protecting game characters during game play
Lawsuits

ADC Technology v. Microsoft Corp.

ADC Technology Inc. v. Microsoft Corporation et al United States District Court for the Western District of Washington Case No. 2:08-cv-01579-RSM, Filed October 27, 2008 Decided: May 2, 2016 against Nintendo; November…

5775995 6193520 6488508 6702585
Patent Analysis

U.S. Patent No. 9,427,668: Storage medium storing game program and game apparatus for improved collision detection in a video game

U.S. Patent No. 9,427,668: Storage medium storing game program and game apparatus for improved collision detection in a video game Issued August 30, 2016, to Nintendo Co., Ltd. Priority Date May 29,…

9427668 Multi-Player Nintendo patent
Lawsuits

Atari sues Indy T-Shirt Websites

Atari Interactive, Inc. v. RedBubble, Inc. United States District Court for the Northern District of California Docket No. 3-18-cv-03451, filed June 11, 2018 Atari Interactive, Inc. v. Zazzle, Inc. United States District…

Atari Atari Interactive v. RedBubble Copyright copyright infringement
Patent Analysis

U.S. Patent No. 8,944,919: Network game system for executing event in network game

U.S. Patent No. 8,944,919: Network game system for executing event in network game Issued February 3, 2015 to Square Enix Summary: This patent relates to a network game such as an MMORPG in…

8944919 Network game system for executing event in network game patent Square Enix
Patent Analysis

U.S. Patent No. 6,488,505: System and method of vehicle competition with enhanced ghosting features

U.S. Patent No. 6,488,505: System and method of vehicle competition with enhanced ghosting features Issued December 3, 2002, to Midway Games West Inc. Priority Date July 15, 1999 Summary: U.S. Patent No.…

6488505 ghost racers Midway patent
Patent Analysis

U.S. Patent No. 5,718,632: Recording medium, method of loading games program code means, and games machine

U.S. Patent No. 5,718,632: Recording medium, method of loading games program code means, and games machine Issued February 17, 1998, to Namco Ltd. Summary: In 1995, Yoichi Hayashi of Namco Ltd. invented…

5718632 Patents Recording medium method of loading games program code means and games machine
Lawsuits

iLife wins $10.1 M from Nintendo

On August 31, 2017, a Northern District of Texas jury awarded plaintiff iLife Technologies, Inc. (“iLife”) $10.1 million from Nintendo of America, Inc. (“Nintendo”) for patent infringement. The accused products included Wii…

Northern District of Texas patent plaintiff iLife Technologies v. Nintendo of America
Patent Analysis

U.S. Patent No. 8,000,581: Advertisement scheme for use with interactive content

  U.S. Patent No. 8,000,581: Advertisement scheme for use with interactive content   Issued August 16, 2011, to Sony Computer Entertainment America LLC Summary: For anyone who’s ever been interrupted from playing…

Lawsuits

Digital Reg of Texas, LLC v. Adobe

 Digital Reg of Texas, LLC v. Adobe Systems Incorporated et al. U.S. District Court, Northern District of California Case No. 3:12-cv-01971-NC, Filed April 20, 2012       As reported previously, Digital…

Digital Reg of Texas v. Adobe Northern District of California patent
Lawsuits

Lindsay Lohan’s Grand Theft Auto Suit Dismissed

Lindsay Lohan v. Take-Two Interactive Software Inc., 156443/2014, New York State Supreme Court, New York County (Manhattan). In 2014 actress Lindsay Lohan filed suit against Take-Two Interactive Software Inc. claiming that the…

Lawsuits Lohan v. Take-Two Interactive Software New York County patent
Lawsuits

CASE UPDATE: Oaklawn Jockey Club Inc. et al. v. Kentucky Downs LLC et al., case number 16-5582, U.S. Court of Appeals for the Sixth Circuit.

Oaklawn Jockey Club Inc. et al. v. Kentucky Downs LLC et al. Case No. 16-5582, U.S. Court of Appeals for the Sixth Circuit   In their recent brief Appellees Kentucky Downs, LLC…

Lawsuits Oaklawn Jockey Club v. Kentucky Downs Trademark United States
Lawsuits

Atari Games Corp. v. Oman, 979 F. (2d) 242 (Cir DC 1992)

Atari Games Corp. v. Oman  979 F. (2d) 242 (DC Cir. 1992) This case dealt with the copyright status of video games, particularly whether video games are eligible for registration. Atari Games…

Atari Games Corp. v. Oman Copyrights Lawsuits
Lawsuits

Martin O’Donnell v. Harold Ryan

O’Donnell v. Ryan Case No. 14-2-12439-2 SEA Superior Court of Washington for King County On April 11, 2014, Martin O’Donnell’s employment was terminated by Bungie’s board of directors. O’Donnell had been a…

employment Lawsuits O'Donnell v. Ryan patent
Patent Analysis

U.S. Patent No. 8,535,153: Video game system and methods of operating a video game

U.S. Patent No. 8,535,153: Video game system and methods of operating a video game Issued Sep. 17, 2013 Summary: The ‘153 patent deals with video game systems with two forms of media.…

Patents