U.S. Patent no. 10,265,627: Virtual reality simulation of a live-action sequence
Issued April 23, 2019 to Centurion VR, LLC
Priority Date June 22, 2017
Summary:
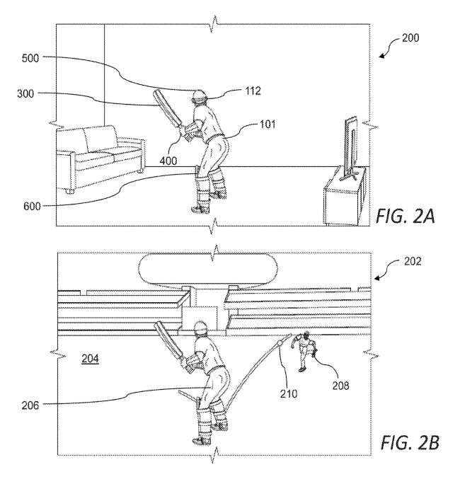
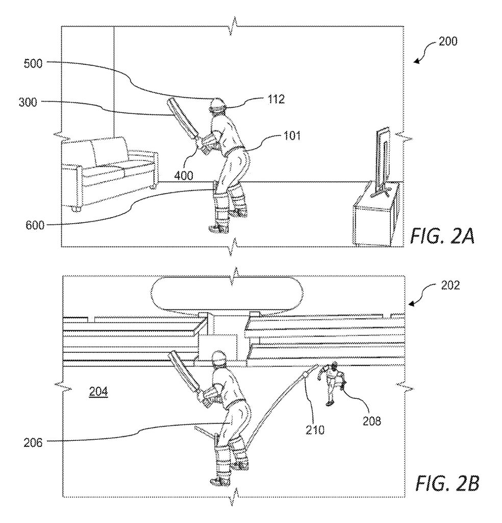
U.S. Patent No. 10,265,627 (the ‘627 Patent) relates to virtual reality simulation and more specifically to devices for use in a virtual reality sports simulation. The accessory used for interacting with a virtual reality environment may provide the user with haptic feedback that emulates sensations the user would experience when playing a live-action sport to provide the user with a more meaningful and realistic experience when playing the virtual reality game. The simulation may proceed by presenting the user as an avatar of the real-world player. Similarly, the live-action sequence could be a recording of a completed sporting event that the user could then reproduce in the virtual reality environment. This enhanced level of realism based on actual physical reproductions results in a level of realism and authenticity above the base virtual simulation experience.
Abstract:
The present disclosure generally relates to virtual reality simulation, and more specifically, in some implementations, to devices, systems, and methods for use in a virtual reality sports simulation. A system for virtual reality simulation may include an accessory (e.g., one or more of a bat, a glove, or a helmet) for interacting with a virtual reality environment. The accessory may provide the user with haptic feedback that emulates sensations that the user would experience when playing a live-action sport to provide the user with a more meaningful and realistic experience when playing a virtual reality game. Further, virtual reality simulations disclosed herein may include incorporating data from a live-action event (e.g., a live-action sporting event) into a virtual reality environment to provide a user with a realistic experience.
Illustrative Claim:
1. A virtual reality simulation method, the method comprising: generating a virtual reality environment including a virtual player in a setting; receiving projectile data indicative of movement of a projectile launched by a player in a live-action sequence; based on the projectile data, identifying a release point of the projectile by the player in the live-action sequence; determining a motion of the virtual player in the virtual reality environment based on the projectile data and the release point; on a display of the virtual reality environment viewable by a user, displaying the virtual player moving according to the motion and a graphical representation of the projectile moving according to a temporal series of locations of the projectile; and altering a path of the graphical representation of the projectile in the virtual reality environment from a trajectory included in the projectile data based on one or more parameters that differ between the live-action sequence and the setting of the virtual reality environment, the one or more parameters including at least one of a playing surface, weather, a lighting condition, a physical attribute of the user, and a physical attribute of the virtual player.
