Activision Publishing Inc

Patent Analysis

U.S. Patent No. 10,974,150: Methods and systems for improved content customization in multiplayer gaming environments

U.S. Patent No. 10,974,150: Methods and systems for improved content customization in multiplayer gaming environments Issued April 13, 2021 to Activision Publishing Inc.Filed/Priority to September 27, 2017 Overview: U.S. Patent No. 10,974,150…

10974150 Activision Publishing Activision Publishing Inc content customization
Patent Analysis

U.S. Patent No. 10,376,793: Videogame system and method that enables characters to earn virtual fans by completing secondary objectives

U.S. Patent No. 10,376,793: Videogame system and method that enables characters to earn virtual fans by completing secondary objectives Issued August 13, 2019, to Activision Publishing Inc. Filed: August 22, 2017 (claiming…

10376793 Activision Publishing Inc fan objective fanbase
Patent Analysis

U.S. Patent No. 10,546,406: User Generated Character Animation

U.S. Patent No. 10,546,406: User Generated Character Animation Issued January 28, 2020, to Activision Publishing Inc.Filed/Priority to May 9, 2016 Overview: U.S. Patent No. 10,546,406 (the ‘406 patent) relates to using player-made…

10546406 activision Activision Publishing Activision Publishing Inc
Patent Analysis

U.S. Patent No. 10,765,955: Video game notifications for streaming games

U.S. Patent No. 10,765,955: Video game notifications for streaming games Issued September 8, 2020, to Activision Publishing Inc.Filed: April 23, 2018 (claiming priority to December 27, 2017) Overview: U.S. Patent No. 10,765,955…

10765955 activision Activision Publishing Activision Publishing Inc
Patent Analysis

U.S. Patent No. 10,709,981: Systems and methods for the real-time generation of in-game, locally accessible barrier-aware heatmaps

U.S. Patent No. 10,709,981: Systems and methods for the real-time generation of in-game, locally accessible barrier-aware heatmaps Issued July 14, 2020 to Activision Publishing Inc.Filed: December 5, 2018 (claiming priority to November…

10709981 Activision Publishing Activision Publishing Inc generating blurred heatmap
Patent Analysis

U.S. Patent No. 10,991,110: Methods and Systems to Modify a Two Dimensional Facial Image to Increase Dimensional Depth and Generate a Facial Image That Appears Three Dimensional

U.S. Patent No. 10,991,110: Methods and Systems to Modify a Two Dimensional Facial Image to Increase Dimensional Depth and Generate a Facial Image That Appears Three Dimensional Issued April 27, 2021 to…

10055880 10991110 2D 3D
Lawsuits

Lawsuit Update: Jury Finds No Copyright Infringement of Wrestler’s Poster in Black Ops 4 Poster

Lawsuit Update: Jury Finds No Copyright Infringement of Wrestler’s Poster in Black Ops 4 Poster Huffman v. Activision Publ’g, Inc.2:19-cv-00050Filed February 12, 2019 Professional wrestler Booker T. Huffman (“Huffman”), who wrestles as…

activision Activision Publishing Activision Publishing Inc Black Ops
Patent Analysis

U.S. Patent No. 10,493,363: Reality-based video game elements

U.S. Patent No. 10,493,363: Reality-based video game elements Issued December 3, 2019 to Activision Publishing Inc. Priority Date: November 9, 2016 Summary: U.S. Patent No. 10,493,363 (the ’363 Patent) relates to using…

10493363 Activision Publishing Inc overlay reality-based
Patent Analysis

U.S. Patent No. 10,471,348: System and method for creating and sharing customized video game weapon configurations in multiplayer video games via one or more social networks

U.S. Patent No. 10,471,348: System and method for creating and sharing customized video game weapon configurations in multiplayer video games via one or more social networks Issued November 12, 2019 to Activision…

10471348 Activision Publishing Inc Call of Duty customize
Patent Analysis

U.S. Patent No. 10,561,953: Interactive video game system comprising toys with rewritable memories

U.S. Patent No. 10,561,953: Interactive video game system comprising toys with rewritable memories Issued February 18, 2020 to Activision Publishing Inc. Priority Date: December 20, 2013 Summary: U.S. Patent No. 10,561,953 (the…

10561953 Activision Publishing Inc rewritable memory toy
Lawsuits

Jury to Decide if Call of Duty: Black Ops 4 Image Infringes Wrestler’s Poster

Jury to Decide if Call of Duty: Black Ops 4 Image Infringes Wrestler’s Poster Huffman v. Activision Publishing, Inc. Case No. 2:19-cv-00050 United States District Court for the Eastern District of Texas…

Activision Publishing Inc Black Ops Booker T. Call of Duty
Patent Analysis

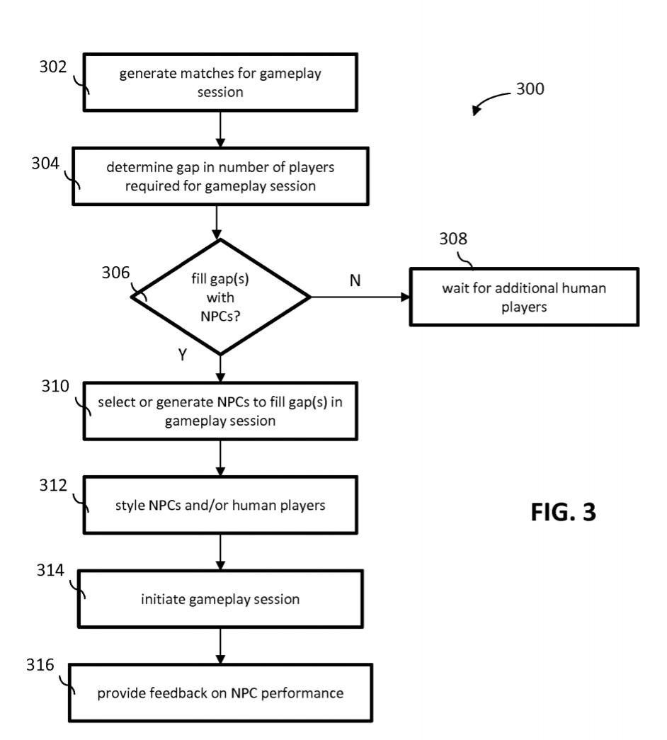
U.S. Patent No. 10,668,381: System and method for transparently styling non-player characters in a multiplayer video game

U.S. Patent No. 10,668,381: System and method for transparently styling non-player characters in a multiplayer video game Issued June 2, 2020 to Activision Publishing Inc. Priority Date: December 15, 2014 Summary: U.S.…

10668381 Activision Publishing Inc creation Non-player character
Patent Analysis

U.S. Patent No. 10,441,876: Video game integrating recorded video

U.S. Patent No. 10,441,876: Video game integrating recorded video Issued: October 15, 2019, to Activision Publishing Inc. Priority Date December 20, 2013   Summary: U.S. Patent No. 10,441,876 (the ‘876 Patent) relates…

10441876 Activision Publishing Inc music Recorded Video
Patent Analysis

U.S. Patent no. 9,492,740: Remote and/or distributed equipping of video game characters

U.S. Patent no. 9,492,740: Remote and/or distributed equipping of video game characters Issued November 15, 2016 to Activision Publishing, Inc. Priority Date June 7, 2012 Summary: U.S. Patent No. 9,492,740 (the ‘740…

9492740 Activision Publishing Inc Character customization Character modification
Patent Analysis

U.S. Patent no. 10,029,177: System and method for a videogame with a secondary metagame

U.S. Patent no. 10,029,177: System and method for a videogame with a secondary metagame Issued July 24, 2018 to Activision Publishing, Inc. Priority Date November 5, 2013 Summary: U.S. Patent No. 10,029,177…

10029177 Activision Publishing Inc handheld devices metagame
Patent Analysis

U.S. Patent no. 10,322,351: Matchmaking system and method for multiplayer video games

U.S. Patent no. 10,322,351: Matchmaking system and method for multiplayer video games Issued June 18, 2019 to Activision Publishing, Inc. Priority Date July 3, 2014 Summary: U.S. Patent No. 10,322,351 (the ‘351…

10322351 Activision Publishing Inc Matchmaking Matchmaking system and method for multiplayer video games
Patent Analysis

U.S. Patent no. 10,315,119: Video game with concurrent processing of game-related physical objects

U.S. Patent no. 10,315,119: Video game with concurrent processing of game-related physical objects Issued June 11, 2019, to Activision Publishing, Inc. Priority Date May 17, 2011 Summary: U.S. Patent No. 10,315,119 (the…

10315119 Activision Publishing Inc patent Skylanders
Patent Analysis

U.S. Patent no. 10,315,113: System and method for simulating gameplay of nonplayer characters distributed across networked end user devices

U.S. Patent no. 10,315,113: System and method for simulating gameplay of nonplayer characters distributed across networked end user devices Issued June 11, 2019 to Activision Publishing, Inc. Priority Date May 14, 2015…

10315113 Activision Publishing Inc patent System and method for simulating gameplay of nonplayer characters distributed across networked end user devices
Patent Analysis

U.S. Patent no. 10,286,326: Soft reservation system and method for multiplayer video games

U.S. Patent no. 10,286,326: Soft reservation system and method for multiplayer video games Issued May 14, 2019, to Activision Publishing, Inc. Priority Date July 3, 2014 Summary: U.S. Patent No. 10,286,326 (the…

10286326 Activision Publishing Inc Matchmaking patent
Patent Analysis

U.S. Patent no. 10,286,314: System and method for providing continuous gameplay in a multiplayer video game through an unbounded gameplay session

U.S. Patent no. 10,286,314: System and method for providing continuous gameplay in a multiplayer video game through an unbounded gameplay session Issued May 14, 2019 to Activision Publishing, Inc. Priority Date May…

10286314 Activision Publishing Inc patent System and method for providing continuous gameplay in a multiplayer video game through an unbounded gameplay session