Posts

Lawsuits

Nintendo ROM Distributor Owes Over $2 Million After Summary Judgement

Nintendo ROM Distributor Owes Over $2 Million After Summary Judgement Nintendo of America, Inc. v. Matthew Storman United States District Court for the Central District of California Case No. CV 19-7818 Filed:…

Copyright Lanham Act Nintendo Nintendo Switch
Patent Analysis

U.S. Patent No. 10,965,964: System and methods for integrated multistreaming of media with graphical overlays

U.S. Patent No. 10,965,964: System and methods for integrated multistreaming of media with graphical overlays Issued March 3, 2021, to Logitech Europe SA Filed/Priority to February 20, 2018 Overview: U.S. Patent No.…

10965964 Logitech multistreaming overlay
Lawsuits

Updates on Epic Games’ Antitrust Battle: Stayed in Australia, Date for Google, and an Uncertain Verdict Awaits

Updates on Epic Games’ Antitrust Battle: Stayed in Australia, Date for Google, and an Uncertain Verdict Awaits Epic Games, Inc. v. Apple Inc.Filed August 13, 2020United States District Court for the Northern…

Apple Epic Epic Games Epic Games v. Apple
Patent Analysis

U.S. Patent No. 10,449,440: Interactive voice-controlled companion application for a video game

U.S. Patent No. 10,449,440: Interactive voice-controlled companion application for a video game Issued October 22, 2019 to Electronic Arts Inc. Priority Date: June 30, 2017 Summary: U.S. Patent No. 10,449,440 (the ’440…

10449440 companion application Electronic Arts Inc. remote
Patent Analysis

U.S. Patent No. 10,632,385: Systems and methods for capturing participant likeness for a video game character

U.S. Patent No. 10,632,385: Systems and methods for capturing participant likeness for a video game character Issued April 28, 2020 to Electronic Arts Inc. Priority Date: January 27, 2016 Summary: U.S. Patent…

10632385 Electronic Arts Inc. game character image
Patent Analysis

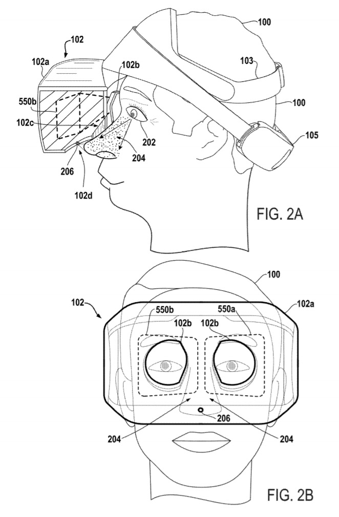
U.S. Patent No. 10,395,428: HMD transitions for focusing on specific content in virtual-reality environments

U.S. Patent No. 10,395,428: HMD transitions for focusing on specific content in virtual-reality environments Issued August 27, 2019 to Sony Interactive Entertainment Inc. Priority Date: June 13, 2016 Summary: U.S. Patent No.…

10395428 focus HMD Sony Interactive Entertainment Inc
Patent Analysis

U.S. Patent No. 10,688,390: Crowd-sourced cloud gaming using peer-to-peer streaming

U.S. Patent No. 10,688,390: Crowd-sourced cloud gaming using peer-to-peer streaming Issued June 23, 2020 to Sony Interactive Entertainment LLC Priority Date: November 5, 2018 Summary: U.S. Patent No. 10,688,390 (the ’390 Patent)…

10688390 cloud crowd sourced peer-to-peer
Patent Analysis

U.S. Patent No. 10,493,363: Reality-based video game elements

U.S. Patent No. 10,493,363: Reality-based video game elements Issued December 3, 2019 to Activision Publishing Inc. Priority Date: November 9, 2016 Summary: U.S. Patent No. 10,493,363 (the ’363 Patent) relates to using…

10493363 Activision Publishing Inc overlay reality-based
Patent Analysis

U.S. Patent No. 10,665,265: Event reel generator for video content

U.S. Patent No. 10,665,265: Event reel generator for video content Issued May 26, 2020 to Sony Interactive Entertainment America LLC Priority Date: February 2, 2018 Summary: U.S. Patent No. 10,665,265 (the ’265…

10665265 compilation event reel highlight reel
Patent Analysis

U.S. Patent No. 10,636,217: Integration of tracked facial features for VR users in virtual reality environments

U.S. Patent No. 10,636,217: Integration of tracked facial features for VR users in virtual reality environments Issued April 28, 2020 to Sony Interactive Entertainment Inc. Priority Date: September 30, 2016 Summary: U.S.…

10636217 eye gaze facial features head-mounted display
Lawsuits

Updates on Epic Games’ Antitrust Battle: Fight Over Witnesses and UK Expansion

Updates on Epic Games’ Antitrust Battle: Fight Over Witnesses and UK Expansion Epic Games, Inc. v. Apple Inc. Filed August 13, 2020 United States District Court for the Northern District of California…

Antitrust App Store Apple Inc. Epic Games Inc.
Lawsuits

Supreme Court Rules Google’s Copying of Oracle’s Java SE API is Fair Use

Supreme Court Rules Google’s Copying of Oracle’s Java SE API is Fair Use Google LLC v. Oracle America, Inc. Case No. 18-956 United States Supreme Court Decided April 5, 2021    On…

declaring code Fair Use Google LLC implementing code
Patent Analysis

U.S. Patent No. 10,512,846: Emulating player behavior after player departure

U.S. Patent No. 10,512,846: Emulating player behavior after player departure Issued December 24, 2019 to Sony Interactive Entertainment LLC Priority Date: March 7, 2017 Summary: U.S. Patent No. 10,512,846 (the ’846 Patent) relates…

10512846 autopilot emulating missing player
Patent Analysis

U.S. Patent No. 10,471,348: System and method for creating and sharing customized video game weapon configurations in multiplayer video games via one or more social networks

U.S. Patent No. 10,471,348: System and method for creating and sharing customized video game weapon configurations in multiplayer video games via one or more social networks Issued November 12, 2019 to Activision…

10471348 Activision Publishing Inc Call of Duty customize
Patent Analysis

U.S. Patent No. 10,668,382: Augmenting virtual reality video games with friend avatars

U.S. Patent No. 10,668,382: Augmenting virtual reality video games with friend avatars Issued June 2, 2020 to Sony Interactive Entertainment America LLC Priority Date: September 29, 2017 Summary: U.S. Patent No. 10,668,382…

10668382 augment avatar Sony Interactive Entertainment America LLC
Patent Analysis

U.S. Patent No. 10,427,047: Identifying player engagement to generate contextual game play assistance

U.S. Patent No. 10,427,047: Identifying player engagement to generate contextual game play assistance Issued October 1, 2019 to Sony Interactive Entertainment LLC Priority Date: January 8, 2018 Summary: U.S. Patent No. 10,427,047…

10427047 contextual help hints
Lawsuits

Lawsuit Against Google for Alleged Illegal Gambling Through Loot Boxes Dismissed with Leave to Amend

Lawsuit Against Google for Alleged Illegal Gambling Through Loot Boxes Dismissed with Leave to Amend Coffee, et al. v. Google, LLC Case No. 20-cv-03901 United States District Court for the Northern District…

Casino class action Coffee digital currency
Patent Analysis

U.S. Patent No. 10,569,164: Augmented reality (AR) system for providing AR in video games

U.S. Patent No. 10,569,164: Augmented reality (AR) system for providing AR in video games Issued February 25, 2020 to Valve Corp. Priority Date: September 26, 2018 Summary: U.S. Patent No. 10,569,164 (the…

10569164 AR augmented reality Valve Corp.
Patent Analysis

U.S. Patent No. 10,561,953: Interactive video game system comprising toys with rewritable memories

U.S. Patent No. 10,561,953: Interactive video game system comprising toys with rewritable memories Issued February 18, 2020 to Activision Publishing Inc. Priority Date: December 20, 2013 Summary: U.S. Patent No. 10,561,953 (the…

10561953 Activision Publishing Inc rewritable memory toy
Lawsuits

Default Judgment Entered Against Seller of Nintendo Switch Jailbreak

Default Judgment Entered Against Seller of Nintendo Switch Jailbreak Nintendo of America Inc. v. Minh Case No. 2:20-cv-01707 United States District Court for the Western District of Washington Filed November 18, 2020…

Circumvent DMCA Jailbreak Minh