28th Anniversary of Magic: The Gathering – A discussion of IP Considerations – Part One

28th Anniversary of Magic: The Gathering – A discussion of IP Considerations – Part One

By Sandy Rokhlin*

Magic: The Gathering (“MTG”) has been around for nearly 30 years, with a new edition released about every year. MTG was the first collectible card game (“CCG”) or trading card game (“TCG”) and MTG cards all credit the artists behind their artwork. To celebrate the 28th anniversary of MTG, over the next few weeks we will be taking a look at some of the intellectual property surrounding the game on Magic Mondays.

 

 The Collectible Card Game Model

MTG was the first CCG and TCG, and the game model has taken off since MTG’s release. The CCG model is a card game that combines deck building with collectible trading cards, often offering starting decks which players abandon as they become more advanced in the game. The model also encourages buying card packs, which may or may not contain a card that a particular player is hoping for. This has also generated the phenomena of some cards having high resale value, and quickly rising and dropping values of cards as the game meta changes. CCGs created a highly addictive, and sometimes profitable, method of purchasing cardboard!

Tons of famous titles have made CCGs and TCGs such as: Kingdom Hearts, My Little Pony, Battlestar Galactica, and Power Rangers. Over the pandemic CCGs grew in popularity (including sport CCGs), with Hasbro Inc. (“Hasbro”) reporting that 2020 was actually the most profitable year ever for MTG.

MTG by no means had the largest boom in comparison to Pokémon trading cards and sports trading cards but something about the pandemic has caused some collectors to start selling and buying cards at a much greater rate. Pokémon’s spike was likely started by Logan Paul’s well-publicized purchasing of vintage Pokémon cards, and many other popular streamers and YouTubers have joined the trend. Perhaps being stuck at home combined with seeing the excitement of internet personalities helped Pokémon trading cards boom in popularity as intensely as they have. CCG creators will want to maintain steam as the pandemic subsides, so they might try new techniques. For example, integration of card purchase information into game livestreams can be seen in this patent, which we will cover soon.

Well before the pandemic, CCGs expanded into digital gaming, MTG having two digital versions: Magic: The Gathering Online which was released in 2002, and Magic: The Gathering Arena released in 2019. Both of these digital games are updated with new releases and rules as they come out in the physical version of MTG.

To this day MTG still holds one of the most famous examples of a highly valuable collectors’ item: the Black Lotus card.

As recently as January 2021, a Black Lotus signed by the artist sold for over half a million dollars.

 

The “Tapping” Patent
Issued September 2, 1997, to Wizards of the Coast LLC
Filed: October 17, 1995 (claiming priority to June 22, 1994)

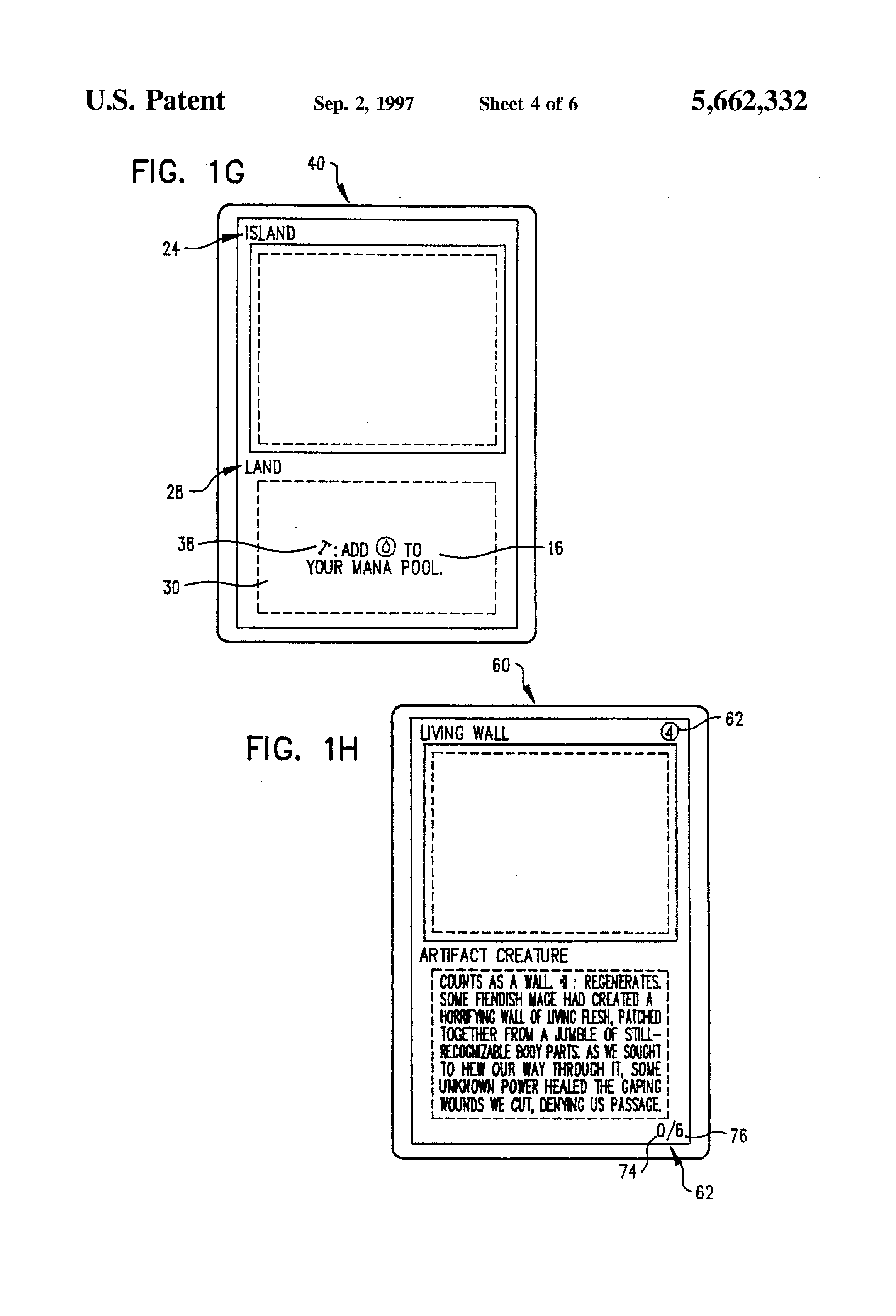
In 1995, Wizards of the Coast (“WotC”) filed a patent application for what eventually became U.S. Patent No. 5,662,332 (the ‘332 patent), which detailed broad MTG game rules. The ‘332 patent covers a method of playing games with two or more players, with deck construction, shuffling, drawing, playing, discarding, and general turn sequence in accordance with undisclosed game rules. It also covers turning cards to indicate a state of use, which is known as tapping. The ‘332 patent does not go into detail concerning MTG’s actual five phases of play, the steps in the phases, nor the arrangement of a play space.

Though some games like Monopoly and Twister have patents, it has become more challenging to patent game rules under 35 U.S.C. § 101 (the section of US law that defines patent-eligible subject matter) in the wake of Alice v. CLS Bank, a 2014 Supreme Court case. Alice articulated limits on patent-eligible subject matter and since then, courts have interpreted section 101 to place stricter limits on patenting abstract ideas. The ‘332 patent predates Alice, and WotC tried to enforce the ‘332 patent against The Pokémon Company in a lawsuit in 2003, resulting in a settlement. Alice was decided in 2014, so it is unlikely patent subject matter eligibility under 35 U.S.C. § 101 was seriously challenged at the time of the Pokémon lawsuit. And, WotC again tried to enforce the ‘332 patent in 2015 against a company called Cryptozoic Entertainment over a crowdfunded game. Because the lawsuits were settled out of court the ‘332 patent’s validity was never officially challenged before it expired.

In the 2018 case, In Re: Marco Guldenaar Holding B.V., the Federal Circuit affirmed that abstract rules for playing a game are patent-ineligible, but not that game rules are always per se patent-ineligible. Despite that game rules are not necessarily ineligible, the claims in the ‘332 patent would likely face heightened scrutiny following Alice. Ultimately, in the modern patent environment it would be more difficult for a patent like the ‘332 patent to be granted, and whether or not its claims are directed to patent-eligible subject matter or not has no practical effect because the ‘332 patent has since expired.

 

Artists & Royalties

Because each card has unique magic-inspired art, an interesting side effect of the game’s success is that the game has supported numerous artists over the years. Cards across the years have a huge variety of art styles, some becoming more valuable depending on the artwork, and the artists receiving recognition and payment for their work. Notably, every MTG card has the artist’s name printed on it.

Artists from the original Alpha set, and before 1999 (when WotC switched from a royalties payment model to a flat rate model), have gotten great benefits and in some cases even fame from their work on MTG. Royalties are paid to a copyright owner by a party using the owner’s copyright with the owner’s permission. Royalties, unlike flat rates, generate recurring payments and may include a percentage of net revenue (by varying calculations). A flat rate paid to an artist is a one-time payment, and in the case of MTG cards after 1999, involve the artist releasing nearly all of their rights in the artwork.

Many artists seek to work on art for MTG as a sign of having made it as a fantasy illustrator. Though Peter Mohrbacher, an artist behind some MTG artwork (for example Animar, Soul of Elements as seen above), has said that it may not be all it is cracked up to be because the artists do not get any part of the licensing or intellectual property ownership of their art. In his blog post, The problems with artist pay on magic, he lists three main issues with artist’s pay. The first issue is that after WotC switched from a royalty payment system, the flat rates (in his opinion) did not increase appropriately as time went on. The second issue is that artists cannot license their work; they cannot sell art printed on playmats or items, which means they cannot make extra income off of their art no matter how popular it may be, even if the players wish to support them. However, this is part of the bargain they made when selling their rights in the artwork, and perhaps is just an extension of the first issue. Though, artists can sell prints (on paper) of the artwork itself, so long as it is smaller than the original work. The third issue is that artists do not own the intellectual property of their art, meaning that it can be used years down the line and the artist will receive nothing. Again, however, this is part of the bargain made when selling the IP in the first place, and ultimately goes back to the first issue of whether the price the artist was paid was fair. The artist originally thought so, or apparently would not have agreed to create the art at all.

It is unknown if MTG artists assign their rights to their artwork via work for hire or an assignment. Anecdotally, artists like Peter Mohrbacher have used the term “work for hire” but this is unconfirmed. If the artists assign their rights via an assignment, it is possible for the artist to reclaim their work 35-40 years after the original assignment.

Work for hire copyrights were codified in the 1976 Copyright Act, which went into effect January 1st, 1978. Under the 1976 Copyright Act, works for hire were defined as (and limited to) a work made by an employee in the scope of his or her employment or a commissioned work of limited types, with a written contract explicitly indicating it was a work made for hire. The nine limited types eligible to be a work for hire by contract are: (1) a contribution to a collective work, (2) a part of a motion picture or other audiovisual work, (3) a translation, (4) a supplementary work, (5) a compilation, (6) an instructional text, (7) a test, (8) answer material for a test, or, (9) an atlas. Here, art for MTG cards might be considered (4) a supplementary work, or possibly (5) a compilation. The relevant definitions of these types of works for hire are:

“A “supplementary work” is a work prepared for publication as a secondary adjunct to a work by another author for the purpose of introducing, concluding, illustrating, explaining, revising, commenting upon, or assisting in the use of the other work, such as forewords, afterwords, pictorial illustrations, maps, charts, tables, editorial notes, musical arrangements, answer material for tests, bibliographies, appendixes, and indexes.” (emphasis added)

And,

“A “compilation” is a work formed by the collection and assembling of preexisting material or data that are selected, coordinated, or arranged in such a way that the resulting work as a whole constitutes an original work of authorship.” (For more information on the other artistic elements of MTG cards, not contributed by contracted artists, please check out this video).

Whether the work of illustrators for MTG are works for hire or not, Mohrbacher did not blame WotC in his post but sought to raise awareness among fans of MTG, that their purchases may not be supporting artists to the extent that fans believe. Ultimately, MTG has given a handful of artists some wonderful opportunities, but being a skilled artist still has its challenges.

This post is the first in our Magic: The Gathering Intellectual Property series. Come back next Magic Monday for Card Alterations & Counterfeits, and the week following for Promissory Estoppel and The Reserved List as well as What’s Next for MTG!

 

*Sandy Rokhlin is a 2L law student at the George Washington University Law School, and the Research Assistant for the Patent Arcade blog. Nothing here should be construed as legal advice, only a consideration of IP surrounding MTG. The views expressed herein are her own, and should not be attributed to Banner Witcoff or any of its clients.