Results for the query

Showing matches for "Square Enix".

184 records found

Figure Patent No. Title Assignee Issue Date
U.S. Pat. No. 12,296,263 U.S. Pat. App. No. 17/931,856 NON-TRANSITORY COMPUTER-READABLE MEDIUM AND VIDEO GAME PROCESSING SYSTEM Square Enix Co., LTD. September 13, 2022
U.S. Pat. No. 12,257,505 U.S. Pat. App. No. 17/887,868 VIDEO GAME WITH COACHING SESSION SQUARE ENIX LIMITED August 15, 2022
U.S. Pat. No. 12,138,539 U.S. Pat. App. No. 17/772,438 INTERACTIONS BETWEEN CHARACTERS IN VIDEO GAMES SQUARE ENIX LTD. April 27, 2022
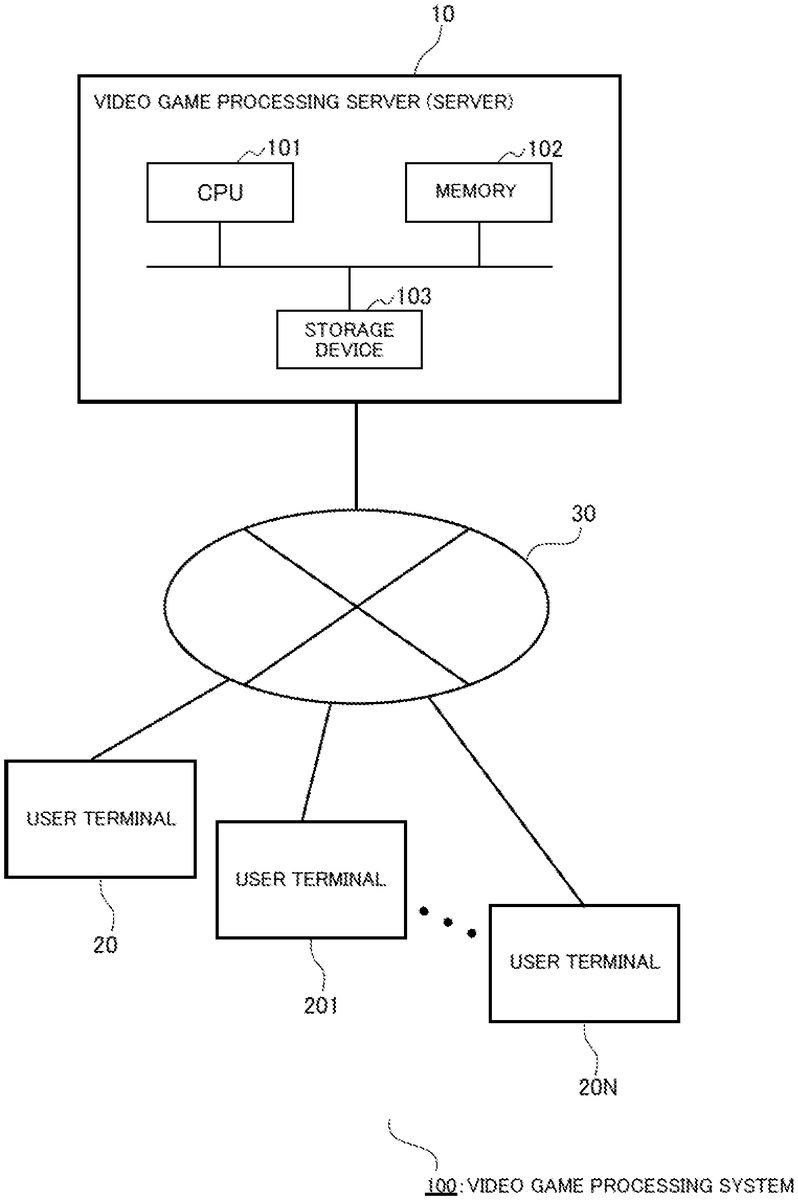
U.S. Pat. No. 11,986,735 U.S. Pat. App. No. 17/659,559 NON-TRANSITORY COMPUTER-READABLE MEDIUM AND VIDEO GAME PROCESSING SYSTEM SQUARE ENIX CO., LTD. April 18, 2022
U.S. Pat. No. 11,878,248 U.S. Pat. App. No. 17/545,703 Non-Transitory Computer-Readable Medium And Video Game Processing System SQUARE ENIX CO., LTD. December 8, 2021
U.S. Pat. No. 11,806,617 U.S. Pat. App. No. 17/545,660 Non-Transitory Computer-Readable Medium And Video Game Processing System SQUARE ENIX CO., LTD. December 8, 2021
U.S. Pat. No. 12,109,491 U.S. Pat. App. No. 17/544,278 METHOD AND SYSTEM FOR PROVIDING TACTICAL ASSISTANCE TO A PLAYER IN A SHOOTING VIDEO GAME SQUARE ENIX LIMITED December 7, 2021
U.S. Pat. No. 11,654,360 U.S. Pat. App. No. 17/455,964 NON-TRANSITORY COMPUTER-READABLE MEDIUM AND VIDEO GAME PROCESSING SYSTEM SQUARE ENIX CO., LTD. November 22, 2021
U.S. Pat. No. 12,141,614 U.S. Pat. App. No. 17/499,239 SCENE ENTITY PROCESSING USING FLATTENED LIST OF SUB-ITEMS IN COMPUTER GAME Square Enix Ltd. October 12, 2021
U.S. Pat. No. 11,794,106 U.S. Pat. App. No. 17/449,575 NON-TRANSITORY COMPUTER-READABLE MEDIUM AND VIDEO GAME PROCESSING SYSTEM SQUARE ENIX CO., LTD. September 30, 2021

Disclaimer: Data collected from the USPTO and may be malformed, incomplete, and/or otherwise inaccurate.