Results for the query

Showing matches for "A63F13/24".

530 records found

Figure Patent No. Title Assignee Issue Date
U.S. Pat. No. 7,252,588 U.S. Pat. App. No. 10/148,390 SPORT VIDEO GAME MACHINE AND PLAY CONTROL METHOD OF SPORT VIDEO GAME Namco Bandai Games Inc. May 31, 2002
U.S. Pat. No. 7,014,562 U.S. Pat. App. No. 10/148,385 VIDEO GAME MACHINE AND AFTER-IMAGE DISPLAY METHOD OF VIDEO GAME MACHINE Namco Ltd. May 31, 2002
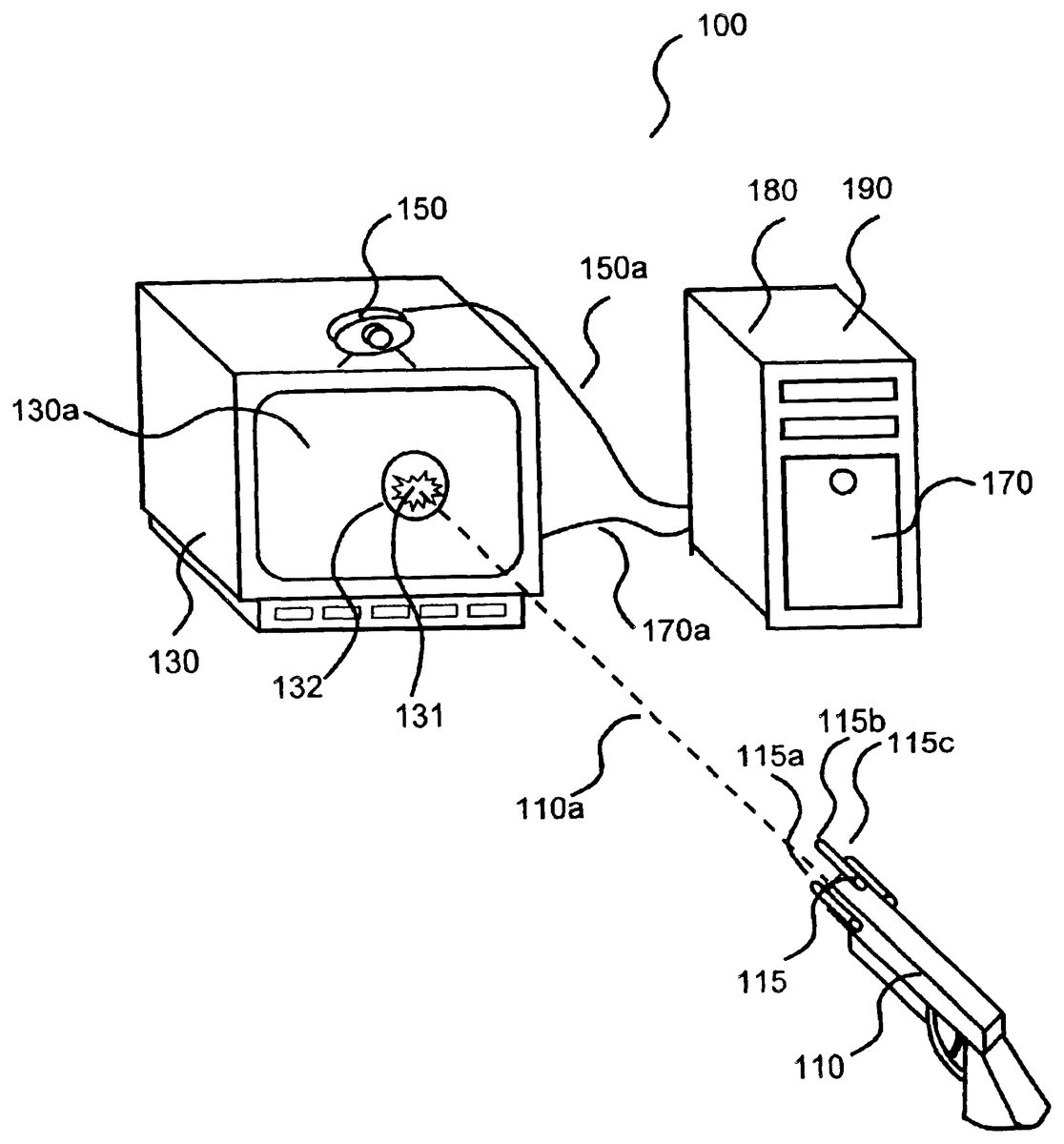
U.S. Pat. No. 6,929,548 U.S. Pat. App. No. 10/128,623 APPARATUS AND A METHOD FOR MORE REALISTIC SHOOTING VIDEO GAMES ON COMPUTERS OR SIMILAR DEVICES Unknown assignee April 23, 2002
U.S. Pat. No. 6,902,483 U.S. Pat. App. No. 10/114,904 HANDHELD ELECTRONIC GAME DEVICE HAVING THE SHAPE OF A GUN Individual April 1, 2002
U.S. Pat. No. 7,001,272 U.S. Pat. App. No. 10/106,259 VIDEO GAME DEVICE, VIDEO GAME METHOD, VIDEO GAME PROGRAM, AND VIDEO GAME SYSTEM Konami Corporation March 27, 2002
U.S. Pat. No. 6,743,099 U.S. Pat. App. No. 10/051,978 VIDEO GAME MACHINE, PLAYER CHARACTER ACTION CONTROL METHOD, AND VIDEO GAME PROGRAM Unknown assignee January 29, 2002
U.S. Pat. No. 6,846,237 U.S. Pat. App. No. 10/056,427 ENTERTAINMENT SYSTEM, ENTERTAINMENT APPARATUS, RECORDING MEDIUM, AND PROGRAM Sony January 23, 2002
U.S. Pat. No. 6,557,853 U.S. Pat. App. No. 10/038,746 STRAP DEVICE FOR USE WITH A VIDEO GAME Unknown assignee January 1, 2002
U.S. Pat. No. 6,921,332 U.S. Pat. App. No. 10/015,110 MATCH-STYLE 3D VIDEO GAME DEVICE AND CONTROLLER THEREFOR Konami Corporation November 13, 2001
U.S. Pat. No. 6,672,964 U.S. Pat. App. No. 09/973,117 VIDEO GAME WITH READILY DISTINGUISHABLE CHARACTERS DISPLAYING THE CHARACTER'S LINE OF SIGHT Unknown assignee October 10, 2001

Disclaimer: Data collected from the USPTO and may be malformed, incomplete, and/or otherwise inaccurate.