Results for the query

Showing matches for "A63F2300/636".

74 records found

Figure Patent No. Title Assignee Issue Date
U.S. Pat. No. 8,727,882 U.S. Pat. App. No. 12/748,071 Game Controller That Converts Between Wireless Operation And Wired Operation Microsoft Corporation March 26, 2010
U.S. Pat. No. 8,882,582 U.S. Pat. App. No. 12/576,003 INTERACTIVE COMPUTER GAME REFRESHER ELEMENTS Disney Enterprises, Inc. October 8, 2009
U.S. Pat. No. 8,444,485 U.S. Pat. App. No. 12/536,363 SEAMLESS USER NAVIGATION BETWEEN HIGH-DEFINITION MOVIE AND VIDEO GAME IN DIGITAL MEDIUM Warner Bros. Entertainment Inc. August 5, 2009
U.S. Pat. No. 8,745,138 U.S. Pat. App. No. 12/410,184 METHOD, APPARATUS AND SYSTEM FOR JOINING ONLINE GAME Tencent Technology (Shenzhen) Company Ltd. March 24, 2009
U.S. Pat. No. 8,287,385 U.S. Pat. App. No. 12/441,134 GAME DEVICE, GAME PROCESSING METHOD, INFORMATION RECORDING MEDIUM, AND PROGRAM Konami Digital Entertainment Co Ltd March 12, 2009
U.S. Pat. No. 8,195,809 U.S. Pat. App. No. 12/395,930 MULTIGAME MULTIPLAYER PARTY SESSION Microsoft Technology Licensing LLC March 2, 2009
U.S. Pat. No. 8,162,754 U.S. Pat. App. No. 12/438,821 GAME DEVICE, NOTIFICATION METHOD, NON-TRANSITORY INFORMATION RECORDING MEDIUM AND PROGRAM FOR INFORMING DISPLACEMENT OF GAME CONTROLLER MAT Konami Digital Entertainment Co., Ltd February 25, 2009
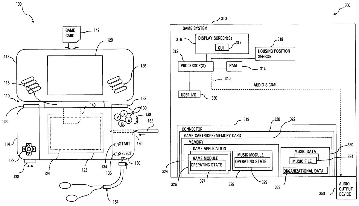
U.S. Pat. No. 8,851,992 U.S. Pat. App. No. 12/201,761 MUSIC PLAYER FOR VIDEO GAME CONSOLES AND ELECTRONIC DEVICES OPERABLE IN SLEEP OR POWER-SAVING MODES Disney Enterprises, Inc. August 29, 2008
U.S. Pat. No. 7,625,284 U.S. Pat. App. No. 12/139,880 SYSTEMS AND METHODS FOR INDICATING INPUT ACTIONS IN A RHYTHM-ACTION GAME Harmonix Music Systems, Inc. June 16, 2008
U.S. Pat. No. 7,637,812 U.S. Pat. App. No. 12/041,073 ELECTRONIC GAME HAVING AN AUTOMATIC CONTINUE FEATURE AMI Entertainment Network LLC March 3, 2008

Disclaimer: Data collected from the USPTO and may be malformed, incomplete, and/or otherwise inaccurate.