Results for the query

Showing matches for "A63F2300/1062".

94 records found

Figure Patent No. Title Assignee Issue Date
U.S. Pat. No. 9,056,255 U.S. Pat. App. No. 13/183,735 GAME CONTROLLER, GAME MACHINE, AND GAME SYSTEM USING THE GAME CONTROLLER TOSHIBA SAMSUNG STORAGE TECHNOLOGY KOREA CORPORATION July 15, 2011
U.S. Pat. No. 8,753,208 U.S. Pat. App. No. 13/152,705 SEQUENTIAL MODE AND MANUAL MODE SPEED CONTROLLER FOR VIDEO GAMES Guillemot Corporation June 3, 2011
U.S. Pat. No. 9,381,430 U.S. Pat. App. No. 13/109,959 INTERACTIVE VIDEO GAME USING GAME-RELATED PHYSICAL OBJECTS FOR CONDUCTING GAMEPLAY Activision Publishing, Inc. May 17, 2011
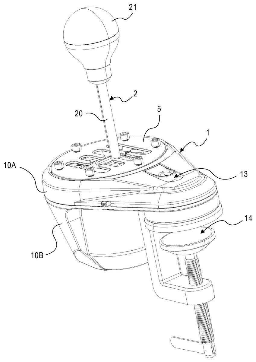
U.S. Pat. No. 8,672,758 U.S. Pat. App. No. 13/106,256 STEERING COLUMN GAME CONTROLLER Guillemot Corporation May 12, 2011
U.S. Pat. No. 8,920,240 U.S. Pat. App. No. 13/090,052 DIRECTIONAL GAME CONTROLLER Guillemot Corporation S.A. April 19, 2011
U.S. Pat. No. 8,042,811 U.S. Pat. App. No. 13/080,611 INFLATABLE VEHICLES FOR SIMULATING DRIVING FOR USE WITH VIDEO GAMES CTA Digital, Inc April 5, 2011
U.S. Pat. No. 8,550,915 U.S. Pat. App. No. 13/028,648 GAME CONTROLLER WITH ADAPTER DUPLICATING CONTROL FUNCTIONS Nintendo Co., Ltd. February 16, 2011
U.S. Pat. No. 8,419,541 U.S. Pat. App. No. 13/020,511 SMART SHELL TO A GAME CONTROLLER Sony Computer Entertainment Inc. February 3, 2011
U.S. Pat. No. 8,512,142 U.S. Pat. App. No. 12/926,653 GAME CONTROLLER HAVING A STEPPING EXERCISE PLATFORM AND A SLIDING PLATFORM Unknown assignee December 2, 2010
U.S. Pat. No. 9,662,558 U.S. Pat. App. No. 12/799,529 Computerized smart gaming tournament system for the internet Unknown assignee April 26, 2010

Disclaimer: Data collected from the USPTO and may be malformed, incomplete, and/or otherwise inaccurate.