Results for the query

Showing matches for "A63F13/10".

344 records found

Figure Patent No. Title Assignee Issue Date
U.S. Pat. No. 9,545,571 U.S. Pat. App. No. 12/020,137 METHODS AND APPARATUS FOR A VIDEO GAME MAGIC SYSTEM Nintendo Co., Ltd. January 25, 2008
U.S. Pat. No. 8,556,720 U.S. Pat. App. No. 12/014,003 SYSTEM AND METHOD FOR TOUCHSCREEN VIDEO GAME COMBAT Disney Enterprises, Inc. January 14, 2008
U.S. Pat. No. 9,095,776 U.S. Pat. App. No. 11/967,962 VIDEO GAME EXTREMITY CONTROL AND OBJECT INTERACTION Activision Publishing, Inc. December 31, 2007
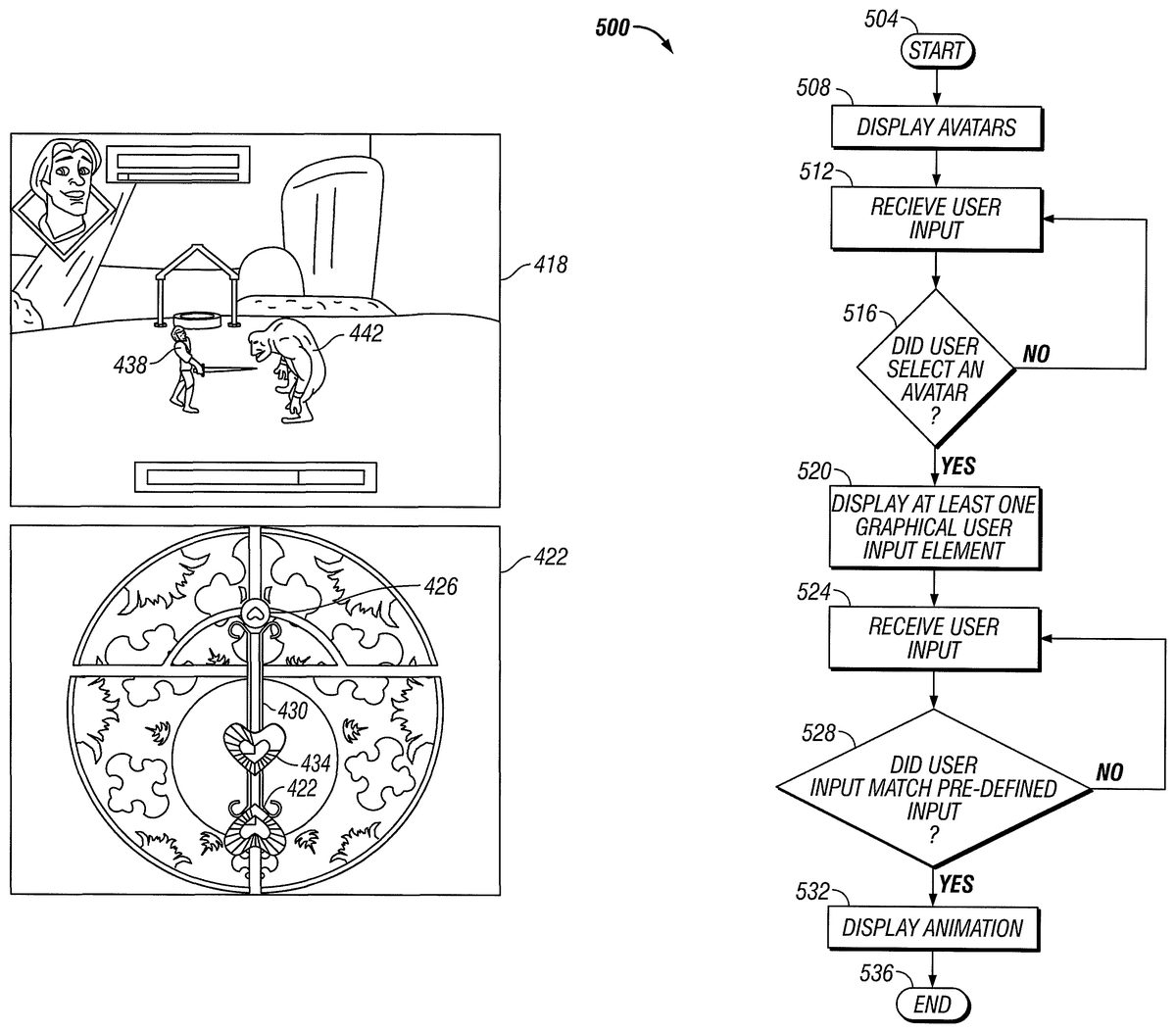
U.S. Pat. No. 8,547,396 U.S. Pat. App. No. 12/006,350 SYSTEMS AND METHODS FOR GENERATING PERSONALIZED COMPUTER ANIMATION USING GAME PLAY DATA Individual December 31, 2007
U.S. Pat. No. 8,151,191 U.S. Pat. App. No. 11/952,598 MANAGING OBJECTIONABLE MATERIAL IN 3D IMMERSIVE VIRTUAL WORLDS Activision Publishing Inc December 7, 2007
U.S. Pat. No. 8,219,388 U.S. Pat. App. No. 11/916,689 USER VOICE MIXING DEVICE, VIRTUAL SPACE SHARING SYSTEM, COMPUTER CONTROL METHOD, AND INFORMATION STORAGE MEDIUM Konami Digital Entertainment Co., Ltd. December 6, 2007
U.S. Pat. No. 8,282,484 U.S. Pat. App. No. 11/928,014 VIDEO GAME PROCESSING APPARATUS, VIDEO GAME PROCESSING METHOD AND VIDEO GAME PROCESSING PROGRAM Kabushiki Kaisha Square Enix October 30, 2007
U.S. Pat. No. 8,162,753 U.S. Pat. App. No. 11/868,107 VIDEO GAME PROVIDING SIMULATED DISC JOCKEY EXPERIENCE Electronic Arts Inc. October 5, 2007
U.S. Pat. No. 8,491,365 U.S. Pat. App. No. 11/866,433 SPORTS VIDEO GAME WITH ENHANCED CONTROL FEATURES Nintendo Co., Ltd. October 3, 2007
U.S. Pat. No. 9,968,850 U.S. Pat. App. No. 11/898,864 System for providing virtual spaces for access by users Disney Enterprises Inc September 17, 2007

Disclaimer: Data collected from the USPTO and may be malformed, incomplete, and/or otherwise inaccurate.