Results for the query

Showing matches for "Konami Digital Entertainment Co Ltd".

19 records found

Figure Patent No. Title Assignee Issue Date
U.S. Pat. No. 9,779,586 U.S. Pat. App. No. 14/262,206 GAME SERVER, CONTROL METHOD THEREFOR, AND COMPUTER READABLE RECORDING MEDIUM Konami Digital Entertainment Co Ltd April 25, 2014
U.S. Pat. No. 9,600,972 U.S. Pat. App. No. 14/260,955 GAME SYSTEM, GAME SERVER THEREFOR, CONTROL METHOD FOR GAME SERVER, AND COMPUTER READABLE RECORDING MEDIUM Konami Digital Entertainment Co Ltd April 24, 2014
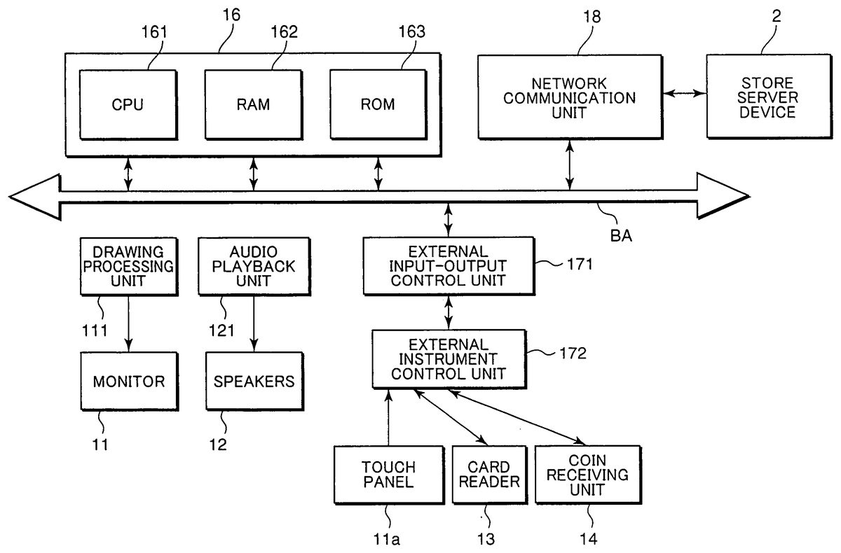
U.S. Pat. No. 8,408,999 U.S. Pat. App. No. 13/051,553 Game Apparatus, Game Processing Method, and Information Recording Medium Konami Digital Entertainment Co Ltd March 18, 2011
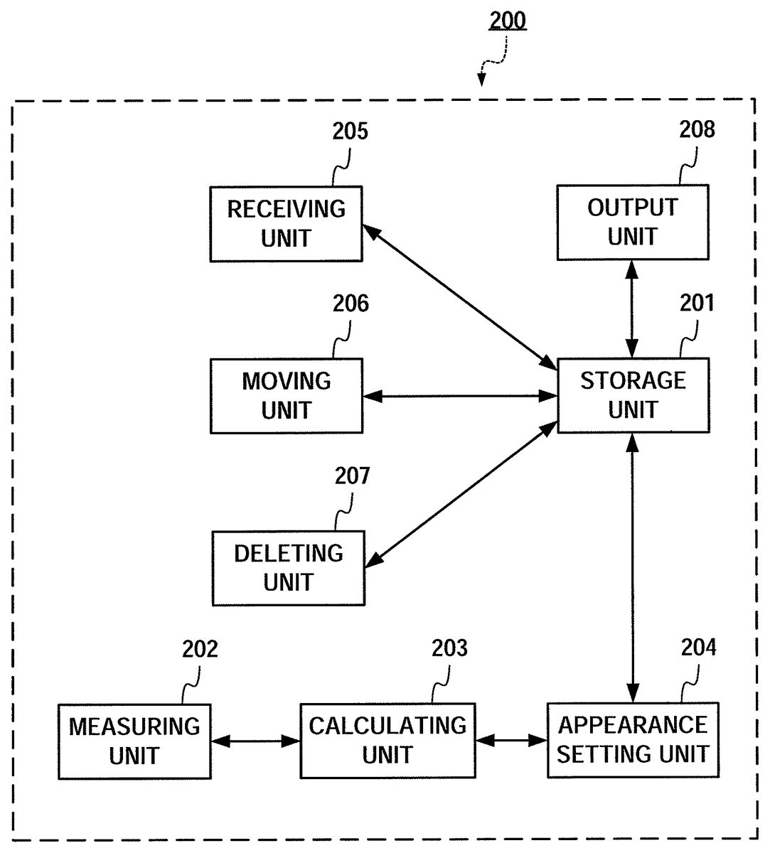
U.S. Pat. No. 8,298,080 U.S. Pat. App. No. 12/856,368 VIRTUAL SPACE DISPLAY DEVICE, VIEWPOINT SETTING METHOD, AND INFORMATION RECORDING MEDIUM Konami Digital Entertainment Co Ltd August 13, 2010
U.S. Pat. No. 8,409,008 U.S. Pat. App. No. 12/279,696 GAME SERVER, BYSTANDER EVALUATING METHOD, INFORMATION RECORDING MEDIUM, AND PROGRAM Konami Digital Entertainment Co Ltd August 3, 2010
U.S. Pat. No. 8,360,836 U.S. Pat. App. No. 12/830,642 GAMING DEVICE, GAME PROCESSING METHOD AND INFORMATION MEMORY MEDIUM Konami Digital Entertainment Co Ltd July 6, 2010
U.S. Pat. No. 8,360,891 U.S. Pat. App. No. 12/809,970 GAME DEVICE, GAME PROCESSING METHOD, INFORMATION RECORDING MEDIUM, AND PROGRAM Konami Digital Entertainment Co Ltd June 21, 2010
U.S. Pat. No. 8,092,300 U.S. Pat. App. No. 12/450,540 GAME SERVER DEVICE, GAME MANAGEMENT SYSTEM AND RATING MANAGEMENT METHOD Konami Digital Entertainment Co Ltd February 12, 2010
U.S. Pat. No. 8,523,676 U.S. Pat. App. No. 12/223,904 Game Terminal Device and Game Terminal Device Game Environment Setting Method Konami Digital Entertainment Co Ltd July 13, 2009
U.S. Pat. No. 8,287,385 U.S. Pat. App. No. 12/441,134 GAME DEVICE, GAME PROCESSING METHOD, INFORMATION RECORDING MEDIUM, AND PROGRAM Konami Digital Entertainment Co Ltd March 12, 2009

Disclaimer: Data collected from the USPTO and may be malformed, incomplete, and/or otherwise inaccurate.