Results for the query

Showing matches for "A63F2300/6623".

35 records found

Figure Patent No. Title Assignee Issue Date
U.S. Pat. No. 12,268,963 U.S. Pat. App. No. 18/582,558 GAME CHARACTER BEHAVIOR CONTROL METHOD AND APPARATUS, STORAGE MEDIUM, AND ELECTRONIC DEVICE TENCENT TECHNOLOGY (SHENZHEN) COMPANY LIMITED February 20, 2024
U.S. Pat. No. 12,364,930 U.S. Pat. App. No. 18/518,832 COMPUTER CONTROL METHOD FOR IMPLEMENTING A COMPUTER GAME TEMPLATE ARRANGEMENT GREE, INC. November 24, 2023
U.S. Pat. No. 11,938,403 U.S. Pat. App. No. 17/728,963 GAME CHARACTER BEHAVIOR CONTROL METHOD AND APPARATUS, STORAGE MEDIUM, AND ELECTRONIC DEVICE TENCENT TECHNOLOGY (SHENZHEN) COMPANY LIMITED April 25, 2022
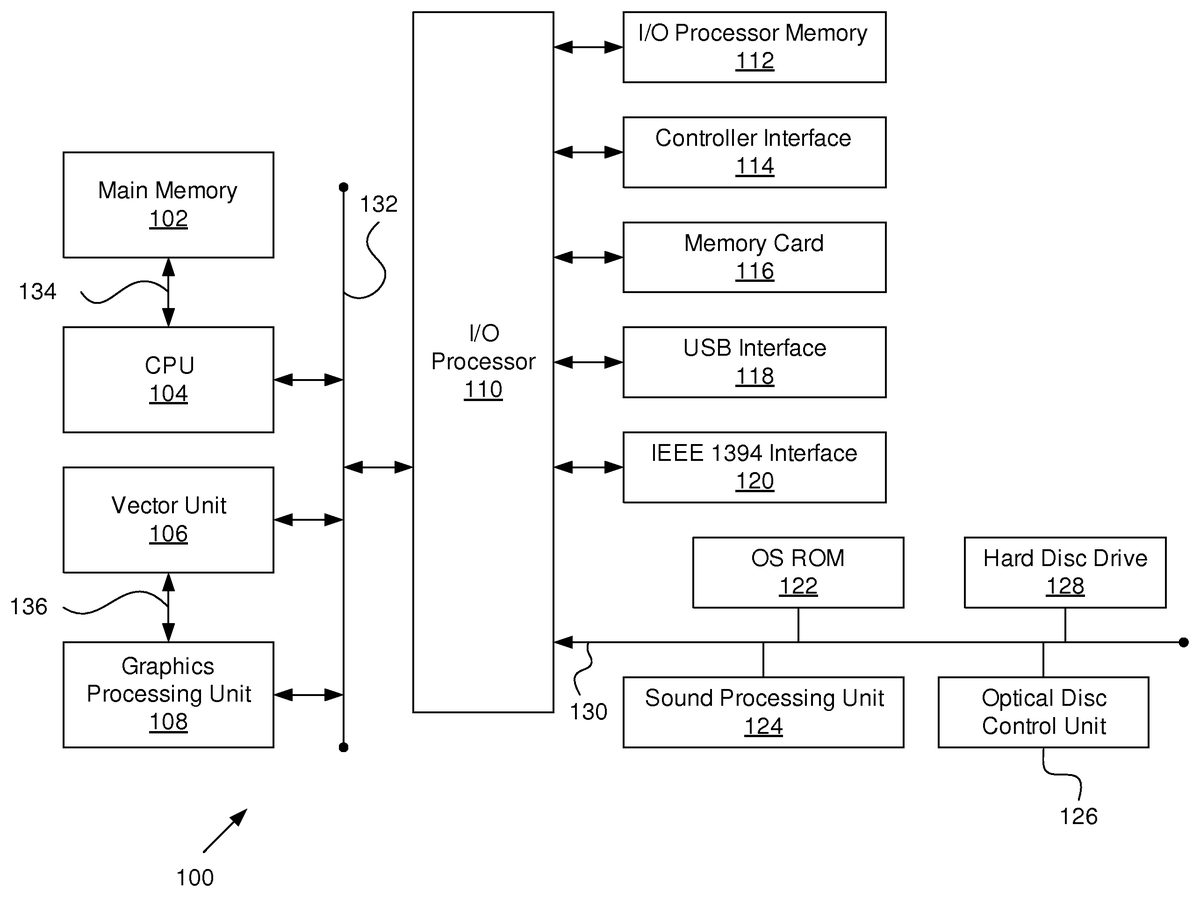
U.S. Pat. No. 10,099,119 U.S. Pat. App. No. 15/620,534 TOUCH SCREEN INPUTS FOR A VIDEO GAME SYSTEM Nintenco Co., Ltd. June 12, 2017
U.S. Pat. No. 10,500,488 U.S. Pat. App. No. 15/326,389 METHOD OF SIMULTANEOUS PLAYING IN SINGLE-PLAYER VIDEO GAMES BLOOBER TEAM S.A. January 13, 2017
U.S. Pat. No. 9,675,876 U.S. Pat. App. No. 15/285,184 TOUCH SCREEN INPUTS FOR A VIDEO GAME SYSTEM Nintendo Co., Ltd. October 4, 2016
U.S. Pat. No. 9,566,507 U.S. Pat. App. No. 14/740,696 Game Controller Using a Plurality of Light-Emitting Elements Sony Corporation; Sony Computer Entertainment Inc. June 16, 2015
U.S. Pat. No. 9,216,354 U.S. Pat. App. No. 14/283,119 ATTRIBUTE-DRIVEN GAMEPLAY Sony Interactive Entertainment LLC May 20, 2014
U.S. Pat. No. 9,364,746 U.S. Pat. App. No. 14/275,830 SYSTEM AND METHOD CONFIGURED TO UNLOCK CONTENT WITHIN A VIDEOGAME Activision Publishing, Inc. May 12, 2014
U.S. Pat. No. 9,084,934 U.S. Pat. App. No. 14/083,813 Game Controller with Pulse Width Modulation Position Detection Sony Corporation; Sony Computer Entertainment Inc. November 19, 2013

Disclaimer: Data collected from the USPTO and may be malformed, incomplete, and/or otherwise inaccurate.