Results for the query

Showing matches for "A63F2300/632".

15 records found

Figure Patent No. Title Assignee Issue Date
U.S. Pat. No. 10,864,433 U.S. Pat. App. No. 15/482,669 USING A PORTABLE DEVICE TO INTERACT WITH A VIRTUAL SPACE Sony Interactive Entertainment Inc. April 7, 2017
U.S. Pat. No. 8,907,891 U.S. Pat. App. No. 13/539,310 Methods and Systems for Playing Video Games with a Controller Having a Display that Shares Content with a Main Display Sony Computer Entertainment Inc. June 30, 2012
U.S. Pat. No. 9,387,398 U.S. Pat. App. No. 12/868,889 VIDEO GAME WITH STATE DISPLAY OVERLAY Nintendo Co., Ltd. August 26, 2010
U.S. Pat. No. 8,070,573 U.S. Pat. App. No. 12/248,369 VIDEO GAME APPARATUS AND VIDEO GAME PROGRAM Kabushiki Kaisha Square Enix October 9, 2008
U.S. Pat. No. 8,261,199 U.S. Pat. App. No. 11/872,932 BREAKPOINT IDENTIFICATION AND PRESENTATION IN VIRTUAL WORLDS International Business Machines Corporation October 16, 2007
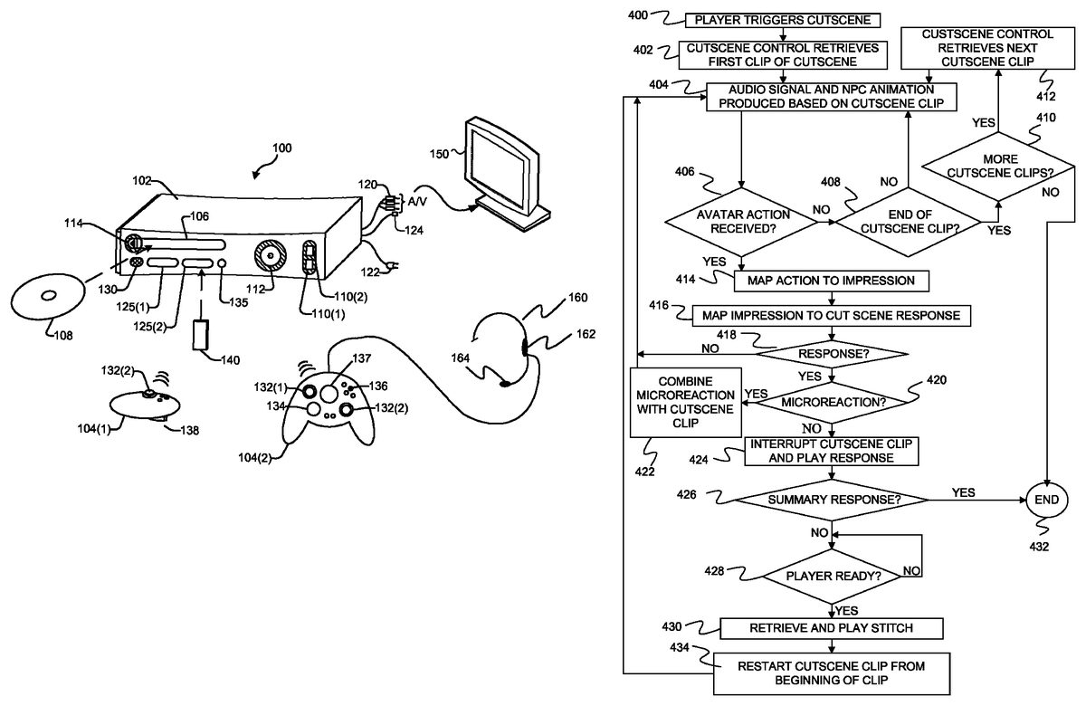
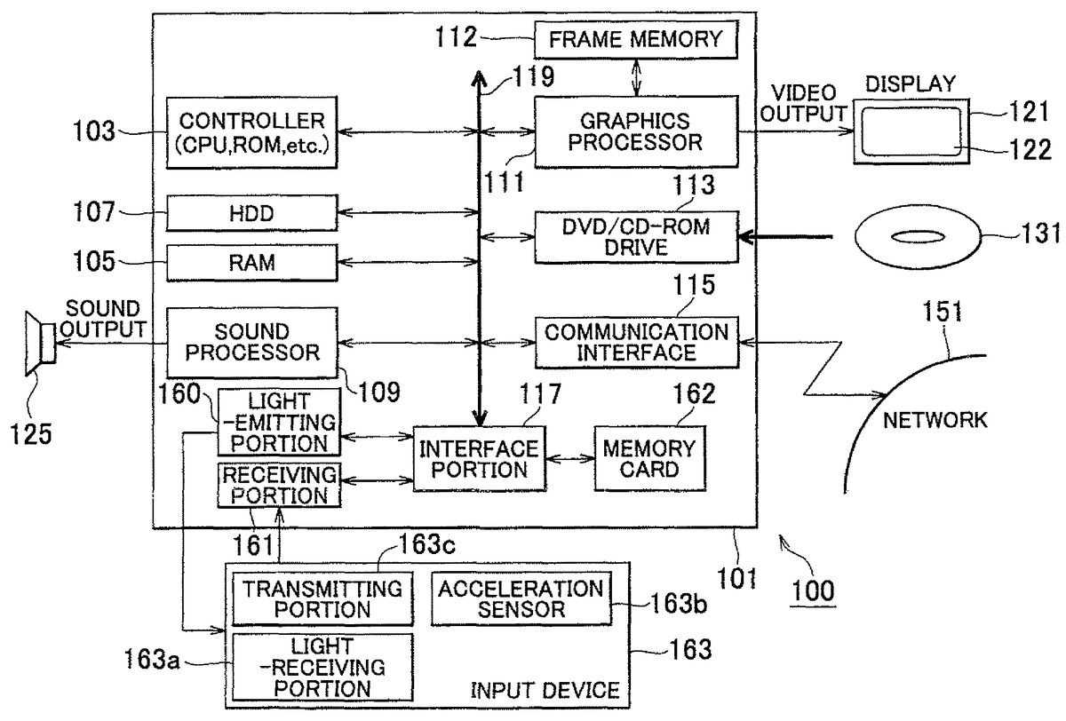
U.S. Pat. No. 8,622,831 U.S. Pat. App. No. 11/766,483 Responsive Cutscenes in Video Games Microsoft Corporation June 21, 2007
U.S. Pat. No. 8,082,499 U.S. Pat. App. No. 11/686,688 GRAPHICAL INTERFACE FOR INTERACTIVE DIALOG Electronic Arts, Inc. March 15, 2007
U.S. Pat. No. 7,713,126 U.S. Pat. App. No. 11/481,579 VIDEO GAME CONTROL PROGRAM AND VIDEO GAME DEVICE Sega July 6, 2006
U.S. Pat. No. 7,744,467 U.S. Pat. App. No. 10/595,162 VIDEO GAME PROGRAM, VIDEO GAME DEVICE, AND VIDEO GAME METHOD Konami Digital Entertainment Co, Ltd. March 13, 2006
U.S. Pat. No. 7,699,755 U.S. Pat. App. No. 11/350,284 ISOMETRIC EXERCISE SYSTEM AND METHOD OF FACILITATING USER EXERCISE DURING VIDEO GAME PLAY IALabs-CA, LLC February 9, 2006

Disclaimer: Data collected from the USPTO and may be malformed, incomplete, and/or otherwise inaccurate.