Results for the query

Showing matches for "A63F13/40".

89 records found

Figure Patent No. Title Assignee Issue Date
U.S. Pat. No. 7,666,096 U.S. Pat. App. No. 11/471,280 Method for generating the left and right perspectives in a 3D videogame TDVision Corporation S.A. DE C.V. June 19, 2006
U.S. Pat. No. 7,686,690 U.S. Pat. App. No. 10/555,183 GAME MACHINE AND METHOD FOR GROUPING PLAYERS INTO TEAMS PARTICIPATING MATCHUP GAME Sony November 1, 2005
U.S. Pat. No. 8,602,888 U.S. Pat. App. No. 11/167,222 Video game device and image processing program Nintendo Co., Ltd. June 28, 2005
U.S. Pat. No. 7,785,197 U.S. Pat. App. No. 10/901,452 VOICE-TO-TEXT CHAT CONVERSION FOR REMOTE VIDEO GAME PLAY Nintendo Co., Ltd. July 29, 2004
U.S. Pat. No. 7,491,123 U.S. Pat. App. No. 10/901,453 VIDEO GAME VOICE CHAT WITH AMPLITUDE-BASED VIRTUAL RANGING Nintendo Co. Ltd. July 29, 2004
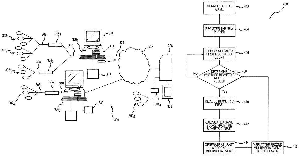
U.S. Pat. No. 7,331,870 U.S. Pat. App. No. 10/816,689 MULTIPLAYER BIOFEEDBACK INTERACTIVE GAMING ENVIRONMENT Unyte Health Inc April 1, 2004
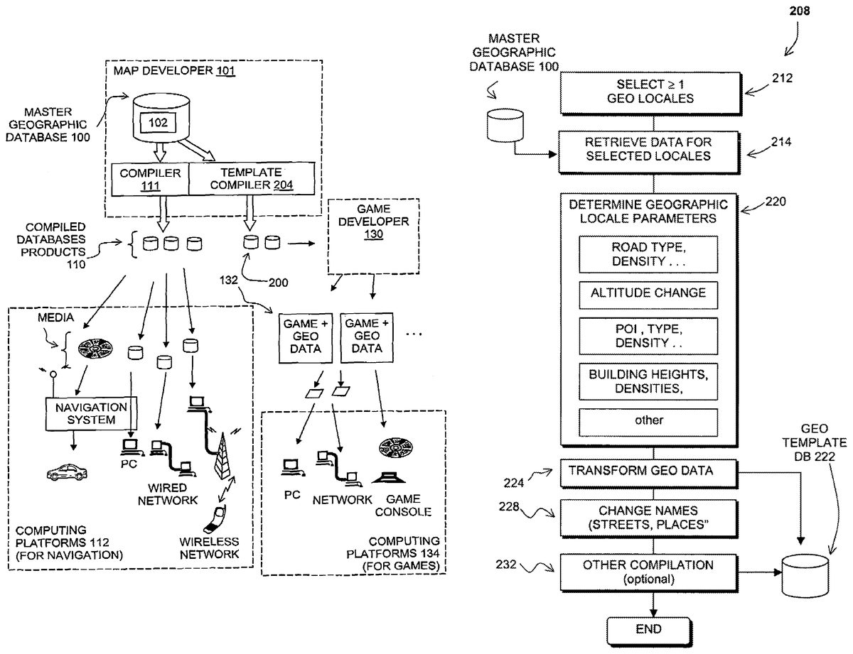
U.S. Pat. No. 8,562,439 U.S. Pat. App. No. 10/798,632 GEOGRAPHIC AREA TEMPLATES FOR COMPUTER GAMES Navteq B.V. March 11, 2004
U.S. Pat. No. 7,384,340 U.S. Pat. App. No. 10/364,459 TRADING CARDS INTERACTIVE WITH ELECTRONIC GAME MACHINE AND GAME SYSTEM Nintendo Co Ltd February 12, 2003
U.S. Pat. No. 6,695,694 U.S. Pat. App. No. 09/789,590 GAME MACHINE, GAME DEVIE CONTROL METHOD, INFORMATION STORAGE MEDIUM, GAME DISTRIBUTION DEVICE, AND GAME DISTRIBUTION METHOD KONAMI SPORTS CORPORATION February 22, 2001

Disclaimer: Data collected from the USPTO and may be malformed, incomplete, and/or otherwise inaccurate.