Results for the query

Showing matches for "A63F13/22".

143 records found

Figure Patent No. Title Assignee Issue Date
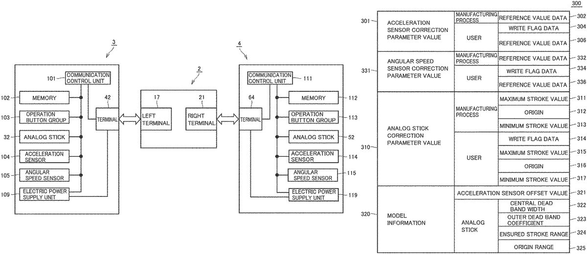
U.S. Pat. No. 10,799,789 U.S. Pat. App. No. 16/244,933 GAME CONTROLLER CALIBRATION AND GAME SYSTEM USING GAME CONTROLLER NINTENDO CO., LTD. January 10, 2019
U.S. Pat. No. 10,994,197 U.S. Pat. App. No. 16/165,988 GAME CONTROLLER WITH REMOVABLE MAGNETIC BUTTON Microsoft Technology Licensing, LLC October 19, 2018
U.S. Pat. No. 10,441,888 U.S. Pat. App. No. 16/161,781 Dynamic Adjustment of Game Controller Sensitivity Based on Audio Analysis Voyetra Turtle Beach, Inc. October 16, 2018
U.S. Pat. No. 10,661,161 U.S. Pat. App. No. 16/111,836 WIRELESS CHARGING ADAPTER WITH GAME CONTROL KEYS FOR COMPUTER GAME CONTROLLER Sony Interactive Entertainment LLC August 24, 2018
U.S. Pat. No. 10,525,340 U.S. Pat. App. No. 16/069,151 GAME CONSOLE CONTROLLER AND CONTROLLER SYSTEM FOR GAME CONSOLES HORI CO., LTD. July 10, 2018
U.S. Pat. No. 10,722,787 U.S. Pat. App. No. 16/014,794 ERGONOMICALLY CORRECT GAME CONTROLLER Unknown assignee June 21, 2018
U.S. Pat. No. 10,427,037 U.S. Pat. App. No. 16/004,102 VIDEO GAME CONTROLLER Performance Designed Products LLC June 8, 2018
U.S. Pat. No. 10,430,646 U.S. Pat. App. No. 15/881,497 SYSTEMS AND METHODS FOR OPERATING A VIRTUAL REALITY ENVIRONMENT USING COLORED MARKER LIGHTS ATTACHED TO GAME OBJECTS Zero Latency Pty Ltd January 26, 2018
U.S. Pat. No. 10,751,611 U.S. Pat. App. No. 15/878,052 USING A GAME CONTROLLER AS A MOUSE OR GAMEPAD Microsoft Technology Licensing, LLC January 23, 2018
U.S. Pat. No. 10,357,712 U.S. Pat. App. No. 15/578,458 COMPUTER GAME CONTROLLER Unknown assignee November 30, 2017

Disclaimer: Data collected from the USPTO and may be malformed, incomplete, and/or otherwise inaccurate.