Results for the query

Showing matches for "A63F13/24".

530 records found

Figure Patent No. Title Assignee Issue Date
U.S. Pat. No. 8,317,614 U.S. Pat. App. No. 12/103,703 SYSTEM AND METHOD FOR PLAYING A MUSIC VIDEO GAME WITH A DRUM SYSTEM GAME CONTROLLER Activision Publishing, Inc. April 15, 2008
U.S. Pat. No. 8,002,635 U.S. Pat. App. No. 12/077,981 APPARATUS AND METHOD OF IMPACT EMULATION FOR VIDEO GAMES Unknown assignee March 24, 2008
U.S. Pat. No. 7,925,204 U.S. Pat. App. No. 12/043,214 CELLULAR HANDSET WITH VIDEO GAME CONTROLLER Sprint Communications Company L.P. March 6, 2008
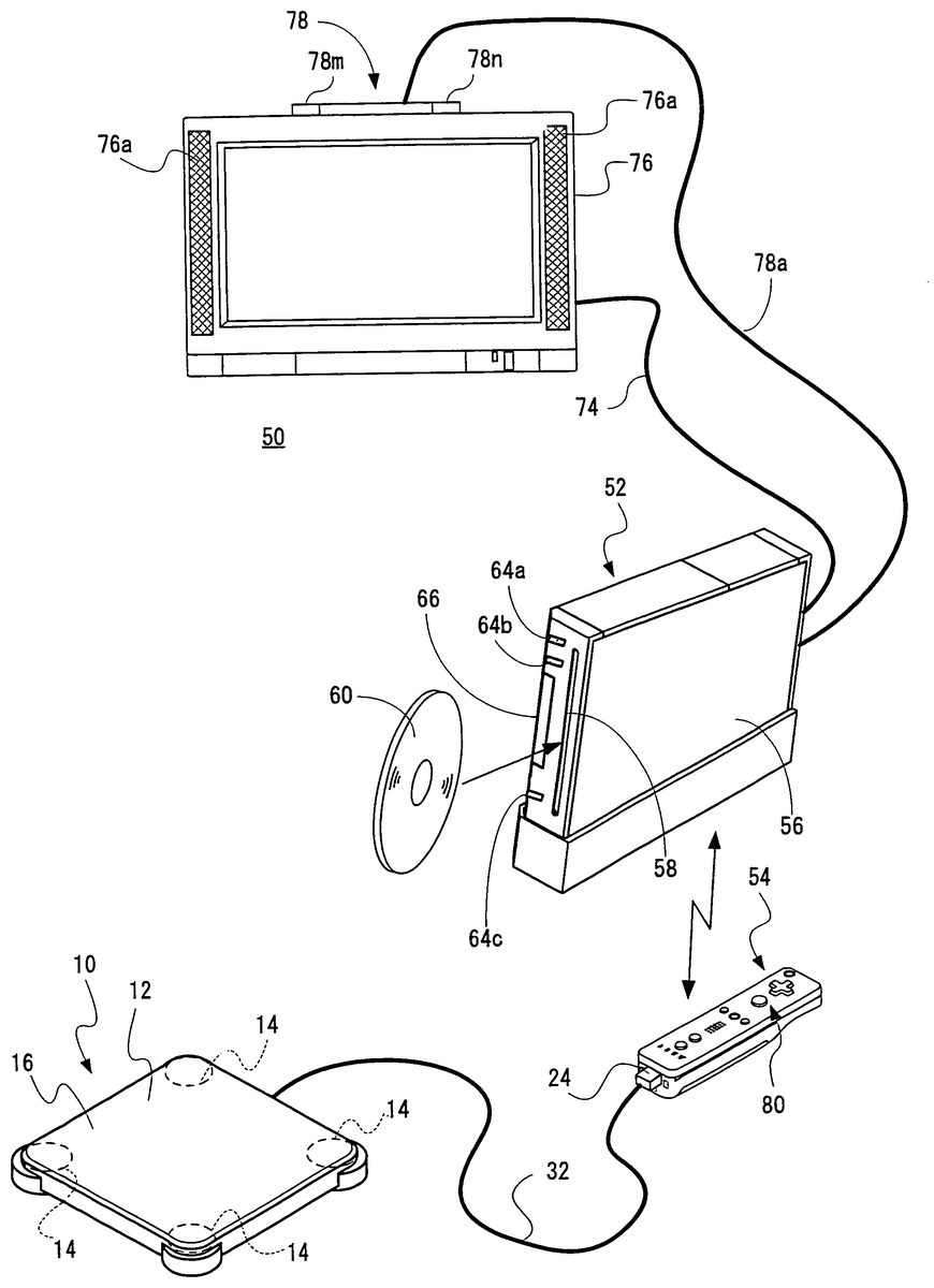
U.S. Pat. No. 8,100,770 U.S. Pat. App. No. 12/073,327 GAME CONTROLLER, STORAGE MEDIUM STORING GAME PROGRAM, AND GAME APPARATUS Nintendo Co., Ltd. March 4, 2008
U.S. Pat. No. 8,932,135 U.S. Pat. App. No. 12/032,401 GAME CONTROLLER Unknown assignee February 15, 2008
U.S. Pat. No. 8,430,752 U.S. Pat. App. No. 12/023,844 METHODS AND APPARATUS TO METER VIDEO GAME PLAY The Nielsen Company (US), LLC January 31, 2008
U.S. Pat. No. 8,471,722 U.S. Pat. App. No. 12/010,557 DIRECTION INDICATOR SYSTEM, AND ELECTRIC WHEELCHAIR, WALKING STICK, AND GAME CONTROLLER UTILIZING SAID DIRECTION INDICATOR SYSTEM Fujitsu Component Limited January 25, 2008
U.S. Pat. No. 8,182,342 U.S. Pat. App. No. 12/020,465 GUITAR SHAPED GAME CONTROLLER WITH REMOVABLE NECK Activision Publishing, Inc. January 25, 2008
U.S. Pat. No. 8,209,041 U.S. Pat. App. No. 11/940,093 PROVIDING SECRET INFORMATION IN A MULTIPLAYER GAME Microsoft Technology Licensing LLC November 14, 2007
U.S. Pat. No. 8,117,364 U.S. Pat. App. No. 11/939,218 ENHANCED PROTOCOL AND ARCHITECTURE FOR LOW BANDWIDTH FORCE FEEDBACK GAME CONTROLLER Microsoft Corporation November 13, 2007

Disclaimer: Data collected from the USPTO and may be malformed, incomplete, and/or otherwise inaccurate.