Results for the query

Showing matches for "A63F13/837".

159 records found

Figure Patent No. Title Assignee Issue Date
U.S. Pat. No. 6,902,483 U.S. Pat. App. No. 10/114,904 HANDHELD ELECTRONIC GAME DEVICE HAVING THE SHAPE OF A GUN Individual April 1, 2002
U.S. Pat. No. 6,891,534 U.S. Pat. App. No. 10/096,797 METHOD, APPARATUS, STORAGE MEDIUM, PROGRAM, AND PROGRAM PRODUCT FOR GENERATING IMAGE DATA OF VIRTUAL SPACE Bandai Namco Entertainment Inc March 14, 2002
U.S. Pat. No. 6,918,829 U.S. Pat. App. No. 09/923,941 FIGHTING VIDEO GAME MACHINE Konami Corporation August 7, 2001
U.S. Pat. No. 6,863,609 U.S. Pat. App. No. 09/923,942 METHOD FOR CONTROLLING MOVEMENT OF VIEWING POINT OF SIMULATED CAMERA IN 3D VIDEO GAME, AND 3D VIDEO GAME MACHINE Konami Corporation August 7, 2001
U.S. Pat. No. 6,565,438 U.S. Pat. App. No. 09/920,358 VIDEO GAME CONTROL ADAPTER APPARATUS Unknown assignee August 1, 2001
U.S. Pat. No. 6,652,384 U.S. Pat. App. No. 09/877,143 IMAGE PROCESSING DEVICE FOR PLACING A PLAYER CHARACTER IN A VIRTUAL SPACE Unknown assignee June 11, 2001
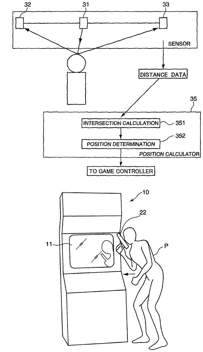
U.S. Pat. No. 6,955,598 U.S. Pat. App. No. 09/861,952 DESIGNATED POSITION DETECTOR AND GAME CONTROLLER UTILIZING THE SAME Alps Electronics Co., Ltd. May 21, 2001
U.S. Pat. No. 6,540,607 U.S. Pat. App. No. 09/842,443 VIDEO GAME POSITION AND ORIENTATION DETECTION SYSTEM Unknown assignee April 26, 2001
U.S. Pat. No. 7,628,688 U.S. Pat. App. No. 09/801,996 GAME APPARATUS, GAME CONTROL METHOD, RECORDING MEDIUM AND PROGRAM Konami Holding Corp. March 8, 2001

Disclaimer: Data collected from the USPTO and may be malformed, incomplete, and/or otherwise inaccurate.