Results for the query

Showing matches for "A63F13/837".

159 records found

Figure Patent No. Title Assignee Issue Date
U.S. Pat. No. 7,914,379 U.S. Pat. App. No. 11/751,112 VIDEO GAME CONTROLLER Brain Box Concepts, Inc. May 21, 2007
U.S. Pat. No. 9,327,191 U.S. Pat. App. No. 11/745,747 METHOD AND APPARATUS FOR ENHANCED VIRTUAL CAMERA CONTROL WITHIN 3D VIDEO GAMES OR OTHER COMPUTER GRAPHICS PRESENTATIONS PROVIDING INTELLIGENT AUTOMATIC 3D-ASSIST FOR THIRD PERSON VIEWPOINTS NINTENDO CO., LTD. May 8, 2007
U.S. Pat. No. 8,591,333 U.S. Pat. App. No. 11/790,780 GAME CONTROLLER WITH RECEPTOR DUPLICATING CONTROL FUNCTIONS Nintendo Co. Ltd. April 27, 2007
U.S. Pat. No. 7,896,733 U.S. Pat. App. No. 11/532,003 METHOD AND APPARATUS FOR PROVIDING INTERESTING AND EXCITING VIDEO GAME PLAY USING A STABILITY/ENERGY METER Nintendo Co., Ltd. September 14, 2006
U.S. Pat. No. 7,736,230 U.S. Pat. App. No. 10/582,537 CONTROL APPARATUS FOR USE WITH A COMPUTER OR VIDEO GAME SYSTEM Unknown assignee June 9, 2006
U.S. Pat. No. 7,803,048 U.S. Pat. App. No. 11/276,807 RADAR MANIPULATION IN A VIDEO GAME Microsoft Corp. March 15, 2006
U.S. Pat. No. 7,413,514 U.S. Pat. App. No. 11/232,798 VIDEO GAME MACHINE WITH ROTATIONAL MECHANISM Kabushiki Kaisha Sega Enterprises September 21, 2005
U.S. Pat. No. 7,235,012 U.S. Pat. App. No. 11/207,456 VIDEO GAME CONTROLLER WITH SIDE OR QUICK LOOK FEATURE Brain Box Concepts, Inc. August 19, 2005
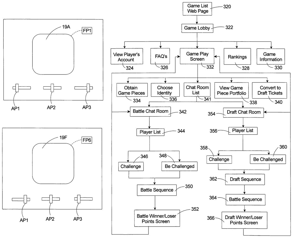
U.S. Pat. No. 7,971,226 U.S. Pat. App. No. 11/097,501 INTERACTIVE GAME SYSTEM WITH COMPUTER-ANIMATED GAME PIECES Upper Deck Co LLC April 1, 2005
U.S. Pat. No. 7,637,817 U.S. Pat. App. No. 11/018,477 INFORMATION PROCESSING DEVICE, GAME DEVICE, IMAGE GENERATION METHOD, AND GAME IMAGE GENERATION METHOD Sega December 22, 2004

Disclaimer: Data collected from the USPTO and may be malformed, incomplete, and/or otherwise inaccurate.