Results for the query

Showing matches for "A63F13/73".

127 records found

Figure Patent No. Title Assignee Issue Date
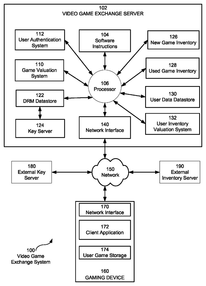
U.S. Pat. No. 8,635,163 U.S. Pat. App. No. 12/915,800 SYSTEM AND METHOD FOR FACILITATING A VIDEO GAME EXCHANGE Green Man Gaming Limited October 29, 2010
U.S. Pat. No. 8,376,859 U.S. Pat. App. No. 12/920,379 ONLINE GAME PROVISION SYSTEM USING STORAGE MEDIUM AND METHOD THEREOF Nexon Corporation August 31, 2010
U.S. Pat. No. 8,990,119 U.S. Pat. App. No. 12/847,764 VIDEO GAMES ON DEMAND WITH ANTI-PIRACY SECURITY AT&T Intellectual Property I, L.P. July 30, 2010
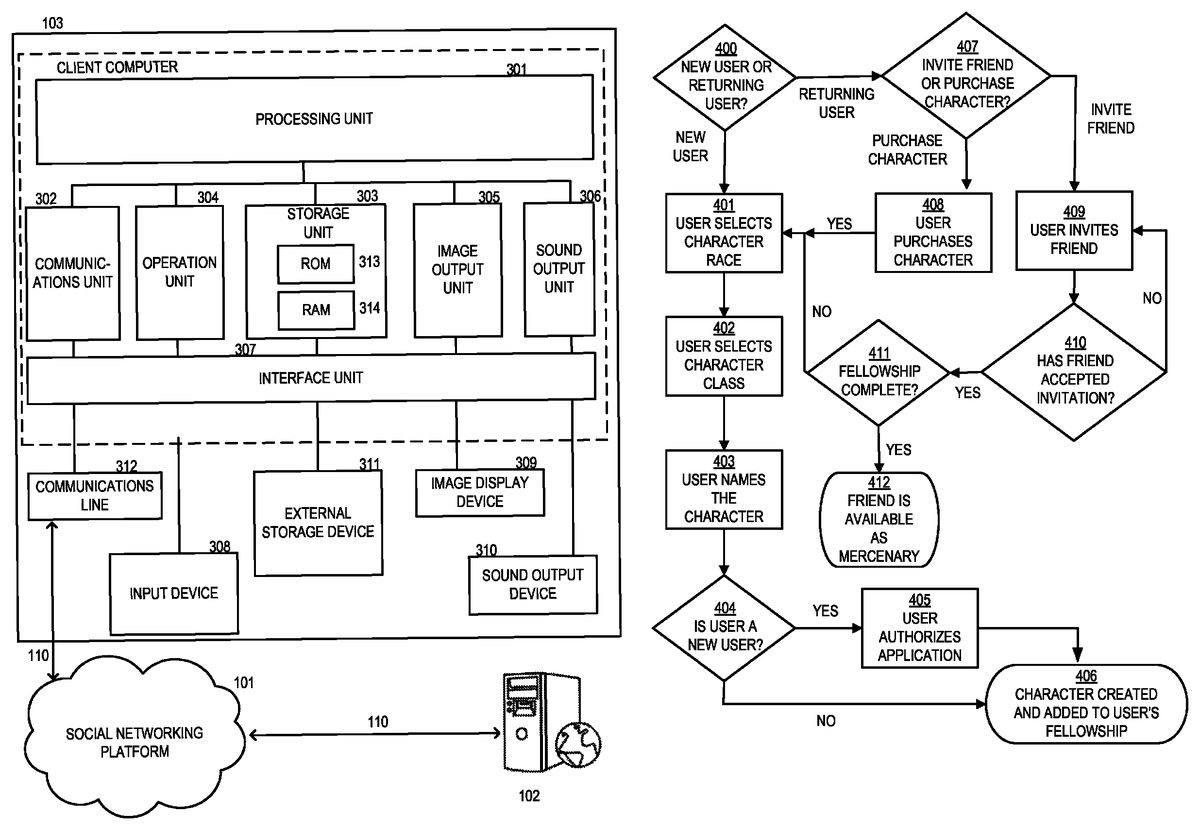
U.S. Pat. No. 7,955,175 U.S. Pat. App. No. 12/763,401 ROLE BASED GAME PLAY ON A SOCIAL NETWORK FACE IT APPLICATIONS LLC April 20, 2010
U.S. Pat. No. 8,727,882 U.S. Pat. App. No. 12/748,071 Game Controller That Converts Between Wireless Operation And Wired Operation Microsoft Corporation March 26, 2010
U.S. Pat. No. 8,876,609 U.S. Pat. App. No. 12/691,032 METHOD OF EXECUTING VIDEO GAME IN MOBILE TERMINAL AND SYSTEM FOR PERFORMING THE SAME Samsung Electronics Co., Ltd. January 21, 2010
U.S. Pat. No. 8,430,750 U.S. Pat. App. No. 12/627,894 VIDEO GAMING DEVICE WITH IMAGE IDENTIFICATION Broadcom Corporation November 30, 2009
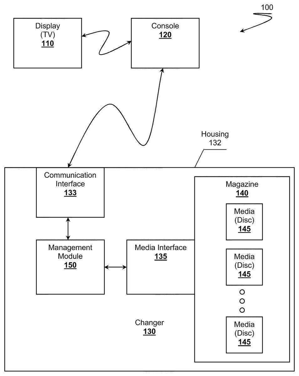
U.S. Pat. No. 8,858,341 U.S. Pat. App. No. 12/543,296 Multi Video Game Changer Unknown assignee August 18, 2009
U.S. Pat. No. 9,805,196 U.S. Pat. App. No. 12/394,430 TRUSTED ENTITY BASED ANTI-CHEATING MECHANISM Microsoft Technology Licensing LLC February 27, 2009
U.S. Pat. No. 9,731,208 U.S. Pat. App. No. 12/351,381 Methods of Playing Video Games Mattel, Inc. January 9, 2009

Disclaimer: Data collected from the USPTO and may be malformed, incomplete, and/or otherwise inaccurate.