Results for the query

Showing matches for "H04L65/762".

8 records found

Figure Patent No. Title Assignee Issue Date
U.S. Pat. No. 12,011,660 U.S. Pat. App. No. 18/180,093 AUGMENTING VIDEO GAMES WITH ADD-ONS Sony Interactive Entertainment LLC March 7, 2023
U.S. Pat. No. 11,336,926 U.S. Pat. App. No. 16/533,685 SYSTEM AND METHOD FOR REMOTE-HOSTED VIDEO GAME STREAMING AND FEEDBACK FROM CLIENT ON RECEIVED FRAMES Sony Interactive Entertainment LLC August 6, 2019
U.S. Pat. No. 11,310,346 U.S. Pat. App. No. 16/458,220 System and Method of Generating and Distributing Video Game Streams Activision Publishing, Inc. July 1, 2019
U.S. Pat. No. 10,924,525 U.S. Pat. App. No. 16/148,953 INDUCING HIGHER INPUT LATENCY IN MULTIPLAYER PROGRAMS Microsoft Technology Licensing LLC October 1, 2018
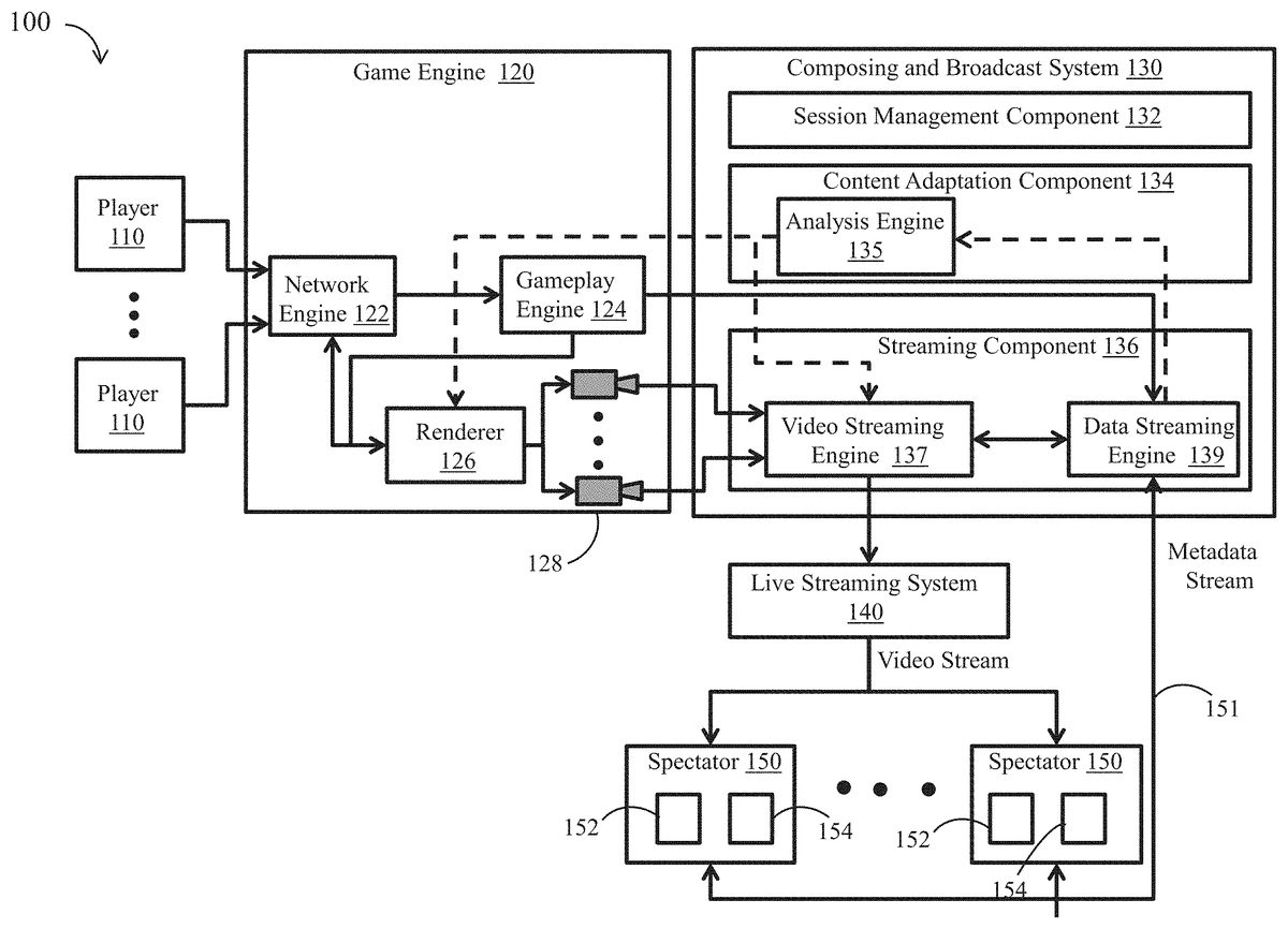
U.S. Pat. No. 10,075,495 U.S. Pat. App. No. 15/352,441 SYSTEMS AND METHODS FOR VIDEO GAME STREAMING UTILIZING FEEDBACK AND AGGREGATION OF VIEWER INTERESTS AND INTERACTIONS Genvid Technologies, Inc. November 15, 2016
U.S. Pat. No. 10,376,781 U.S. Pat. App. No. 14/919,358 SYSTEM AND METHOD OF GENERATING AND DISTRIBUTING VIDEO GAME STREAMS ACTIVISION PUBLISHING, INC. October 21, 2015
U.S. Pat. No. 10,245,509 U.S. Pat. App. No. 14/919,444 SYSTEM AND METHOD OF INFERRING USER INTEREST IN DIFFERENT ASPECTS OF VIDEO GAME STREAMS ACTIVISION PUBLISHING, INC. October 21, 2015
U.S. Pat. No. 10,092,834 U.S. Pat. App. No. 14/432,046 DYNAMIC ALLOCATION OF RENDERING RESOURCES IN A CLOUD GAMING SYSTEM KABUSHIKI KAISHA SQUARE ENIX HOLDINGS March 27, 2015

Disclaimer: Data collected from the USPTO and may be malformed, incomplete, and/or otherwise inaccurate.