Results for the query

Showing matches for "A63F13/71".

109 records found

Figure Patent No. Title Assignee Issue Date
U.S. Pat. No. 8,651,961 U.S. Pat. App. No. 13/700,707 COLLABORATIVE ELECTRONIC GAME PLAY EMPLOYING PLAYER CLASSIFICATION AND AGGREGATION Solocron Entertainment LLC November 28, 2012
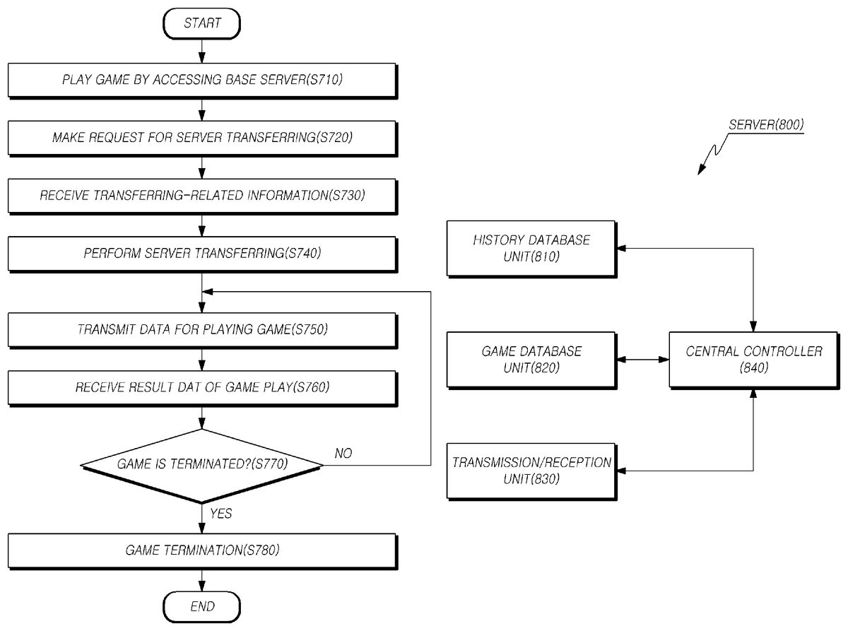
U.S. Pat. No. 8,992,328 U.S. Pat. App. No. 13/698,482 METHOD, APPARATUS, AND RECORDING MEDIUM FOR PLAYING GAME WITH SERVER TRANSFERRING IN ONLINE GAME ENVIRONMENT Bluehole Studio, Inc. November 16, 2012
U.S. Pat. No. 8,535,151 U.S. Pat. App. No. 13/596,679 Multimedia-Based Video Game Distribution AT&T Intellectual Property I, L.P. August 28, 2012
U.S. Pat. No. 8,795,086 U.S. Pat. App. No. 13/555,049 REFEREE MODE WITHIN GAMING ENVIRONMENTS Red 5 Studios, Inc. July 20, 2012
U.S. Pat. No. 9,108,112 U.S. Pat. App. No. 13/370,781 GAME SYSTEM, GAME APPARATUS, STORAGE MEDIUM, AND GAME CONTROLLING METHOD FOR GAME PLAY USING A PLURALITY OF GAME APPARTUSES Nintendo Co Ltd February 10, 2012
U.S. Pat. No. 9,782,674 U.S. Pat. App. No. 13/343,955 SYNCHRONIZING SYSTEM FOR GAMEPLAYING GANZ January 5, 2012
U.S. Pat. No. 8,734,243 U.S. Pat. App. No. 13/343,588 System And Method For Facilitating Access To An Online Game Through A Plurality Of Social Networking Platforms Kabam, Inc. January 4, 2012
U.S. Pat. No. 8,556,715 U.S. Pat. App. No. 13/246,039 PERSONALIZED CLIENT-SIDE VISUALIZATION IN A MULTIPLAYER NETWORK VIDEO GAME U4iA Games Inc. September 27, 2011
U.S. Pat. No. 9,449,330 U.S. Pat. App. No. 13/091,054 SELF-SERVE API FOR GAME MECHANICS TOOL BigDoor Media Inc April 20, 2011
U.S. Pat. No. 8,708,821 U.S. Pat. App. No. 12/966,875 SYSTEMS AND METHODS FOR PROVIDING INTERACTIVE GAME PLAY MQ Gaming LLC December 13, 2010

Disclaimer: Data collected from the USPTO and may be malformed, incomplete, and/or otherwise inaccurate.