Results for the query

Showing matches for "A63F13/24".

530 records found

Figure Patent No. Title Assignee Issue Date
U.S. Pat. No. 6,544,124 U.S. Pat. App. No. 09/942,495 HANDHELD STEERING WHEEL GAME CONTROLLER Unknown assignee August 29, 2001
U.S. Pat. No. 6,565,438 U.S. Pat. App. No. 09/920,358 VIDEO GAME CONTROL ADAPTER APPARATUS Unknown assignee August 1, 2001
U.S. Pat. No. 6,512,511 U.S. Pat. App. No. 09/883,929 HAND GRIPPABLE COMBINED KEYBOARD AND GAME CONTROLLER SYSTEM Unknown assignee June 20, 2001
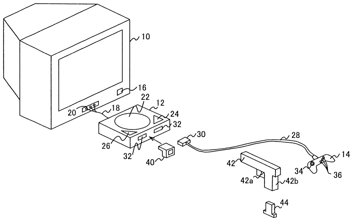
U.S. Pat. No. 6,955,598 U.S. Pat. App. No. 09/861,952 DESIGNATED POSITION DETECTOR AND GAME CONTROLLER UTILIZING THE SAME Alps Electronics Co., Ltd. May 21, 2001
U.S. Pat. No. 6,832,954 U.S. Pat. App. No. 09/863,062 PHOTOGRAPHING GAME MACHINE, PHOTOGRAPHING GAME PROCESSING METHOD AND INFORMATION STORAGE MEDIUM Bandai Namco Entertainment Inc May 21, 2001
U.S. Pat. No. 7,070,507 U.S. Pat. App. No. 09/814,953 VIDEO GAME SYSTEM Nintendo Co., Ltd. March 23, 2001
U.S. Pat. No. 6,761,637 U.S. Pat. App. No. 09/792,282 METHOD OF GAME PLAY USING RFID TRACKING DEVICE MQ Gaming LLC February 22, 2001
U.S. Pat. No. 6,676,520 U.S. Pat. App. No. 09/779,830 VIDEO GAME SYSTEM PROVIDING PHYSICAL SENSATION Unknown assignee February 9, 2001
U.S. Pat. No. 6,964,610 U.S. Pat. App. No. 09/761,275 VIDEO GAME DEVICE, TECHNIQUE SETTING METHOD IN VIDEO GAME, AND COMPUTER READABLE RECORDING MEDIUM STORING TECHNIQUE SETTING PROGRAM Konami Corporation January 16, 2001
U.S. Pat. No. 7,027,034 U.S. Pat. App. No. 09/757,814 METHOD OF MOVING OBJECTS ON TV MONITOR, THE COMPUTER AND RECORDING MEDIUM FOR EXECUTING THE METHOD Sony January 10, 2001

Disclaimer: Data collected from the USPTO and may be malformed, incomplete, and/or otherwise inaccurate.