Results for the query

Showing matches for "A63F2300/63".

225 records found

Figure Patent No. Title Assignee Issue Date
U.S. Pat. No. 10,722,783 U.S. Pat. App. No. 16/230,951 GAME CONSOLE Nintendo Co., Ltd. December 21, 2018
U.S. Pat. No. 10,898,803 U.S. Pat. App. No. 16/177,874 VIDEO GAME PROCESSING APPARATUS AND VIDEO GAME PROCESSING PROGRAM KABUSHIKI KAISHA SQUARE ENIX November 1, 2018
U.S. Pat. No. 10,737,176 U.S. Pat. App. No. 16/177,916 VIDEO GAME PROGRAM AND GAME SYSTEM SQUARE ENIX CO., LTD. November 1, 2018
U.S. Pat. No. 10,507,387 U.S. Pat. App. No. 15/995,633 SYSTEM AND METHOD FOR PLAYING AN INTERACTIVE GAME MQ Gaming, LLC June 1, 2018
U.S. Pat. No. 10,569,178 U.S. Pat. App. No. 15/955,222 AUTOMATIC MOVEMENT OF PLAYER CHARACTER IN NETWORK GAME KABUSHIKI KAISHA SQUARE ENIX April 17, 2018
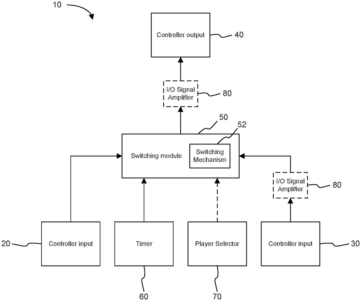
U.S. Pat. No. 10,532,279 U.S. Pat. App. No. 15/890,773 VIDEO GAMEPLAY HAPTICS Immersion Corporation February 7, 2018
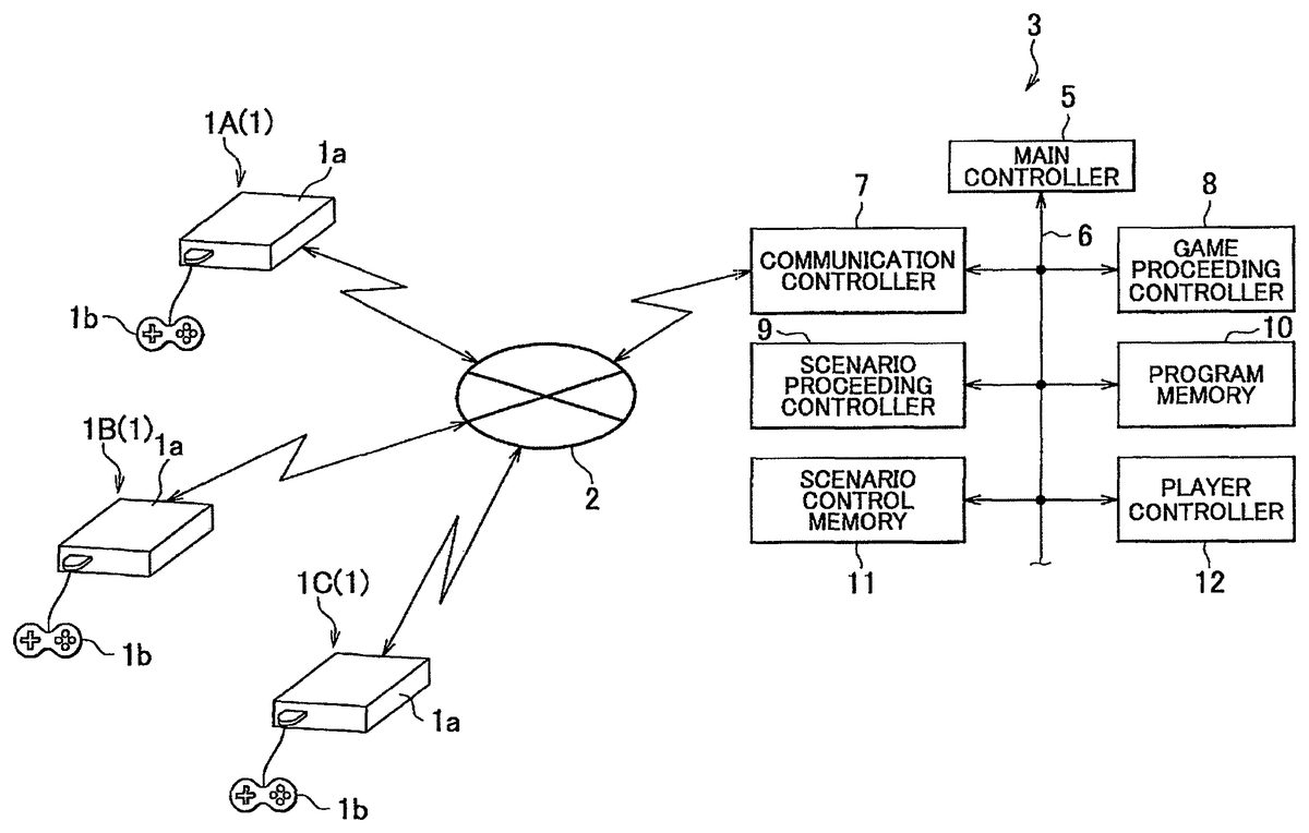
U.S. Pat. No. 10,486,071 U.S. Pat. App. No. 15/834,786 GAME SERVER AND SCENARIO CONTROL PROGRAM SQUARE ENIX CO., LTD. December 7, 2017
U.S. Pat. No. 10,376,793 U.S. Pat. App. No. 15/682,801 VIDEOGAME SYSTEM AND METHOD THAT ENABLES CHARACTERS TO EARN VIRTUAL FANS BY COMPLETING SECONDARY OBJECTIVES Activision Publishing, Inc. August 22, 2017
U.S. Pat. No. 10,065,108 U.S. Pat. App. No. 15/632,612 VIDEO GAME USING DUAL MOTION SENSING CONTROLLERS NINTENDO CO., LTD. June 26, 2017
U.S. Pat. No. 10,617,941 U.S. Pat. App. No. 15/615,625 Computer Game Interface Unknown assignee June 6, 2017

Disclaimer: Data collected from the USPTO and may be malformed, incomplete, and/or otherwise inaccurate.