Results for the query

Showing matches for "A63F13/24".

530 records found

Figure Patent No. Title Assignee Issue Date
U.S. Pat. No. 9,005,025 U.S. Pat. App. No. 13/363,021 Game Controller Wikipad, Inc. January 31, 2012
U.S. Pat. No. 8,894,484 U.S. Pat. App. No. 13/361,798 MULTIPLAYER GAME INVITATION SYSTEM Microsoft Technology Licensing LLC January 30, 2012
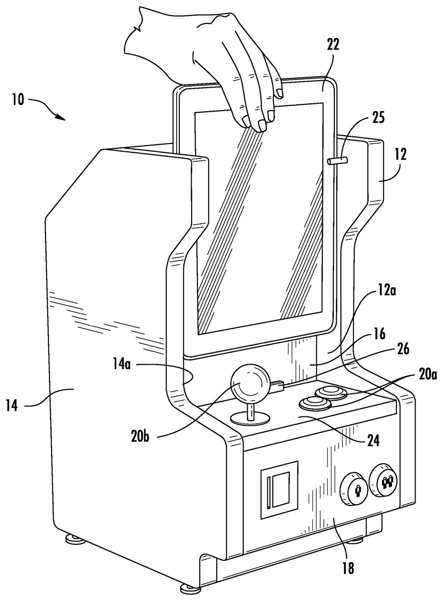
U.S. Pat. No. 8,480,493 U.S. Pat. App. No. 13/346,782 ARCADE-STYLE GAME CONTROLLER FOR A TABLET COMPUTING DEVICE inMusic Brands, Inc. January 10, 2012
U.S. Pat. No. 8,894,462 U.S. Pat. App. No. 13/335,737 INTERACTIVE VIDEO GAME WITH VISUAL LIGHTING EFFECTS Activision Publishing, Inc. December 22, 2011
U.S. Pat. No. 8,888,593 U.S. Pat. App. No. 13/333,786 DIRECTIONAL INPUT FOR A VIDEO GAME Sony Computer Entertainment Inc. December 21, 2011
U.S. Pat. No. 8,439,755 U.S. Pat. App. No. 13/331,190 GAME CONTROLLER USING KISS Unknown assignee December 20, 2011
U.S. Pat. No. 8,858,331 U.S. Pat. App. No. 13/324,542 MULTIPLAYER SOCIAL EXERCISE GAME METHOD AND SYSTEM WITH VARIOUS TYPES OF EXERCISES OR EQUIPMENTS Korea Advanced Institute of Science and Technology KAIST December 13, 2011
U.S. Pat. No. 8,164,567 U.S. Pat. App. No. 13/314,980 MOTION-SENSITIVE GAME CONTROLLER WITH OPTIONAL DISPLAY SCREEN MQ Gaming LLC December 8, 2011
U.S. Pat. No. 8,574,080 U.S. Pat. App. No. 13/313,841 GAME CONTROLLER, STORAGE MEDIUM STORING GAME PROGRAM, AND GAME APPARATUS Nintendo Co., Ltd. December 7, 2011
U.S. Pat. No. 10,022,623 U.S. Pat. App. No. 13/312,847 ERGONOMICALLY CORRECT GAME CONTROLLER Unknown assignee December 6, 2011

Disclaimer: Data collected from the USPTO and may be malformed, incomplete, and/or otherwise inaccurate.