Results for the query

Showing matches for "3700".

2920 records found

Figure Patent No. Title Assignee Issue Date
U.S. Pat. No. 8,157,654 U.S. Pat. App. No. 10/690,818 HAND-HELD VIDEO GAME PLATFORM EMULATION Nintendo Co., Ltd. October 23, 2003
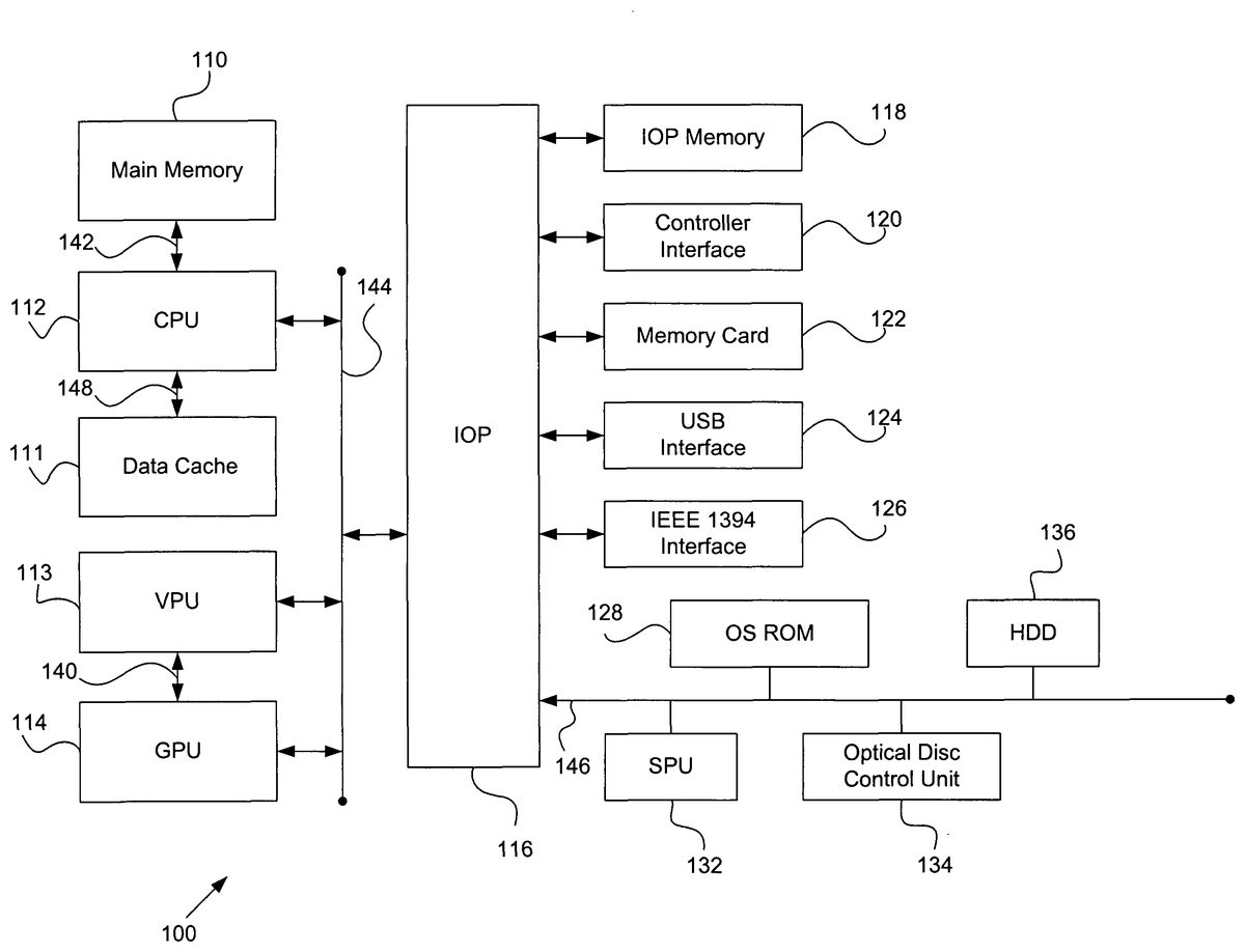
U.S. Pat. No. 8,133,115 U.S. Pat. App. No. 10/691,929 SYSTEM AND METHOD FOR RECORDING AND DISPLAYING A GRAPHICAL PATH IN A VIDEO GAME Sony Computer Entertainment America LLC October 22, 2003
U.S. Pat. No. 7,582,010 U.S. Pat. App. No. 10/656,272 GAME MACHINE, GAME PROGRAM, AND INFORMATION STORAGE MEDIUM Nintendo Co., Ltd. September 8, 2003
U.S. Pat. No. 7,591,721 U.S. Pat. App. No. 10/648,369 VIDEO GAME THAT IMPOSES PENALTY FOR VIOLATION OF RULE Square Enix August 27, 2003
U.S. Pat. No. 8,784,171 U.S. Pat. App. No. 10/637,041 Method and apparatus for modeling a track in video games using arcs and splines that enables efficient collision detection Nintendo Co., Ltd. August 8, 2003
U.S. Pat. No. 7,713,116 U.S. Pat. App. No. 10/611,799 INVENTORY MANAGEMENT OF VIRTUAL ITEMS IN COMPUTER GAMES Microsoft Corporation June 30, 2003
U.S. Pat. No. 7,828,657 U.S. Pat. App. No. 10/441,958 SYSTEM AND METHOD FOR ENHANCING THE EXPERIENCE OF PARTICIPANT IN A MASSIVELY MULTIPLAYER GAME Turbine, Inc. May 20, 2003
U.S. Pat. No. 7,798,905 U.S. Pat. App. No. 10/435,532 METHOD AND APPARATUS FOR ASSOCIATING DATA WITH ONLINE GAME RATINGS Microsoft Corporation May 9, 2003
U.S. Pat. No. 7,789,741 U.S. Pat. App. No. 10/377,385 SQUAD VS. SQUAD VIDEO GAME Microsoft Corporation February 28, 2003
U.S. Pat. No. 7,651,396 U.S. Pat. App. No. 10/370,560 METHOD, STORAGE MEDIUM, APPARATUS, DATA SIGNAL AND PROGRAM FOR GENERATING IMAGE OF VIRTUAL SPACE Bandai Namco Entertainment Inc February 24, 2003

Disclaimer: Data collected from the USPTO and may be malformed, incomplete, and/or otherwise inaccurate.