Results for the query

Showing matches for "A63F13/352".

264 records found

Figure Patent No. Title Assignee Issue Date
U.S. Pat. No. 8,972,476 U.S. Pat. App. No. 12/489,442 EVIDENCE-BASED VIRTUAL WORLD VISUALIZATION Microsoft Technology Licensing LLC June 23, 2009
U.S. Pat. No. 8,719,336 U.S. Pat. App. No. 12/364,913 METHOD AND APPARATUS FOR THWARTING TRAFFIC ANALYSIS IN ONLINE GAMES Microsoft Corporation February 3, 2009
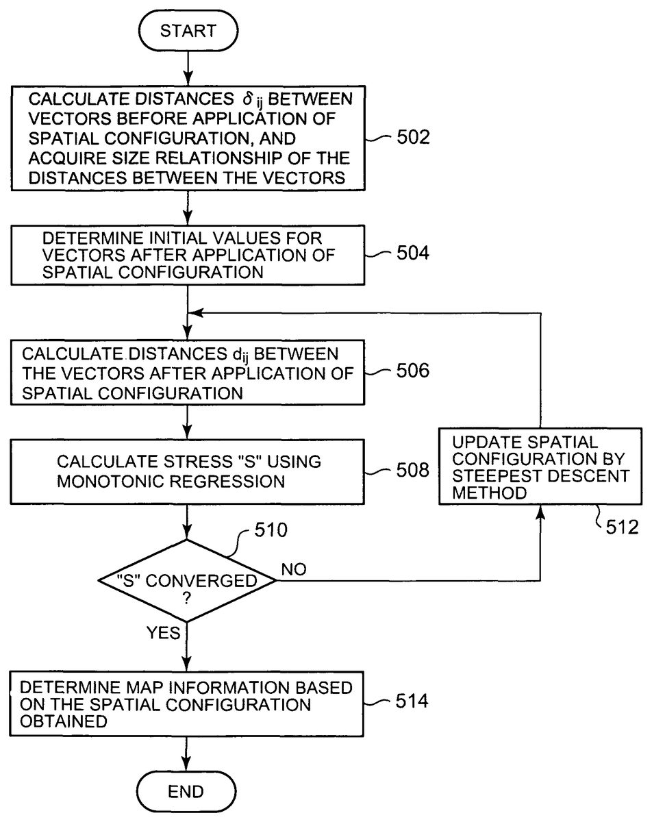
U.S. Pat. No. 8,244,800 U.S. Pat. App. No. 12/270,515 VIRTUAL SPACE SYSTEM, METHOD AND PROGRAM International Business Machines Corporation November 13, 2008
U.S. Pat. No. 9,550,125 U.S. Pat. App. No. 12/251,389 Dynamic and Scalable Topology for Virtual World Environments Roblox Corp October 14, 2008
U.S. Pat. No. 10,166,470 U.S. Pat. App. No. 12/184,309 METHOD FOR PROVIDING A VIRTUAL WORLD LAYER International Business Machines Corporation August 1, 2008
U.S. Pat. No. 8,066,571 U.S. Pat. App. No. 12/135,854 SYSTEM AND METHOD FOR ENABLING CHARACTERS TO BE MANIFESTED WITHIN A PLURALITY OF DIFFERENT VIRTUAL SPACES Disney Enterprises Inc; Areae Inc June 9, 2008
U.S. Pat. No. 9,555,329 U.S. Pat. App. No. 11/853,525 MULTI-ACCESS ONLINE GAME SYSTEM AND METHOD FOR CONTROLLING GAME FOR USE IN THE MULTI-ACCESS ONLINE GAME SYSTEM NHN Entertainment Corporation September 11, 2007
U.S. Pat. No. 8,758,104 U.S. Pat. App. No. 11/843,064 SYSTEM AND METHOD FOR TRANSMITTING P2P MESSAGE IN MULTI-ACCESS ONLINE GAME Intellectual Discovery Co., Ltd. August 22, 2007
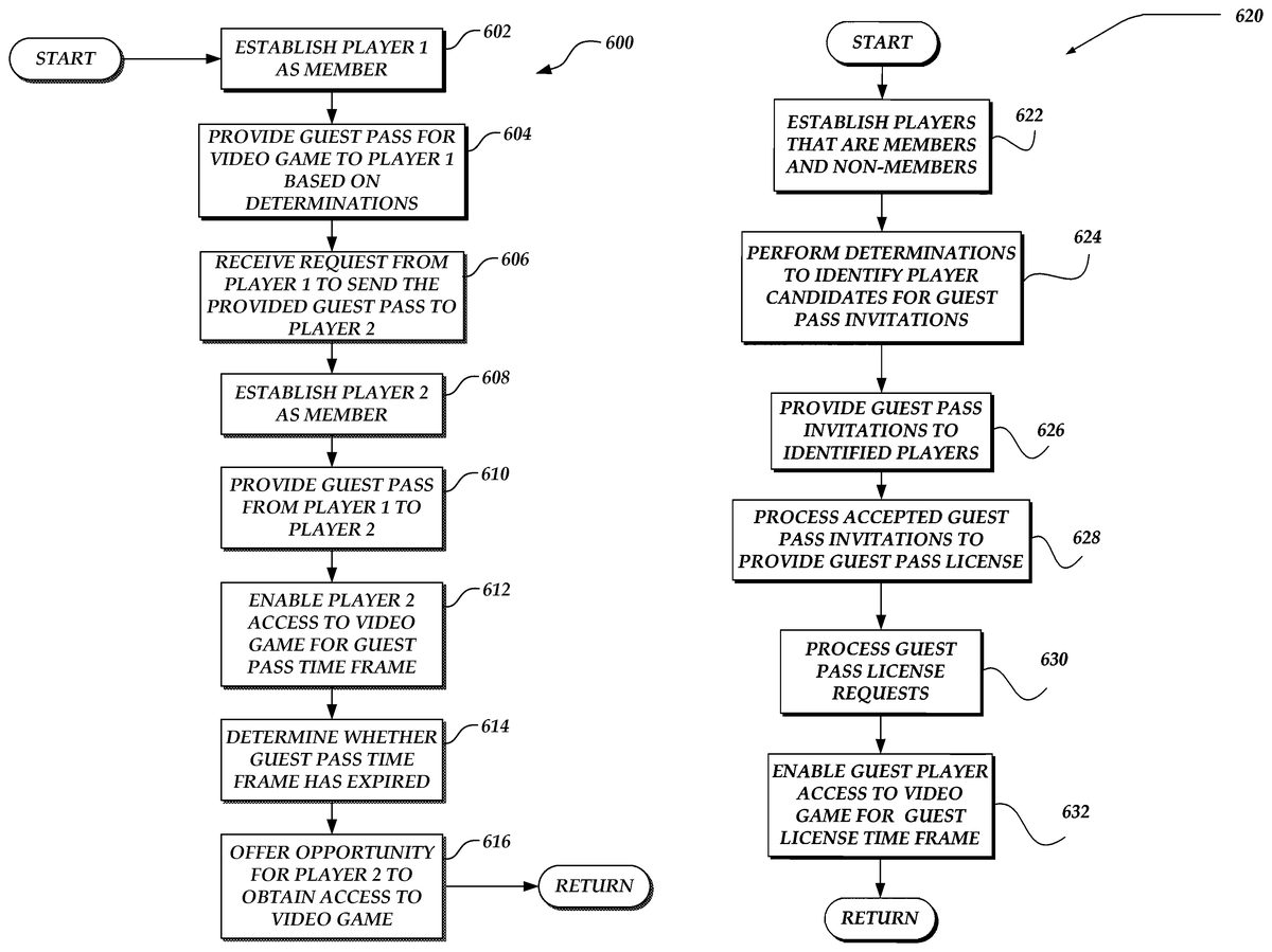
U.S. Pat. No. 8,702,518 U.S. Pat. App. No. 11/690,770 DYNAMICALLY PROVIDING GUEST PASSES FOR A VIDEO GAME Valve Corporation March 23, 2007
U.S. Pat. No. 9,737,812 U.S. Pat. App. No. 11/705,401 METHOD OF INTERACTING WITH AN INTERACTIVE GAME PROGRAM Sizmek Technologies Ltd. February 13, 2007

Disclaimer: Data collected from the USPTO and may be malformed, incomplete, and/or otherwise inaccurate.