Results for the query

Showing matches for "Sony Corporation".

22 records found

Figure Patent No. Title Assignee Issue Date
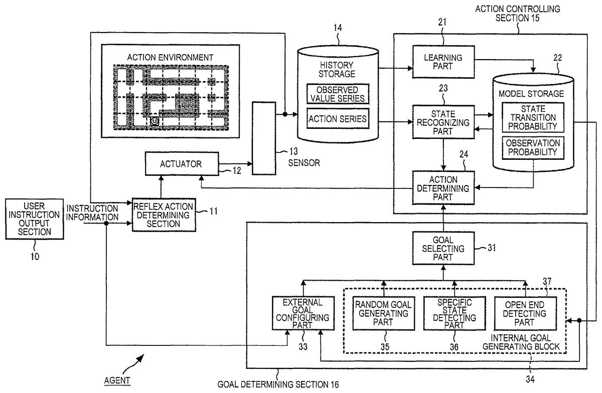
U.S. Pat. No. 10,049,325 U.S. Pat. App. No. 13/561,704 INFORMATION PROCESSING TO PROVIDE ENTERTAINING AGENT FOR A GAME CHARACTER Sony Corporation July 30, 2012
U.S. Pat. No. 8,562,437 U.S. Pat. App. No. 13/461,878 KEYBOARD EQUIPPED WITH FUNCTIONS OF OPERATION BUTTONS AND AN ANALOG STICK PROVIDED IN A GAME CONTROLLER Sony Corporation; Sony Computer Entertainment Inc. May 2, 2012
U.S. Pat. No. 9,050,538 U.S. Pat. App. No. 13/438,262 COLLISION DETECTION AND MOTION SIMULATION IN GAME VIRTUAL SPACE Sony Corporation; Sony Corporation Entertainment Inc. April 3, 2012
U.S. Pat. No. 8,550,919 U.S. Pat. App. No. 12/744,241 Game Control Program, Game Device, Game Server, And Game Control Method Sony Corporation; Sony Computer Entertainment Inc. July 8, 2010
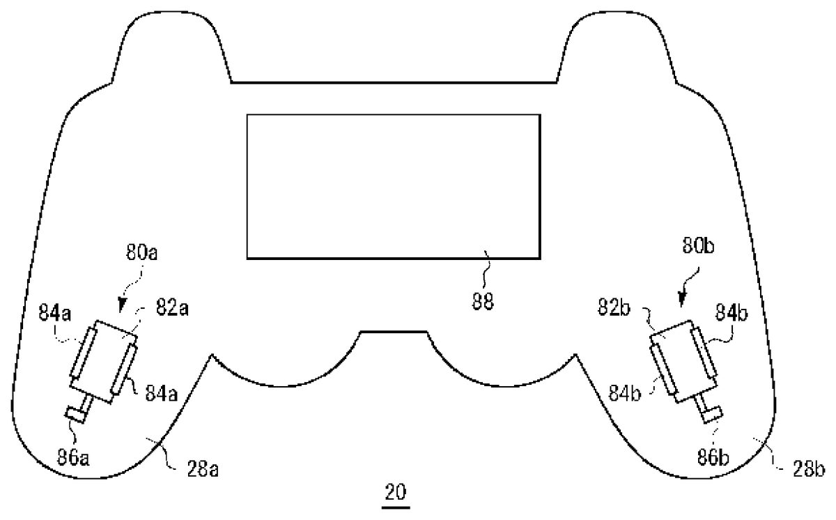
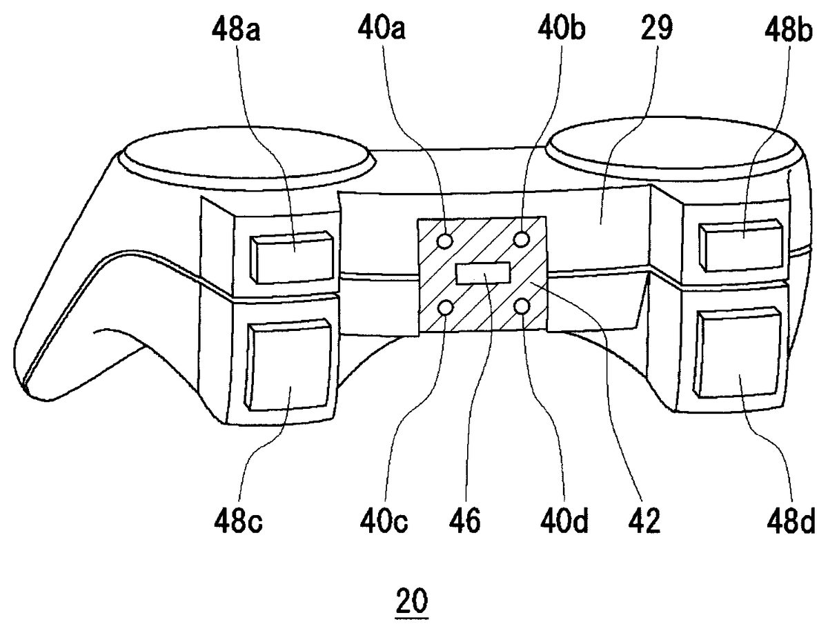
U.S. Pat. No. 8,491,388 U.S. Pat. App. No. 12/270,924 GAME SYSTEM AND GAME CONTROLLER Sony Corporation; Sony Computer Entertainment Inc. November 14, 2008
U.S. Pat. No. 8,187,095 U.S. Pat. App. No. 12/190,228 UNIVERSAL GAME CONSOLE CONTROLLER Sony Corporation; Sony Electronics Inc. August 12, 2008
U.S. Pat. No. 9,174,122 U.S. Pat. App. No. 12/169,856 GAME CONTROLLER SONY CORPORATION; SONY COMPUTER ENTERTAINMENT INC. July 9, 2008
U.S. Pat. No. 7,629,994 U.S. Pat. App. No. 11/776,358 USING QUANTUM NANODOTS IN MOTION PICTURES OR VIDEO GAMES Sony Corporation; Sony Pictures Entertainment Inc. July 11, 2007
U.S. Pat. No. 8,574,078 U.S. Pat. App. No. 11/789,043 Game apparatus, communication apparatus, wireless game controller, and game system Sony Corporation; Sony Computer Entertainment Inc. April 23, 2007
U.S. Pat. No. 8,613,665 U.S. Pat. App. No. 11/683,543 Game Controller Sony Corporation; Sony Computer Entertainment Inc. March 8, 2007

Disclaimer: Data collected from the USPTO and may be malformed, incomplete, and/or otherwise inaccurate.