Results for the query

Showing matches for "A63F2300/302".

34 records found

Figure Patent No. Title Assignee Issue Date
U.S. Pat. No. 8,678,931 U.S. Pat. App. No. 13/744,199 LOCATION-BASED ONLINE GAMES FOR MOBILE DEVICES AND IN-GAME ADVERTISING Unknown assignee January 17, 2013
U.S. Pat. No. 8,858,339 U.S. Pat. App. No. 13/711,502 INTERACTIVE VIDEO GAME SYSTEM COMPRISING TOYS WITH REWRITABLE MEMORIES Activision Publishing, Inc. December 11, 2012
U.S. Pat. No. 9,937,417 U.S. Pat. App. No. 13/648,937 INTERACTIVE VIDEO GAME WITH DIFFERENT SIZED TOYS HAVING DIFFERENT ABILITIES WITHIN THE VIDEO GAME Activision Publishing, Inc. October 10, 2012
U.S. Pat. No. 8,535,153 U.S. Pat. App. No. 12/978,764 Video Game System and Methods of Operating a Video Game Unknown assignee December 27, 2010
U.S. Pat. No. 7,967,728 U.S. Pat. App. No. 12/618,680 WIRELESS GAME CONTROLLER FOR STRENGTH TRAINING AND PHYSIOTHERAPY Unknown assignee November 13, 2009
U.S. Pat. No. 8,162,754 U.S. Pat. App. No. 12/438,821 GAME DEVICE, NOTIFICATION METHOD, NON-TRANSITORY INFORMATION RECORDING MEDIUM AND PROGRAM FOR INFORMING DISPLACEMENT OF GAME CONTROLLER MAT Konami Digital Entertainment Co., Ltd February 25, 2009
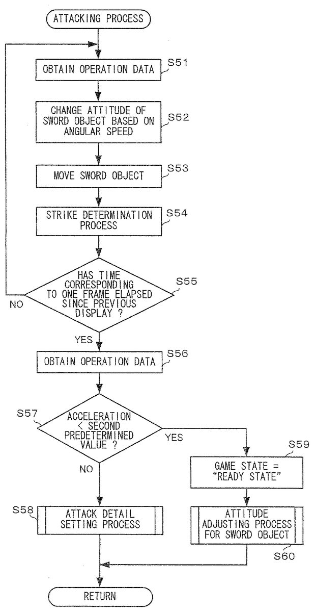
U.S. Pat. No. 8,306,768 U.S. Pat. App. No. 12/388,008 GAME APPARATUS AND COMPUTER-READABLE RECORDING MEDIUM RECORDING GAME PROGRAM FOR CONTROLLING ATTITUDE AND POSITION OF AN OBJECT IN A VIRTUAL SPACE Nintendo Co., Ltd. February 18, 2009
U.S. Pat. No. 9,731,208 U.S. Pat. App. No. 12/351,381 Methods of Playing Video Games Mattel, Inc. January 9, 2009
U.S. Pat. No. 8,298,845 U.S. Pat. App. No. 12/343,017 MOTION PLATFORM VIDEO GAME RACING AND FLIGHT SIMULATOR Unknown assignee December 23, 2008
U.S. Pat. No. 8,075,399 U.S. Pat. App. No. 12/341,339 HANDHELD GAME CONSOLE HAVING ASSEMBLED AND DISASSEMBLED MODES Hon Hai Precision Industry Co., Ltd. December 22, 2008

Disclaimer: Data collected from the USPTO and may be malformed, incomplete, and/or otherwise inaccurate.