Results for the query

Showing matches for "A63F2300/554".

158 records found

Figure Patent No. Title Assignee Issue Date
U.S. Pat. No. 8,419,545 U.S. Pat. App. No. 12/430,096 Method and system for controlling movements of objects in a videogame AiLive, Inc. April 26, 2009
U.S. Pat. No. 8,145,998 U.S. Pat. App. No. 12/406,970 SYSTEM AND METHOD FOR ENABLING USERS TO INTERACT IN A VIRTUAL SPACE Worlds Inc March 19, 2009
U.S. Pat. No. 8,082,501 U.S. Pat. App. No. 12/406,968 SYSTEM AND METHOD FOR ENABLING USERS TO INTERACT IN A VIRTUAL SPACE Worlds com Inc; Worlds Inc March 19, 2009
U.S. Pat. No. 8,425,325 U.S. Pat. App. No. 12/367,181 AUTOMATICALLY GENERATING A BOOK DESCRIBING A USER'S VIDEOGAME PERFORMANCE Apple Inc. February 6, 2009
U.S. Pat. No. 8,187,104 U.S. Pat. App. No. 12/360,070 SYSTEM AND METHOD FOR CREATING, EDITING, AND SHARING VIDEO CONTENT RELATING TO VIDEO GAME EVENTS Sony Online Entertainment LLC January 26, 2009
U.S. Pat. No. 7,945,856 U.S. Pat. App. No. 12/353,218 SYSTEM AND METHOD FOR ENABLING USERS TO INTERACT IN A VIRTUAL SPACE Worlds com Inc; Worlds Inc January 13, 2009
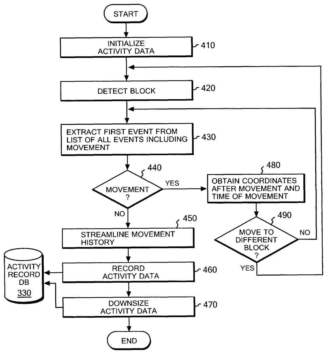
U.S. Pat. No. 8,271,491 U.S. Pat. App. No. 12/328,328 METHODS OF EFFICIENTLY RECORDING AND REPRODUCING ACTIVITY HISTORY IN VIRTUAL WORLD International Business Machines Corporation December 4, 2008
U.S. Pat. No. 9,550,125 U.S. Pat. App. No. 12/251,389 Dynamic and Scalable Topology for Virtual World Environments Roblox Corp October 14, 2008
U.S. Pat. No. 8,180,827 U.S. Pat. App. No. 12/249,333 METHOD AND APPARATUS FOR ASSOCIATING GRAPHIC ICON IN INTERNET VIRTUAL WORLD WITH USER'S EXPERIENCE IN REAL WORLD Samsung Electronics Co Ltd October 10, 2008
U.S. Pat. No. 8,819,565 U.S. Pat. App. No. 12/120,578 DESCRIBING ELEMENTS IN A VIRTUAL WORLD BASED ON CHANGES SINCE A PREVIOUS ENCOUNTER International Business Machines Corp May 14, 2008

Disclaimer: Data collected from the USPTO and may be malformed, incomplete, and/or otherwise inaccurate.