U.S. Patent No. 11,011,142: Information processing system and goggle apparatus

U.S. Patent No. 11,011,142: Information processing system and goggle apparatus

Issued May 18, 2021, to Nintendo Co Ltd
Filed: February 5, 2020 (claiming priority to February 27, 2019)

This Nintendo patent appears to relate to the Nintendo LABO virtual reality goggles kit.

Overview:

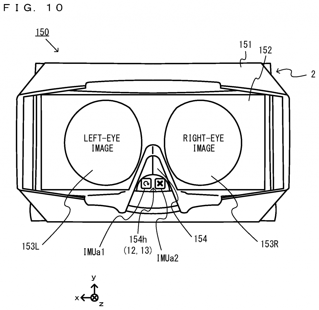
U.S. Patent No. 11,011,142 (the ‘142 patent) relates to a connectable goggle apparatus, which connects with an information processing system having a touchscreen display to create virtual reality (VR) goggles. The ‘142 patent details an attachable and detachable goggle apparatus which uses a first lens configured to cause a left eye of a user to visually confirm a first area of the touch screen, when attached to the information processing apparatus. A second lens does the same for the right eye. There is also an opening portion of the goggle, positioned at the nose of the user, to allow the user to touch a third area of the screen.

To achieve VR, a left eye image is displayed in the first area of the touch screen, a right eye image having parallax with the left eye image is displayed in the second touch screen area. If the third area is touched, the information processing apparatus executes a process. This allows the goggles to be used for VR with the information processing apparatus, the third section allowing a user to exit the VR mode of the display. The ‘142 patent is likely one of several patents relating to an aspect of the Nintendo LABO, particularly the virtual reality goggles one can build with the kit.

 

Abstract:

In a goggle apparatus, an opening portion is formed, and in a state where an information processing apparatus is attached to the goggle apparatus, a touch operation can be performed on a third area different from a first area and a second area of a touch screen. Then, a left-eye image is displayed in the first area of the touch screen, and a right-eye image having parallax with the left-eye image is at least displayed in the second area of the touch screen. If a touch operation is performed on a position in the third area of the touch screen, a process is executed.

 

Illustrative Claim:

  1. An information processing system including an information processing apparatus having a touch screen configured to display an image, and a goggle apparatus to and from which the information processing apparatus is attachable and detachable, the goggle apparatus comprising: a first lens configured to, if the information processing apparatus is attached to the goggle apparatus, cause a left eye of a user wearing the goggle apparatus to visually confirm a first area of the touch screen; a second lens configured to, if the information processing apparatus is attached to the goggle apparatus, cause a right eye of the user wearing the goggle apparatus to visually confirm a second area different from the first area of the touch screen; and an opening portion configured to, in a state where the information processing apparatus is attached to the goggle apparatus, enable the user to perform a touch operation on a third area different from the first area and the second area of the touch screen, wherein the opening portion is formed at a position of a nose of the user in a state where the user wears the goggle apparatus, and the information processing apparatus comprising a computer configured to: display a left-eye image in the first area of the touch screen and at least display a right-eye image having parallax with the left-eye image in the second area of the touch screen; and if a touch operation is performed on a position in the third area of the touch screen, execute a process.