Results for the query

Showing matches for "A63F2300/638".

75 records found

Figure Patent No. Title Assignee Issue Date
U.S. Pat. No. 12,121,803 U.S. Pat. App. No. 18/354,483 DYNAMIC CLIENT BUFFERING USING SERVER AND CLIENT VSYNC SIGNALS OF RECEIVED VIDEO FRAMES FOR CLOUD GAMING Sony Interactive Entertainment Inc. July 18, 2023
U.S. Pat. No. 12,239,913 U.S. Pat. App. No. 18/214,735 PREDICTIVE ANALYSIS OF GAMEPLAY TRAJECTORIES Sony Interactive Entertainment LLC June 27, 2023
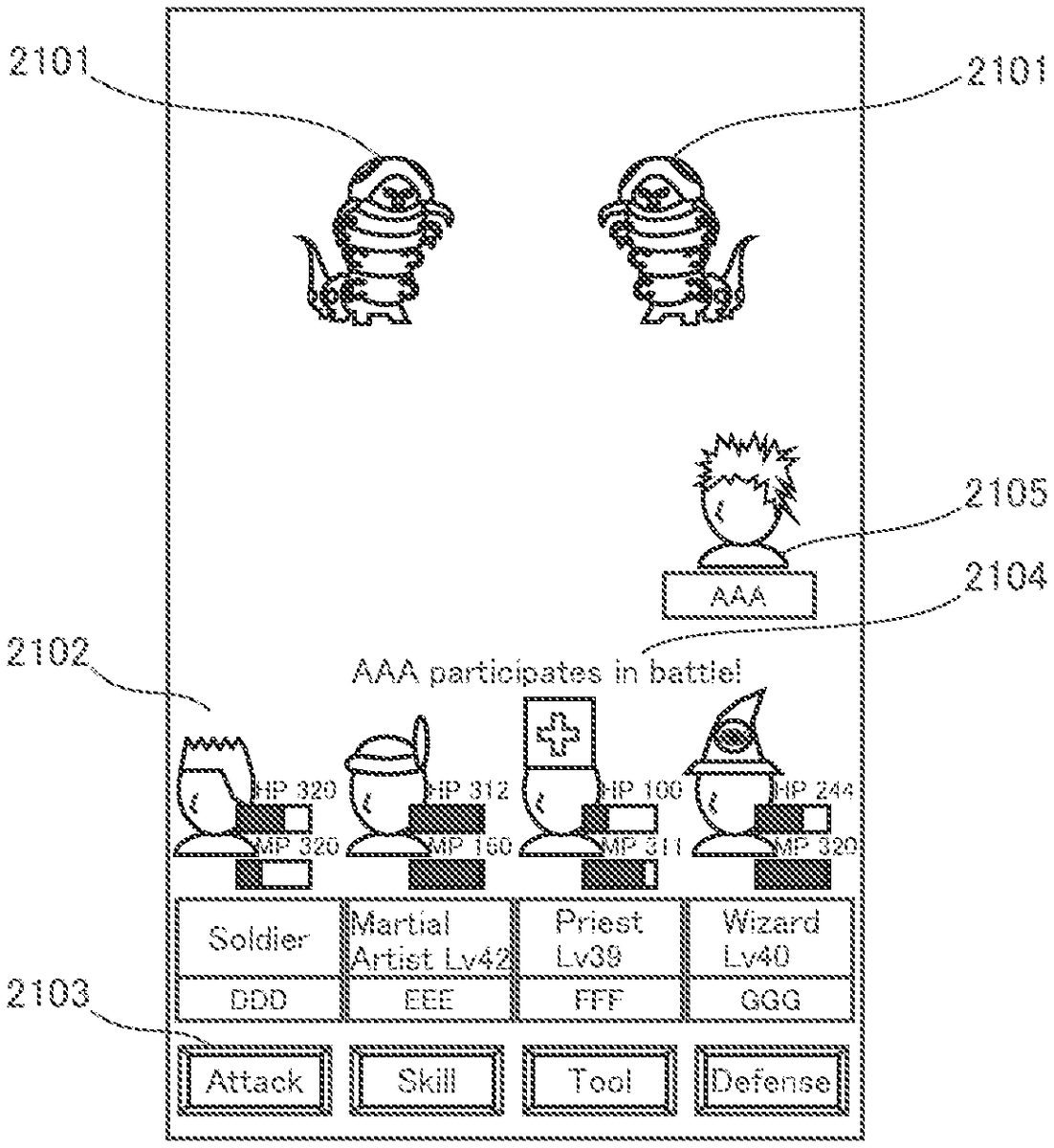
U.S. Pat. No. 12,458,880 U.S. Pat. App. No. 17/975,794 GAME SYSTEM, GAME METHOD, GAME PROGRAM, AND GAME SERVER FOR A PUZZLE GAME THE POKÉMON COMPANY October 28, 2022
U.S. Pat. No. 12,145,065 U.S. Pat. App. No. 17/828,861 COOPERATIVE AND COACHED GAMEPLAY Sony Interactive Entertainment Inc; Sony Interactive Entertainment LLC May 31, 2022
U.S. Pat. No. 11,801,442 U.S. Pat. App. No. 17/590,623 SYNCHRONIZATION AND OFFSET OF VSYNC BETWEEN PEER-TO-PEER GAMING DEVICES Sony Interactive Entertainment Inc February 1, 2022
U.S. Pat. No. 11,701,584 U.S. Pat. App. No. 17/468,512 DYNAMIC CLIENT BUFFERING AND USAGE OF RECEIVED VIDEO FRAMES FOR CLOUD GAMING Sony Interactive Entertainment Inc. September 7, 2021
U.S. Pat. No. 11,724,199 U.S. Pat. App. No. 17/403,269 Parental Controls of Gameplay Sessions Sony Interactive Entertainment LLC August 16, 2021
U.S. Pat. No. 11,826,643 U.S. Pat. App. No. 17/336,282 REDUCING LATENCY IN CLOUD GAMING APPLICATIONS BY OVERLAPPING RECEPTION AND DECODING OF VIDEO FRAMES AND THEIR DISPLAY Sony Interactive Entertainment Inc. June 1, 2021
U.S. Pat. No. 12,102,905 U.S. Pat. App. No. 17/334,173 NON-TRANSITORY COMPUTER-READABLE MEDIUM AND VIDEO GAME PROCESSING SYSTEM SQUARE ENIX CO., LTD. May 28, 2021
U.S. Pat. No. 11,517,817 U.S. Pat. App. No. 17/229,808 SYNCHRONIZATION AND OFFSET OF VSYNC BETWEEN CLOUD GAMING SERVER AND CLIENT Sony Interactive Entertainment Inc. April 13, 2021

Disclaimer: Data collected from the USPTO and may be malformed, incomplete, and/or otherwise inaccurate.