Results for the query

Showing matches for "2120".

16 records found

Figure Patent No. Title Assignee Issue Date
U.S. Design Pat. No. D1,020,896 U.S. Pat. App. No. 29/921,201 Game Console Unknown assignee December 15, 2023
U.S. Pat. No. 12,314,870 U.S. Pat. App. No. 16/021,799 DYNAMICALLY DETERMINING A REGION OF EFFECTIVENESS OF ATHLETES DURING GAME PLAY BASED ON PREDICTIVE FACTORS International Business Machines Corp June 28, 2018
U.S. Pat. No. 9,839,849 U.S. Pat. App. No. 14/312,190 HAND-HELD VIDEO GAME PLATFORM EMULATION Nintendo Co., Ltd. June 23, 2014
U.S. Pat. No. 9,526,994 U.S. Pat. App. No. 13/906,517 Deferred Teleportation or Relocation in Virtual Worlds Kyndryl Inc May 31, 2013
U.S. Pat. No. 10,049,325 U.S. Pat. App. No. 13/561,704 INFORMATION PROCESSING TO PROVIDE ENTERTAINING AGENT FOR A GAME CHARACTER Sony Corporation July 30, 2012
U.S. Pat. No. 9,050,538 U.S. Pat. App. No. 13/438,262 COLLISION DETECTION AND MOTION SIMULATION IN GAME VIRTUAL SPACE Sony Corporation; Sony Corporation Entertainment Inc. April 3, 2012
U.S. Pat. No. 9,268,673 U.S. Pat. App. No. 12/908,731 LOAD TESTING ONLINE GAME SERVER ENVIRONMENT USING WEB-BASED INTERFACE Sony Computer Entertainment America Inc. October 20, 2010
U.S. Pat. No. 8,214,306 U.S. Pat. App. No. 12/329,351 COMPUTER GAME WITH INTUITIVE LEARNING CAPABILITY Intuition Intelligence, Inc. December 5, 2008
U.S. Pat. No. 8,000,947 U.S. Pat. App. No. 12/125,268 PARTICLE-BASED CLOTH SIMULATION USING VERLET INTEGRATION WITH FIXED AND STIFF-SPRING CONSTRAINTS SUPPORTING COLLISION DETECTION AND REACTION WITH PROJECTILES IN SPORTS VIDEO GAMES Electronic Arts Inc. May 22, 2008
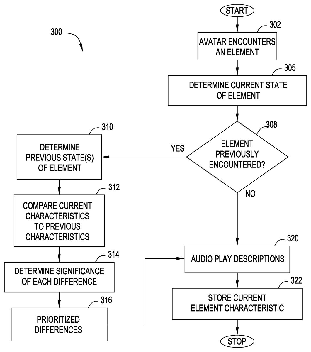
U.S. Pat. No. 8,819,565 U.S. Pat. App. No. 12/120,578 DESCRIBING ELEMENTS IN A VIRTUAL WORLD BASED ON CHANGES SINCE A PREVIOUS ENCOUNTER International Business Machines Corp May 14, 2008

Disclaimer: Data collected from the USPTO and may be malformed, incomplete, and/or otherwise inaccurate.