Results for the query

Showing matches for "A63F13/73".

127 records found

Figure Patent No. Title Assignee Issue Date
U.S. Pat. No. 9,039,533 U.S. Pat. App. No. 14/464,652 WIRELESS INTERACTIVE GAME HAVING BOTH PHYSICAL AND VIRTUAL ELEMENTS Creative Kingdoms, LLC August 20, 2014
U.S. Pat. No. 9,380,049 U.S. Pat. App. No. 14/004,200 Method and System for Authentication-based Multi-user Online Video Game Alcatel Lucent September 10, 2013
U.S. Pat. No. 9,272,206 U.S. Pat. App. No. 13/944,773 SYSTEM AND METHOD FOR PLAYING AN INTERACTIVE GAME MQ Gaming, LLC July 17, 2013
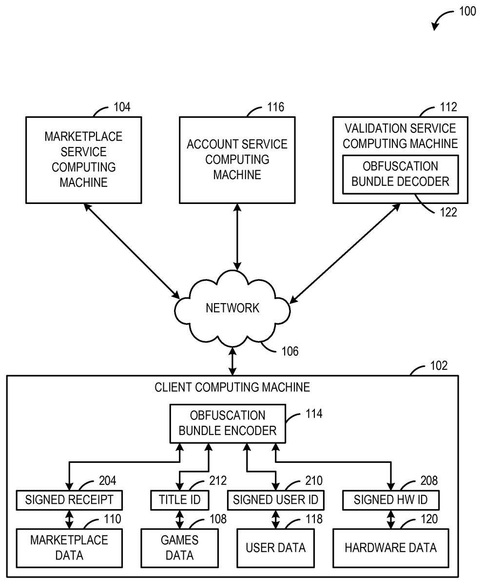
U.S. Pat. No. 9,278,289 U.S. Pat. App. No. 13/853,868 VALIDATION OF USER ENTITLEMENT TO GAME PLAY Microsoft Technology Licensing LLC March 29, 2013
U.S. Pat. No. 9,844,729 U.S. Pat. App. No. 13/844,558 Systems and Methods for Managing Video Game Titles and User Play Metrics for Video Game Titles Executing on a Game Cloud System Sony Interactive Entertainment America LLC March 15, 2013
U.S. Pat. No. 9,242,176 U.S. Pat. App. No. 13/839,486 REMOTE CONTROL OF A FIRST USER'S GAMEPLAY BY A SECOND USER Sony Interactive Entertainment LLC March 15, 2013
U.S. Pat. No. 9,352,226 U.S. Pat. App. No. 13/831,178 AUTOMATIC GENERATION OF SUGGESTED MINI-GAMES FOR CLOUD-GAMING BASED ON RECORDED GAMEPLAY Sony Interactive Entertainment America LLC March 14, 2013
U.S. Pat. No. 8,814,688 U.S. Pat. App. No. 13/801,955 CUSTOMIZABLE TOY FOR PLAYING A WIRELESS INTERACTIVE GAME HAVING BOTH PHYSICAL AND VIRTUAL ELEMENTS MQ Gaming LLC March 13, 2013
U.S. Pat. No. 9,186,587 U.S. Pat. App. No. 13/645,417 Distribution of Electronic Game Elements Individual October 4, 2012
U.S. Pat. No. 9,630,096 U.S. Pat. App. No. 13/632,828 CONTROL OF MOBILE GAME PLAY ON A MOBILE VESSEL Nguyen Gaming LLC October 1, 2012

Disclaimer: Data collected from the USPTO and may be malformed, incomplete, and/or otherwise inaccurate.