Results for the query

Showing matches for "2800".

103 records found

Figure Patent No. Title Assignee Issue Date
U.S. Pat. No. 8,497,659 U.S. Pat. App. No. 12/729,526 VIDEO GAME CONTROLLER CHARGING SYSTEM Nyko Technologies, Inc. March 23, 2010
U.S. Pat. No. 8,198,526 U.S. Pat. App. No. 12/705,308 METHODS AND APPARATUS FOR INPUT DEVICES FOR INSTRUMENTS AND/OR GAME CONTROLLERS 745 LLC February 12, 2010
U.S. Pat. No. 7,722,409 U.S. Pat. App. No. 12/461,487 SECURE AND/OR LOCKABLE CONNECTING ARRANGEMENT FOR VIDEO GAME SYSTEM Unknown assignee August 13, 2009
U.S. Pat. No. 7,893,337 U.S. Pat. App. No. 12/456,082 SYSTEM AND METHOD FOR LEARNING MUSIC IN A COMPUTER GAME Unknown assignee June 10, 2009
U.S. Pat. No. 8,187,097 U.S. Pat. App. No. 12/478,533 MEASUREMENT AND SEGMENT OF PARTICIPANT'S MOTION IN GAME PLAY Individual June 4, 2009
U.S. Pat. No. 8,080,722 U.S. Pat. App. No. 12/474,880 PREVENTING AN UNINTENTIONAL DEPLOY OF A BONUS IN A VIDEO GAME Harmonix Music Systems, Inc. May 29, 2009
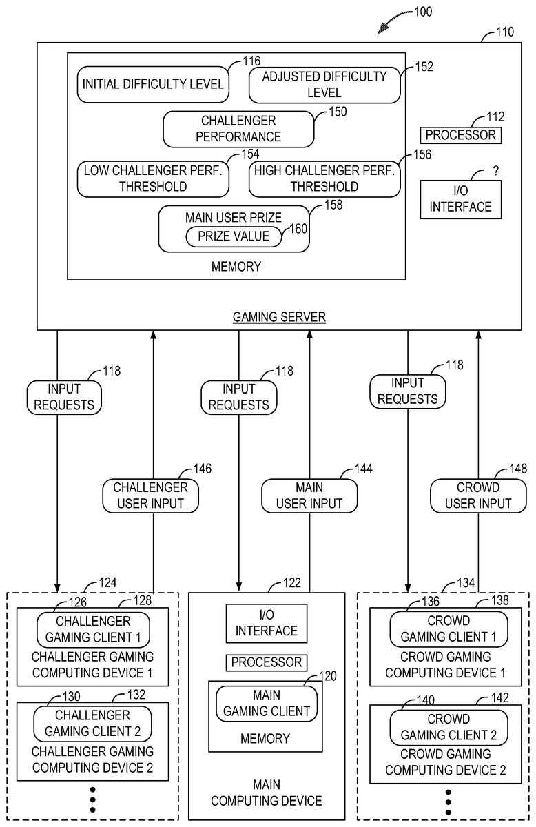
U.S. Pat. No. 8,210,925 U.S. Pat. App. No. 12/472,077 ADJUSTING DIFFICULTY LEVEL OF A MULTIPLAYER GAME Microsoft Technology Licensing LLC May 26, 2009
U.S. Pat. No. 9,215,575 U.S. Pat. App. No. 12/469,217 ENCODING AND DISTRIBUTION OF GAME PLAY THROUGH COMPACT MESSAGE ENCODING AND GRAPHICAL RENDERING Individual May 20, 2009
U.S. Pat. No. 8,834,246 U.S. Pat. App. No. 12/467,128 METHODS AND TECHNIQUES FOR INCORPORATING GAME PLAY IN A TOURNAMENT FORMAT TO DEVELOP THINKING SKILLS Individual May 15, 2009
U.S. Pat. No. 8,602,886 U.S. Pat. App. No. 12/465,948 Method of Gaming, a Game Controller and a Gaming System Aristocrat Technologies Austalia Pty Limited May 14, 2009

Disclaimer: Data collected from the USPTO and may be malformed, incomplete, and/or otherwise inaccurate.