Results for the query

Showing matches for "Microsoft Technology Licensing, LLC".

59 records found

Figure Patent No. Title Assignee Issue Date
U.S. Pat. No. 10,086,267 U.S. Pat. App. No. 15/235,727 PHYSICAL GESTURE INPUT CONFIGURATION FOR INTERACTIVE SOFTWARE AND VIDEO GAMES Microsoft Technology Licensing, LLC August 12, 2016
U.S. Pat. No. 10,258,880 U.S. Pat. App. No. 15/084,198 DYNAMIC SELECTION OF VOICE QUALITY OVER A WIRELESS SYSTEM MICROSOFT TECHNOLOGY LICENSING, LLC March 29, 2016
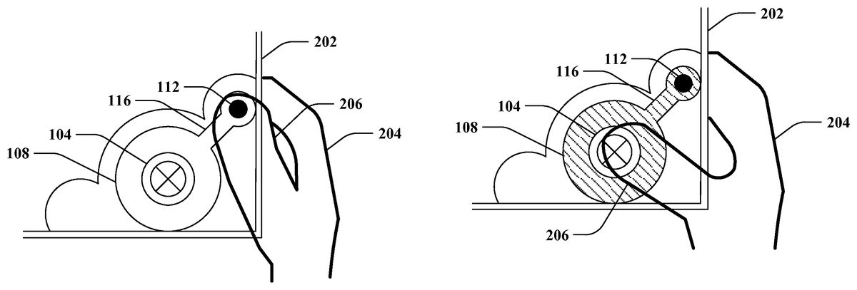
U.S. Pat. No. 10,427,035 U.S. Pat. App. No. 15/078,900 GAME CONTROLLER WITH REMOVABLE TRIGGER ACCESSORY MICROSOFT TECHNOLOGY LICENSING, LLC March 23, 2016
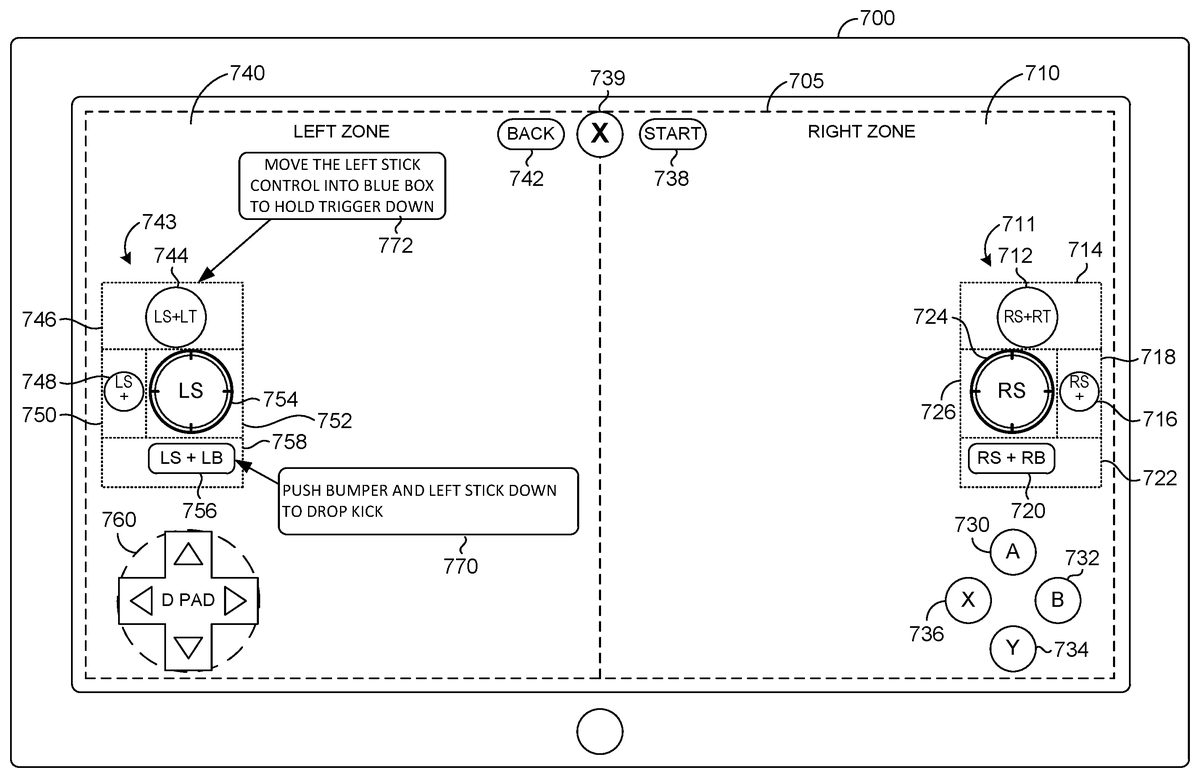
U.S. Pat. No. 10,543,427 U.S. Pat. App. No. 15/005,696 GAME CONTROLLER FUNCTION REMAPPING VIA EXTERNAL ACCESSORY MICROSOFT TECHNOLOGY LICENSING, LLC January 25, 2016
U.S. Pat. No. 9,827,490 U.S. Pat. App. No. 14/959,158 TOUCH SCREEN GAME CONTROLLER Microsoft Technology Licensing, LLC December 4, 2015
U.S. Pat. No. 10,035,063 U.S. Pat. App. No. 14/887,649 GAME CONTROLLER ON MOBILE TOUCH-ENABLED DEVICES MICROSOFT TECHNOLOGY LICENSING, LLC October 20, 2015
U.S. Pat. No. 9,925,457 U.S. Pat. App. No. 14/734,978 USER-REPLACEABLE THUMBSTICK TOP FOR GAME CONTROLLER Microsoft Technology Licensing, LLC June 9, 2015
U.S. Pat. No. 9,764,230 U.S. Pat. App. No. 14/734,941 GAME CONTROLLER WITH USER-REPLACEABLE THUMBSTICK TOP Microsoft Technology Licensing, LLC June 9, 2015
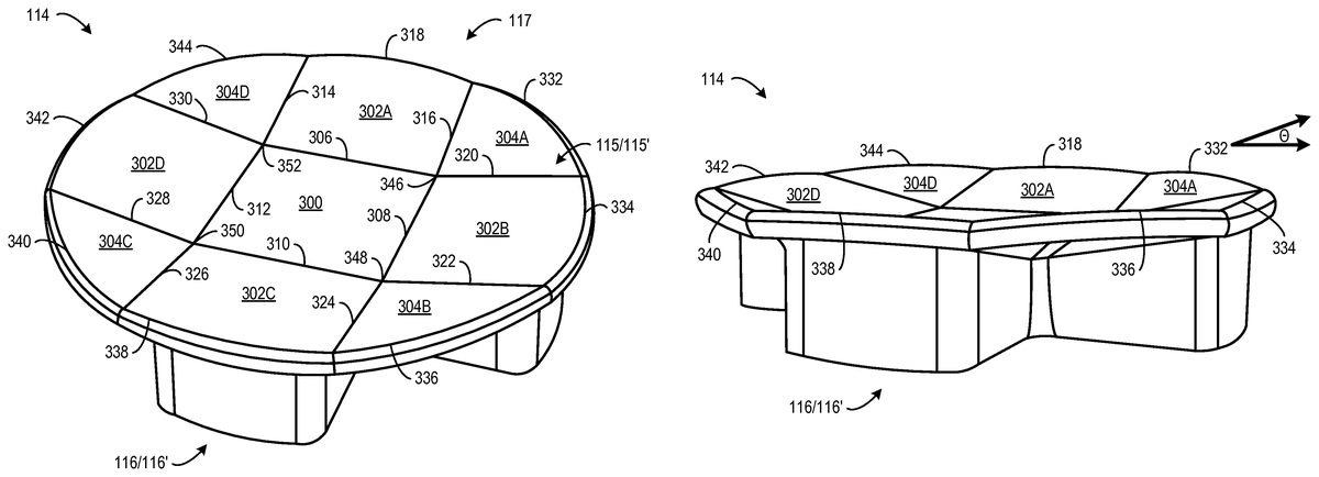
U.S. Pat. No. 10,137,364 U.S. Pat. App. No. 14/734,970 GAME CONTROLLER WITH REMOVABLE MAGNETIC BUTTON MICROSOFT TECHNOLOGY LICENSING, LLC June 9, 2015
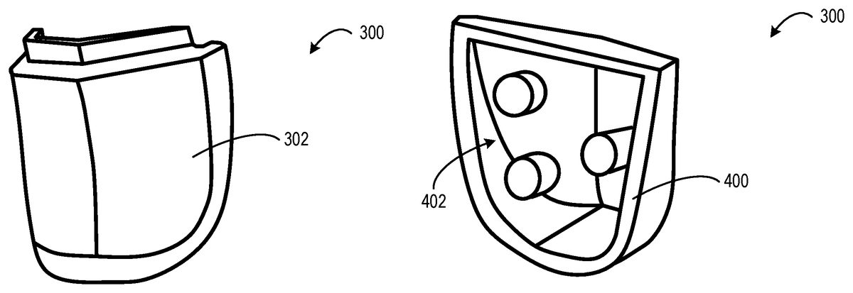
U.S. Pat. No. 9,908,041 U.S. Pat. App. No. 14/730,459 GAME CONTROLLER WITH REMOVABLE FACETED FINGERPAD MICROSOFT TECHNOLOGY LICENSING, LLC June 4, 2015

Disclaimer: Data collected from the USPTO and may be malformed, incomplete, and/or otherwise inaccurate.